新浪财经 基金

建行客户经理鼓动下 37个VIP客户买了5000万假基金

财经自媒体

关注

来源:科技金融在线 

一日多家银行新增数十条被执行人信息,背后竟都与一起虚假基金集资诈骗案有关。

日前,据中国执行信息公开网显示,中国建设银行株洲分行、光大银行长沙分行、中信银行长沙分行等三家银行一天新增数十条被执行人信息,执行案件的立案时间均为2021年5月21日,执行法院都是株洲市天元区人民法院。

究竟发生了什么?三家银行缘何被株洲市天元区人民法院一日内数次强制执行?

编织大网

三家银行同时遭法院强制执行,与一起利用虚假基金产品进行非法集资的诈骗案有关。

事情还要从9年前说起。2012年12月,唐太平联系代办公司,办理注册了一家名叫株洲华泰股权投资基金管理有限公司(下称:华泰基金)的企业,注册资本3000万元。公司登记的经营范围为股权投资基金项目管理活动、投资项目管理活动及咨询服务等。

这家公司的登记股东分别为:持股45%的黄斐(替黄利华持股)、持股30%的何玲(替邱小彪持股)、持股25%的唐凤姣(替唐太平持股)。

黄斐、何玲、唐凤姣三人只是名义上的股东,而三人背后的黄利华、邱小彪、唐太平才是公司真正的幕后控制者。

黄利华任华泰基金董事长,全面负责公司事务;邱小彪任总经理,负责管理公司日常事务,策划、指挥募集华泰基金等重大事务;唐太平则通过参加股东会议决策公司重大事务。

名义上的第一大股东黄斐担任公司法定代表人、会计;名义二股东何玲任副总经理。另外,还有姜敏任董事长助理,杨举任总经理助理。这4人则具体负责华泰基金日常事务,同时兼任基金经理,负责募集基金前期准备工作,与银行、客户联系并推销基金等工作。

之后,董事长黄利华安排助理黄斐等人通过代办公司,又先后注册成立“华泰智源”和“华泰鑫宏”两家公司作为华泰基金吸收投资者出资入伙的平台;注册成立“株洲中元华金”作为接收资金的平台。

一张大网已然织好,就等目标出现......

顾问费、分红、佣金的“诱惑”

2013年,在建行株洲分行原行长戴建军及湘江支行行长王炜等人对华泰基金进行考察后,建行株洲湘江支行便与华泰基金签订了《顾问协议》。

这份协议约定,建行株洲分行下属的湘江支行替华泰基金推介投资者和投资项目,并对投资项目所涉事项进行尽职调查。

当然,建行不可能白干。建行则收取募集资金的1.5%作为顾问费。

同时,协议还约定,如果后期建行向华泰基金推荐项目并协助华泰基金获得股权、期权等投资权益,建行还将获得这类投资权益分红的5%。

二者达成共识后,在建行株洲湘江支行行长王炜的协助下,华泰基金核心成员邱小彪、姜敏、何玲、杨举、黄斐等人,便于2013年5月在建行株洲湘江支行召开了华泰母基金推介会,同时参加会议的还有建行株洲各支行的20余名营销主管。

邱小彪在会上对华泰基金公司及基金产品进行推介,包括基金投资方向、年化收益率等等,并向建行客户经理们承诺,若向客户推荐并成功购买的,客户经理还将得到投资额的1%作为佣金。

会上,邱小彪等人还发放了公司基金产品的各种宣传资料,让建行各营销主管带回各支行向建行客户进行宣传和推荐。

为了达到推荐和宣传效果,2013年8月,华泰基金董事长黄利华还找到建行株洲分行私人银行业务营销部主任付皓,经付皓同意,邱小彪安排姜敏、杨举、何玲、黄斐等人2次在建行财富中心私人银行业务营销部晨会上,向建行客户经理宣传、推介华泰基金,并发放宣传资料。

渠道打通,觉得有利可图后,总经理邱小彪除了利用华泰基金通过建行株洲分行募集资金之外,还私下安排杨举、何玲采取相同方式,以湖南汉红弘新投资管理中心(下称:汉红基金)的名义通过建行株洲分行募集资金。

募集超5000万 37位建行vip客户踩坑

重金之下必有勇夫。

在邱小彪等人利用华泰基金、汉红基金开出不菲的顾问费、佣金、分红的“诱惑”下,建行客户经理们便向建行客户们“卖力”的推荐两家公司的基金产品。

比如,拿建行一位受害客户旷某田的经历来说,其在建行株洲分行下属支行客户经理的推介下,于2014年2月27日在建行株洲分行营业厅与汉红基金公司签署《优先级有限合伙人入伙协议》。

这份协议约定旷某田出资入伙的汉红基金,投资方向是对中国境内的未上市公司进行股权投资(主要为生物医药),对上市公司未公开发行的股票投资,以获得股权分红收益。

据受害客户旷某田的状告诉求显示,建行株洲分行、株洲湘江支行、长江支行、电力支行、田心支行等均在建行开会宣传,发动并组织其工作人员利用营业厅的电子滚动屏、ATM机、官网显示等手段发行、出售华泰、汉红基金。

经法院查明,建行客户经理利用信息查询渠道了解到客户资金状况,轮番打电话或当面向客户宣传、推荐华泰、汉红基金,并承诺产品为保本保12%年化收益、无任何风险。

在自己客户经理轮番推荐下,旷某田便在建行株洲分行办公室与其客户经理签订了购买汉红基金的合同。旷某田最后投入了86万,资金汇入了汉红基金在建行株洲湘江支行的账户。

同时,据旷某田在二审中的辩词显示,跟其有同样遭遇的有37人,均是建行vip客户,建行的客户经理针对性推销这类保本保息的基金,且承诺有建行的担保,因此各投资人购买华泰基金,汉红基金等。整个过程中,投资人没有与基金公司有任何接触,与汉红或华泰所签协议全部由建行株洲分行及各支行客户经理一手办理。

据旷某田透露,华泰基金和汉红基金通过建行株洲分行共募集资金5000多万,其中1600多万元代偿了其在建行株洲分行的贷款。

2015年开始,旷某田等受害客户均没有收到购买华泰、汉红基金的投资收益和本金,客户无数次找建行株洲分行均没有结果。

虚假基金 非法集资多人被捕判刑

2015年6月至9月,华泰基金的核心人员黄利华、唐太平、杨举、何玲、黄斐、姜敏因涉嫌集资诈骗罪被公安机关刑事拘留。2016年7月26日,总经理邱小彪也因涉嫌集资诈骗罪被公安机关刑事拘留。

经法院查明,华泰基金、汉红基金等公司均是未经有关部门依法批准的企业,产品也未经有关部门依法备案。两家公司违反政策规定,未实际确定投资项目,对投资者不经审查,安排杨举、何玲、黄斐、姜敏等人与建行各支行联系。建行株洲分行下属各支行营销主管、客户经理通过电话联系、现场宣传、发放资料等方式向众多建行长期客户推销华泰基金,承诺投资年化收益率12%,保本保息,无任何风险......

华泰基金的核心人物黄利华、唐太平、杨举、何玲、黄斐、姜敏,邱小彪等被法院认定违反国家有关金融管理法规及国家相关政策的规定,以发行基金的名义变相向社会不特定多数人吸收资金,扰乱了国家金融管理秩序,数额巨大,其行为均构成非法吸收公众存款罪。

至此,华泰基金的核心人物均悉数获刑,并责令黄利华、唐太平、杨举、何玲、黄斐、姜敏退赔受害人损失。

其中,黄利华、唐太平对4346.35万元负责,杨举对4311万元负责,何玲对1711万元负责,黄斐对791万元负责,姜敏对620万元负责,责令邱小彪退赔集资参与人的损失约5657.95万元。

值得一提的是,另据法院查明,汉红基金公司吸收资金后,除向基金投资人返还部分投资收益外,被吸收的资金主要被邱小彪用于支付汉红基金前期吸收客户资金,以及邱小彪个人及其公司的开销等。

建行、光大银行被判承担连带责任

在华泰基金、汉红基金的核心人员黄利华、邱小彪等落网后,建行的众多受骗客户才得知华泰、汉红基金系非法虚构基金。

因光大银行长沙分行为汉红基金的基金托管人,判决书中中信银行长沙分行也牵涉案件当中。于是,建行的受害客户们将建行株洲市分行、光大银行长沙分行等一同以被告身份告上法庭,要求承担连带责任。

以受害客户旷某田的状告诉求为例,其要求法院判汉红基金、邱小彪、黄利华等偿还86万投资本金,以及以86万元为本金按年化收益12%的标准向其支付投资收益、利息、违约金等,同时要求建行株洲分行和光大银行长沙分行连带承担偿还投资本金及利息损失的民事责任。

不过,对于自家vip客户的诉讼要求,建行并不认可,同时还甩锅光大银行。

一审中,建行株洲分行辩称:旷某田的损失系黄利华、邱小彪等人的犯罪行为造成,且黄利华等人非法吸收公众存款案中已对损失进行认定,黄利华等共计向法院退赔了776.5万元,本案已构成重复诉讼。

同时,建行株洲分行还称,旷某田最终是与汉红基金签订《入伙协议》,其仅仅是起到了推介的作用,并不知道黄利华、邱小彪等人会通过犯罪行为募集各位客户的资金。建行株洲分行对旷某田遭受的损失没有赔偿义务。

建行株洲分行还强调,该案中,汉红基金与光大银行长沙分行签订基金托管协议,其认为光大银行长沙分行未依法履行审查和监督职责,依法应对旷某田的损失承担连带赔偿责任。

对于建行株洲分行的看法,光大银行长沙分行不以为然。光大银行表示,起初旷某田并未起诉自己,是建行株洲分行追加自己为本案被告。同时称自己在托管过程中无违约行为,不应当承担违约责任。

虽然两家银行均极力为自己辩护,但在一审判决中,法院判:汉红基金公司向旷某田赔偿投资损失75.68万元(如果刑事退赔启动,因刑事退赔获取的赔偿款在上述损失中予以核减);同时,建行株洲市分行对损失承担60%的补充赔偿责任;光大银行长沙分行对损失承担40%的补充赔偿责任。

三家涉案银行合计被执行超4700万

不过,受害人旷某田、建行株洲分行、光大银行长沙分行等均不服一审判决,于是提起上诉。但二审法院判决:驳回上诉,维持原判。

光大银行长沙分行仍对判决不服,于是向湖南省高级人民法院提出再审申请,据法院于2020年6月24日披露的再审裁定结果显示,该案指令湖南省株洲市中级人民法院再审;再审期间,中止原判决的执行。

不过,在今年4月25日,建行株洲分行、光大银行长沙分行两家银行被法院多次列为被执行人;5月21日,两家银行再次被法院多次列为被执行人。

据企查查显示,目前建行株洲分行共有80条被执行人信息,立案时间为5月21日的有40条,立案时间为4月25日-26日的有40条。合计执行标的金额为2431.41万元。

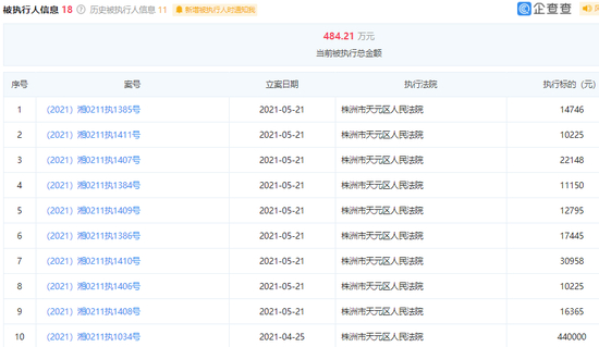
光大银行长沙分行有18条,立案时间为5月21日的有9条,4月25日的有9条。合计执行标的金额为484.21万元。

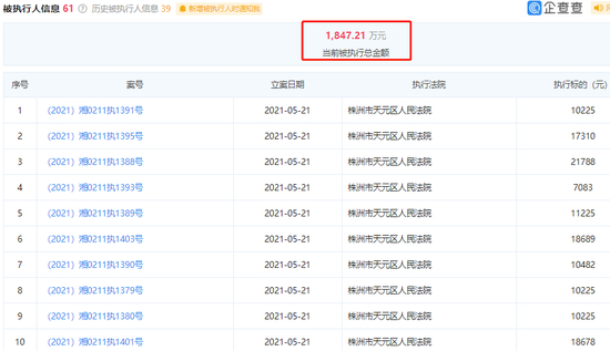
中信银行长沙分行有61条,立案时间为5月21日的有31条,4月25日的有30条。合计执行标的金额为1847.21万元。

三家银行合计被执行总金额达4762.83万元,且执行案件均与华泰基金、汉红基金案件有关。

责任编辑:李兀 SF053

加载中...