新浪财经 基金

创业板注册制第一股定了:股民不重签创业板交易权限 打不了新股

新浪财经综合

关注

深夜重磅!创业板注册制第一股定了,股民不做这件事,打不了新股!

中国基金

创业板注册制一步步走来,20%涨跌幅越来越近!

7月24日晚间,中国证监会同意4只创业板注册制新股IPO注册;7月27日晚间,深交所发布其中2只启动发行,8月4日(下周二)发行申购!

按照发行上市节奏,资深投行人士分析,拟IPO企业最快3周可走完从启动发行到完成上市的流程。也就是说,最快8月中下旬就可以上市,届时创业板就20%涨跌幅了。

根据相关规定,创业板试点注册制下,首只新股上市的首日起,创业板全部“存量股票”的竞价交易将实行新规定。其中,竞价交易将实行20%的价格涨跌幅限制。

根据创业板交易特别规定,创业板注册制下,新上市企业上市前5日不设涨跌幅,之后涨跌幅限制从目前的10%调整为20%。存量公司日涨跌幅同步扩至20%。

深交所公告创业板注册制新股启动发行

创业板注册制推进快速推进!

7月27日晚间,深交所官方微信公号发布,2020年7月27日,北京锋尚世纪文化传媒股份有限公司(简称:锋尚文化)和杨凌美畅新材料股份有限公司(简称:美畅股份)披露招股书,拟于近期在深市发行新股并上市。

首批两只注册制下的新股锋尚文化、美畅股份股票代码分别为300860、300861,最高发行量分别为1802万股和4001万股。因而,锋尚文化和300860也被认为是创业板注册制第一股和第一个代码。核准制下的创业板最后一只新股西域旅游,代码为300859,7月27日刚刚完成发行。

就在上周五晚间,也就是7月24日晚间,证监会刚刚同意包括锋尚文化、美畅股份在内的4只创业板的IPO注册。

“证监会按法定程序同意以下企业创业板首次公开发行股票注册:北京锋尚世纪文化传媒股份有限公司、康泰医学系统(秦皇岛)股份有限公司、杨凌美畅新材料股份有限公司、安徽蓝盾光电子股份有限公司。上述企业及其承销商将分别与深圳证券交易所协商确定发行日程,并陆续刊登招股文件。”

锋尚文化成立于2002年,深耕行业多年,是行业内业务资质较为齐全的企业之一。财务数据显示,2019年北京锋尚实现营业收入9.12亿元,净利润为2.54亿元。

锋尚文化本次募集资金投资项目均围绕现有主营业务开展,将有利于加快引进高端创意设计人才、提升研发和自主创新能力、扩大业务规模和增强持续盈利能力,从而进一步提高公司的市场竞争力。

美畅新材的主要产品为电镀金刚石线,95%以上的产品是用于光伏晶硅片的切割,属于耗材。2018年6月21日,公司在新三板挂牌,证券代码“872859”。公司2015年成立,当年无营收,净利为-54.24万元。2016年——2019年净利润(扣非孰低)分别为0.94亿元、6.73亿元、10.21亿元、3.8亿元。

首先启动发行的两家公司,均采用“最近2年净利润均为正,且累计净利润不低于人民币5000万元。”的上市指标。

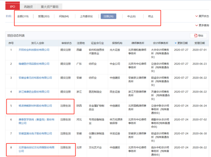
创业板注册制申请IPO新股已达319家

7月27日,又有3家企业申请创业板注册制IPO;上海优宁维生物科技股份有限公司、成都雷电微力科技股份有限公司、江西百胜智能科技股份有限公司3家企业申请创业板注册自豪IPO。

至此,创业板注册制下,申请IPO企业数量已经达到319家,如今2家启动发行,还有2家IPO注册生效等待发行,22家提交注册等同意生效;受理203家、问询84家、中止6家。

有投行人士指出,26家提交注册(含注册生效)的公司,或将成为创业板试点注册制首批上市企业的备选名单之列。

Wind数据显示,截至目前26家已过会企业合计募资202亿元,每家公司平均募资7.77亿元。26家企业中,广东浙江企业数量最多,均为5家;其次为江苏和安徽,各3家。

行业分布方面,26家企业涉及18个行业,其中专用设备制造业企业最多,共计5家;计算机、通信和其他电子设备制造业以及仪器仪表制造业各有3家;医药制造业和纺织业各有2家。

创业板注册制相关技术系统正式上线启用

7月27日,深交所官网发布,注册制相关技术胸痛已正式上线启用。

在中国证监会统一部署下,深交所联合中国结算、中证金融,组织各市场参与主体于近期正式上线创业板改革并试点注册制相关技术系统,并同步启用交易、结算新数据接口。自7月27日起,新技术系统全面支持市场主体开展注册制下创业板股票及存托凭证网上发行、交易结算、融资融券等相关业务需求。

创业板改革涉及上市审核、发行、交易、结算、风险防控、日常监管、退市等多个业务环节,需要改造行业核心机构、证券公司、基金公司、托管银行、行情信息服务商等多方市场主体技术系统,时间紧、任务重,对证券行业信息技术能力是一次重大考验。

在各方共同努力下,7月25日创业板改革并试点注册制技术通关测试及发行业务通关测试顺利完成,技术系统成功上线,标志着全市场相关技术系统投产就绪、发行功能正式启用。

紧急提示:赶紧重签创业板交易权限

不重签将影响注册制改革后创业板交易,不重签将没法参与8月4日的创业板打新。券商的APP上即可完成重签。

由于注册制下创业板交易涨跌幅等有所变化,对于已经开通创业板的投资者,需要重签风险揭示书,而未开通的投资者开通门槛是10万元资产以及2年投资经验。为参与创业板交易,投资者需尽快重签或开通权限。

6月12日创业板改革并试点注册制的主要制度规则的发布。按照深交所管理实施办法要求,存量投资者需重新签署《创业板投资风险揭示书》后才能参与改革后的创业板交易。如果不重签,将不能参与创业板打新、交易和融资融券。

近日,财联社记者对多家券商采访了解创业板老客户补签率情况,截至7月24日,光大证券老客户创业板补签率40%,第一创业证券老客户补签率超30%,申万宏源和申万宏源西部均已提前完成深交所下达的存量重签率40%的目标,上海一大型券商创业板补签率高达40%~50%,北京一家中型券商老客户补签率达到21%。

加载中...