新浪财经 基金

大涨近75%!为什么“通用航空”可能接棒科技牛?

市场资讯 2025.06.03 10:59

来源:范范爱养基

今年科技板块中,最火的2个细分行业要数“人工智能”和“机器人”。

今年Q1期间,“中证人工智能指数”期间最大涨幅高达29.47%;“中证机器人产业指数”期间最大涨幅更是达到了41.16%

这两大科技细分板块的强势涨幅,撑起了今年A股一季度的“科技牛”行情。

进入45月后,明显感觉科技股上涨乏力,我发现一个小众指数有望接棒“科技牛”!

那就是一半国防军工,一半低空经济的“国证通用航空产业指数”下文简称“通用航空指数”

我这么认为的一大契机是:前段时间“印巴冲突”,我国军工板块不是大涨嘛。

然后,在筛选军工相关ETF时,我发现:

通用航空ETF华宝(159231)不仅能跟上“印巴冲突”带来的军工行情,还能在后续行情中跑赢军工类ETF

为什么近期“通用航空”连续上涨?

一是,528日,川普的关税被法院叫停。带来的市场预期是“川普再想要随意大规模加关税,就没有那么容易了”,这对科技成长类资产是非常利好的。

二是,美国对中国特定领域产品的限制又增加了。近期美国商务部给多家美国企业发通知,要求停止出口未获得批准的特定产品给中国。受到影响的有:芯片设计软件(EDA)航空设备、半导体产业所需的特定化学品等。

比如,C919目前搭载的发动机为LEAP-X1C,由美国通用电气GE与赛峰集团合资的CFM国际公司生产。这将会是一个巨大的国产替代空间!

-----------------------

今年Q1期间国证通用航空产业指数最大涨幅19.8%,虽然低于AI和机器人板块,但也体现出了高弹性!

再把时间拉长一些来看,国证通用航空产业指数的涨幅更能体现出引领下一个科技牛的势头

低空经济是在2023年被正式提出并纳入国家战略新兴产业的。

为了更贴合当前最新趋势,我们就从2023年开始算。

通用航空指数”2023以来年化收益率9.56%,显著高于中证军工指数-2.53%国证航天指数-3.30%(数据来源:wind 数据区间:2023.1.1-2025.3.30

尤其是在去年“924行情后的大A触底反弹期,通用航空指数累计上涨74.75%,同样显著跑赢中证军工指数52.79%国证航天指数59.89%(数据来源:wind 数据区间:2024.9.24-2024.11.1

通用航空指数持仓特点?

国证通用航空产业指数,从业务涉及航材及基础设施飞行器制造运营服务及场景应用等通用航空产业相关领域的上市公司,以反映沪深北交易所通用航空产业相关上市公司的证券价格变化情况。成分股一50,覆盖低空经济、军工装备的热门公司。

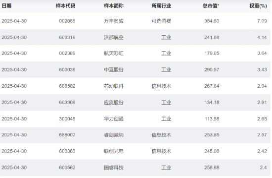
下图为“国证通用航空产业指数”前10大重仓股:

10大重仓股来看,有3个特点:

  1. 个股集中度较低,持仓更均衡分散:10大重仓股占比34%,第一大重仓股占比7%,第二大重仓股就只有4%。个股集中度低的好处是,单一个股如果出现剧烈波动,对整个指数影响有限。
  2. 中小盘风格突出,成长性高:10大重仓股的总市值在100-400亿之间,我也翻看了全部50只持仓个股的总市值,只有2只超过500亿。妥的中小盘风格,具有高弹性高成长性的特点。
  3. 一半低空经济,一半国防军工:以前10大重仓股为例,来看看“通用航空”成分股都涉及哪些业务。

 万丰奥威:在通用航空领域主营“通航飞机+eVTOL2025Q1丰奥威实现净利润2.75亿元,同比增长21%

 洪都航空2025Q1收入同比大增91%主营教练机系列产品的设计、研制、生产、销售、维修及服务保障等。

 航天彩虹主营业务是无人机新材料业务。无人机业务方面,海外成功落实多批次增续订,产品实现交付即作战。

 中直股份国内领先的航空器系统集成整机供应商,有望向低空经济产业延伸。

 芯动联高性能MEMS陀螺仪核心性能指标已达到国际先进水平。2025Q1营业收入同比增长291.77%

 应流股份主要产品是高温合金产品精密铸钢件产品。

 华力创通国内少数同时掌握“卫星通信+卫星导航”关键核心技术的企业。

 睿创微纳:从事非制冷红外热成像MEMS传感技术开发的集成电路芯片企业。

 联创光电:旗下“激光反无人机”出口中东。

 国睿科技:主营雷达装备及相关系统、工业软件及智能制造、智慧轨交三大业务。

从前10大重仓股的主营和今年Q1营收能看出来:

  1. 有的重仓股是完全属于“低空经济”领域。比如“万丰奥威”已经是航空飞机制造领域的国际化企业,近年来通过“双引擎”战略在低空经济领域快速崛起。万丰奥威513日在业绩说明会上表示:已构建了“固定翼+垂直起降飞行器+无人机”多场景产品出行矩阵2025年将全力推进eVTOL部分机型TC取证进程
  2. 有的是老牌国防军工领域的整机制造商,比如洪都航空、中直股份。
  3. 更多重仓股则是可以同时用于“国防军工”与“低空经济”两大领域的飞行器制造,比如“应流股份”的高温合金产品,“华力创通”的卫星导航技术,“睿创微纳”的红外成像技术,无论在军用还是民用领域,都能发挥巨大价值。

所以,我才说,我们可以简单把“国证通用航空产业指数”视为“一半低空经济、一半国防军工”的中小盘成长风格指数。

“低空经济+国防军工”有何优势?

1先来说最近的“国防军工”大热点

就在前段时间的“印巴冲突”中,家喻户晓的一件事——咱们出口巴基斯坦的歼10C用国产PL-15空对空导弹干翻了四代机中的佼佼者法国阵风战斗机。

这件事情的震撼程度不亚于年初我国DeepSeek横空出世。

要知道,以前,大家对西方武器更多是盲目崇拜的,就像之前对美股科技巨头的推崇一样。

DeepSeek出来后,带动的是对我国科技股的“估值重估”。

同理,经过这次印巴冲突,我国的战斗机的地位大幅提升,随着更多国家开始进口我国的军事用品,势必会带动我国整个国防军工板块的“估值重估”

  1. 再来看另一个热门板块“低空经济”

与传统的军工相比,“低空经济”可以说是一个非常新的概念。

202312月才被提出,并在20243月首次被写入全国两会《政府工作报告》。

此后,国家发改委成立低空经济发展司,民航局设立专班,多地出台专项政策,覆盖空域管理、基础设施建设、技术研发等关键领域。

根据中国民航局数据2025年,中国低空经济市场规模预计将达到1.5万亿2035 年有望达3.5万亿元。

“低空经济”发展到哪个阶段了?

从起步到成熟,“低空经济”会经历4个阶段:政策推动→基础设施→运营服务→生态搭建。

业内普遍认为伴随着eVTOL商业化提速,2025年将成为“低空基建年”,释放巨大增量建设需求。

也就是说,今年的低空经济正在经历从“政策推动”到“基础设施”的过度,还在产业生命周期的早期阶段!

大家都知道,投成长板块,投的就是“高预期”。

现在的“低空经济”正处于发展早期,一切都充满预期的时候~

更重要的是,“低空经济”的高预期,是有一定“落地项目”来支撑的。

就在今年2,全球首条eVTOL城跨湾航线成功完成演示飞行——将深圳至珠海的单程地面车程从53小时缩短至仅需20分钟

这对“低空经济”领域来说,是一个非常关键的里程碑,说明这不是泡沫,是完全可以落地商业化的。

“低空经济”产业链中核心的板块是“低空制造”,主要是提供低空飞行载体相关的产业与服务,包含了芯片、复合材料、传感器等核心零部件及相关原材料及电动垂直起降飞行器eVTOL和无人机的整体研制。

大家看看这些关键词,是不是恰好都出现在“通用航空指数”的前10大重仓股的主营业务中。

综上“通用航空指数”一半是万亿规模且还在早期的“低空经济”,一半是像科技股一样将被价值重估的“国防军工”。通用航空ETF华宝(159231)作为追踪该指数的稀缺标的,有望成为科技投资领域的新星,引领投资者共享行业发展红利。

风险提示:通用航空ETF华宝被动跟踪国证通用航空产业指数,该指数基日为2012.6.29,发布日期为2012.12.28,国证通用航空产业指数基日为2012.6.29,发布日期为2012.12.28,该指数近5个完整年度的涨跌幅为:2020年,53.02%;2021年,3.92%;2022年,-26.60%;2023年,0.46%;2024年,21.18%指数成份股构成根据该指数编制规则适时调整,其回测历史业绩预示指数未来表现。本文中指数成份股仅作展示,个股描述不作为任何形式的投资建议,也不代表管理人旗下任何基金的持仓信息和交易动向。基金管理人评估的该基金风险等级为R3-中风险,适宜平衡型(C3)及以上的投资者,适当性匹配意见请以销售机构为准。任何在本文出现的信息(包括但不限于个股、评论、预测、图表、指标、理论、任何形式的表述等)均只作为参考,投资人须对任何自主决定的投资行为负责。另,本文中的任何观点、分析及预测不构成对阅读者任何形式的投资建议,亦不对因使用本文内容所引发的直接或间接损失负任何责任。基金投资有风险,基金的过往业绩并不代表其未来表现,基金管理人管理的其他基金的业绩并不构成基金业绩表现的保证,基金投资须谨慎。

加载中...