新浪财经 消费

奇瑞瑞虎8 PRO被曝大面积高频刹车蜂鸣声 数百位车主维权

中国网

关注
奇瑞瑞虎8 PRO被曝大面积高频刹车蜂鸣声 数百位车主维权

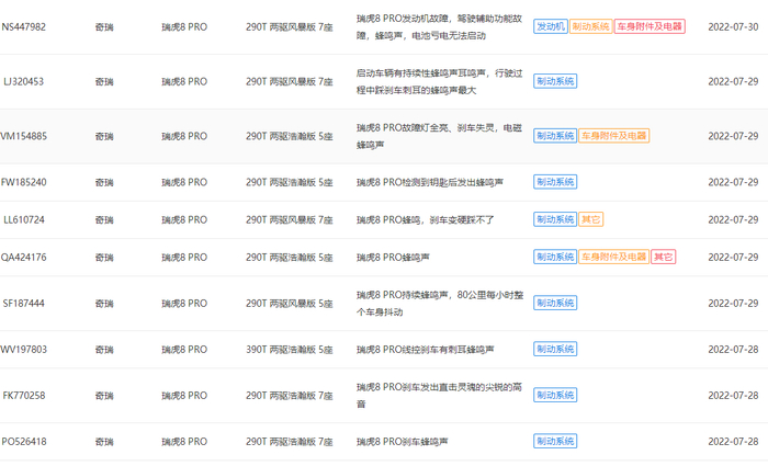
中国网汽车8月22日讯 近日,中国网汽车质量投诉平台收到大量奇瑞瑞虎8 PRO车主投诉称,车辆存在高频刹车蜂鸣声,且为通病问题。为此,有数百名的车主自发组织维权,以此希望推动奇瑞厂家能解决投诉问题。瑞虎8 PRO作为一款今年5月份刚上市的中级SUV车型,有车主表示新车刚买回来就发现刹车有蜂鸣声,饱受困扰。

有位车主向记者描述道,从提车第二天就发现有刹车蜂鸣声,开车时用音乐都不能遮住,最让人生气的是熄火后仍然有高频蜂鸣声,开车时间长了回家后耳朵里都是那种蜂鸣声。去过当地服务店检查,多次投诉售后也都没有结果,后来发现大部分车都有高频蜂鸣声。

另外一位车主高先生也对中国网汽车频道《小马说车》栏目表示,车友群里有200多人都有蜂鸣声,在开车的时候声音很吵,是一个高频的声音,试驾车也都有(蜂鸣声),4S店说买国产车就要有接受这些小毛病的心理准备,只能等厂家给解决方案。记者通过采访后还获悉,车主均将蜂鸣声音问题根源指向了奇瑞的“Onebox线控刹车”。实际上,自从奇瑞在瑞虎8系列车型使用了线控刹车后,就不断有瑞虎系列车主投诉线控刹车存在抖动和异响,直到此次在瑞虎8 PRO全面爆发。据悉,瑞虎系列的Onebox线控刹车系统是由奇瑞自主研发而来,该系统由真空助力泵、主缸、电子真空泵、EPB和ESC等组成,尽管厂家宣称该线控刹车拥有更高的刹车效率,但这套系统似乎到目前看起来并不够完善及成熟。

记者随后也向奇瑞方面反馈了相关投诉问题,官方表示将尽快联系车主邀约进站处理,对车辆进行详细检测并提供具体解决方案,后续也将做好对该车的跟踪服务,为客户提供满意的售后与保障服务。此外,对于车辆出现以上问题的原因,奇瑞也将安排工程技术人员进行详细检测排查,从质量及设计等层面综合验证并定性分析,明确以上问题是偶发性个例还是多发性存在。

与此同时,《小马说车》栏目也在进一步跟进事件的最新动态,奇瑞方面也为部分车主车辆提供了“加装隔音棉”的解决方案,但是车主认为此举属“掩耳盗铃”,并没有真正效果,不解决实质问题。

实际上,不止于瑞虎8 PRO刹车蜂鸣声,其中部分的车主反映车辆遭遇了刹车变硬的安全隐患。有位瑞虎8 PRO车主称,一方面汽车行驶过程中踩刹车会出现蜂鸣声,声音刺耳频率高,其次在行驶中车辆出现过两次刹车突然变硬,需要用力踩刹车两次,介入备用刹车才可以,备用刹车反应慢制动能力差。无独有偶,另一位车主则告诉记者,车辆正常行驶途中突然刹车变硬踩不动,报各种故障码。

根据《家用汽车产品修理、更换、退货责任规定》相关规定:家用汽车产品自销售者开具购车发票之日起60日内或者行驶里程3000公里之内(以先到为准),家用汽车产品出现转向系统失效、制动系统失效、车身开裂或燃油泄漏,消费者选择更换家用汽车产品或退货的,销售者应当负责免费更换或退货。因此,部分车主要求厂家进行退换车,车主们也正在通过各种渠道与奇瑞方面积极沟通、解决相关问题。

加载中...