新浪财经

李铁妻子拒绝退还2.7亿赃款、提出离婚? 李铁被曝胃口颇大、手段颇多!起底其商业版图,坐拥6家公司,均与足球相关

新浪财经头条

关注

来源:反做空研究中心

在周六的亚洲杯首战中,中国男足被塔吉克斯坦逼平,再次引发吐槽。与此同时,国内足坛反腐风暴仍在继续。国足原主教练李铁在央视年度反腐大片《持续发力 纵深推进》的镜头前忏悔后,该事件又有了新动向。

据封面新闻报道称李铁被带走调查后,其妻子龙菲不但不准备退还赃款,还准备和李铁离婚,在美国逍遥自在。

李铁被查掀起中国足坛开始新一轮反腐风暴

李铁,1977年出生于辽宁省沈阳市。球员时代,司职中场的他曾在埃弗顿、谢菲尔德联等英超俱乐部效力。李铁于2001年入选国家队,并随队参加了2002年韩日世界杯。2020年1月,李铁出任中国国家男子足球队主教练,后于2021年底向中国足协提出辞职请求。

2022年11月26日上午,据湖北省纪委监委网站发布消息,中国国家男子足球队原主教练李铁涉嫌严重违法,接受中央纪委国家监委驻国家体育总局纪检监察组和湖北省监委监察调查。他也成为中国国家男子足球队首位被调查的主教练.在他被查后,中国足坛开始新一轮反腐风暴,已有10余人相继落马,其中国家体育总局原副局长、中国足协原党委书记杜兆才,中国足协原主席陈戌源等,均为他担任国足主教练时的直接上级。

2023年8月2日,中国国家男子足球队原主教练李铁涉嫌受贿、行贿、单位行贿、非国家工作人员受贿、对非国家工作人员行贿案,分别由湖北省赤壁市监察委员会、赤壁市公安局调查、侦查终结,移送检察机关审查起诉。

据长安街知事报道,上述五项罪名从侵害的法益类型看,有的属于侵害国家工作人员职务廉洁性的贪污贿赂罪,如受贿罪、行贿罪、单位行贿罪;有的属于妨害公司、企业管理秩序的商业贿赂犯罪,如非国家工作人员受贿罪、对非国家工作人员行贿罪。

被爆敛财胃口颇大、手段颇多

有足球圈人士爆料,李铁敛财的“胃口”颇大、手段颇多。

扬子晚报报道称,李铁在武汉卓尔俱乐部身兼球队主教练、总经理和体育总监数职,据《足球报》报道,李铁2018年和2019年执教武汉队期间,个人年薪是1200万人民币。2019年,李铁竞聘成功成为国家队主教练的同时,继续签约武汉卓尔——5年1.5亿,外加3000万签字费。后续双方产生诸多纠纷,而根据2013年我国足球协会的规定,国字号教练是不允许在俱乐部兼职的。据PP体育报道,本次调查的起点就是武汉卓尔举报李铁。

另外据河南建业原跟队记者郭奋飞2022年11月曾撰文披露李铁2015年往事:当年在李铁率领下,华夏幸福冲超成功。当时的一位华夏队员就曾在饭桌上说过:我们冲超的比赛绝对有猫腻。有一次,李铁站在场边骂裁判,场边的助理裁判扭过脸来对他说:“放心吧,都交代过了。”我们在替补席上坐着的队员都听到了。

据《足球报》报道,李铁和某经纪公司有着密切联系,通过经纪公司来掌控国脚的入选资格,“在一国脚拒绝签约李铁背后的经纪公司后,就再也未能入选国足。”此外,李铁还将触角伸向了违规带货。

在世预赛12强赛战平澳大利亚的赛后新闻发布会上,李铁作了约半个小时的发言,逐一反驳外界的批评。就在就在这番争议言论引爆网络后十来个小时,李铁就更新了自己的社交平台,在配图还植入了服装品牌李宁、饮料品牌健力宝和茶叶品牌雨林古树茶等多个商业品牌。其中的配图中还有2则海报P掉了国足赞助商的logo,放上了国足赞助商竞争品牌的logo,涉嫌侵害国足赞助商权益。

除了上述隐秘的敛财生意,李铁的足球生意经还跟幼儿足球培训相关。

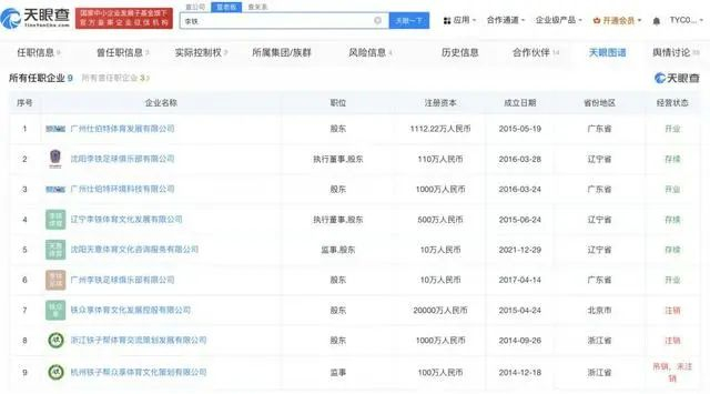
天眼查App显示,李铁共关联9家企业,其中6家为存续状态,除上述公司外,还包括广州仕伯特体育发展有限公司、沈阳李铁足球俱乐部有限公司、辽宁李铁体育文化发展有限公司等,均与体育相关。李铁在上述6家企业中均持有股份,同时在沈阳李铁足球俱乐部有限公司、辽宁李铁体育文化发展有限公司担任执行董事,在沈阳天意体育文化咨询服务有限公司担任监事。

其中,2015年,李铁和前恒大球员郜林、于汉超等人成立广州仕伯特体育发展有限公司,主营幼儿足球教育,这家公司注册资本1112.22万元,参保人数仅7人。

还涉及假球和行贿

除敛财之外,李铁还涉及假球和行贿。

2015年8月李铁加盟河北华夏幸福俱乐部,担任主教练。当时赛季已经只剩9场比赛,华夏幸福仅排名第6位,冲超前景并不乐观。李铁上任后,赛季最后八场打出了一波神奇的“八连胜”,使得华夏幸福最终以一分优势领先竞争对手,冲超成功。

而所谓“冲超奇迹”,完全是金钱之手在背后操弄。俱乐部直白地向李铁提出,希望他动用人脉收买对手。在该赛季最后一场,李铁授意助教郑斌,联系上深圳宇恒主力后卫黎斐。黎斐开价600万元,表示会帮他们“打点”多名关键球员,实际却是独吞了这笔钱。

2017年李铁被聘为武汉卓尔俱乐部主教练,开始主动向俱乐部推销假球。2018年10月6日,武汉卓尔提前三轮冲超成功。2019年8月,李铁得知中国足协要组建男足国家选拔队参加东亚杯,盯上了国家队主教练一职,游说卓尔俱乐部拿出200万帮其向陈戌源行贿,又自掏腰包向时任足协秘书长刘奕行贿100万。

最终,李铁在央视的镜头前忏悔“我是非常后悔的。还是要踏踏实实的,也要走正路,不要急功近利,不要想尽一切办法去走捷径。”

特别声明:以上内容仅代表作者本人的观点或立场,不代表新浪财经头条的观点或立场。如因作品内容、版权或其他问题需要与新浪财经头条联系的,请于上述内容发布后的30天内进行。

加载中...