新浪财经

800家直营门店的花生好车,一路霸王条款一路巧取豪夺

新浪财经头条

关注

来源:中访网财观

近日,花生好车官方微信公众号发布消息称,10月28日,花生好车集团投资的哪吒汽车兰州领航未来体验中心盛大开业,为兰州本地市民带来全新的智能电动汽车体验。这是继零跑汽车、小鹏汽车之后,集团投资的又一家新能源汽车品牌,标志着花生好车在新能源汽车领域的持续扩张与深耕。

开甲财经注意到,与花生好车达成战略合作的3家新能源车企中,小鹏汽车旗下有小鹏融资租赁,小鹏汽车官网披露,低于15%首付产品由小鹏融资租赁提供。哪吒汽车旗下有众鑫融资租赁,众新金融微信小程序显示,0首付购车适用哪吒全系车型。与小鹏汽车、哪吒汽车相比,零跑汽车暂无融资租赁牌照,也未发现零跑汽车披露自营金融方案。

为何新能源车企纷纷与花生好车合作?与花生好车开展的0首付购车方案相比,可能花生好车全国超800家直营门店,才是新能源车企看重的渠道优势。

公开资料显示,花生好车成立于2015年6月,致力于打造下沉市场汽车出行解决方案第一品牌。花生好车经营主体为捷众普惠国际融资租赁有限公司(简称“捷众租赁”),法定代表人陈鹏云,股东为HUASHENGHAOCHE HK LIMITED(中国香港)、中西互通(北京)投资基金管理有限公司,持股比例分别为85%、15%。

陈鹏云的公开身份为花生好车联合创始人,而花生好车的创始人、CEO为马晓军。

据媒体此前报道,陈鹏云在创立花生好车之前,曾在2014年创立互联网金融平台“财客钱包”——北京财客金融信息服务有限公司。公开资料显示,财客钱包最早为捷越联合旗下理财平台,直到2017年11月之后才被中稻集团收购,而陈鹏云也是在这个时候退出财客钱包的股东名录。

值得注意的是,财客钱包只是捷越联合(北京捷越联合信息咨询有限公司)旗下最小的理财平台,另外2家平台分别为向上金服(北京证大向上金融信息服务有限公司)、向前金服(北京捷越联合金融信息服务有限公司)。

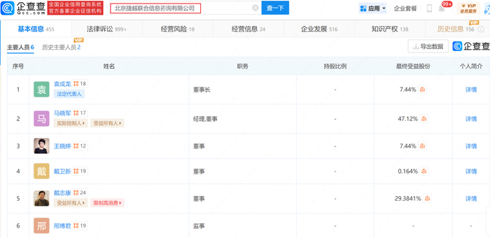
工商资料显示,捷越联合、向上金服的法定代表人为袁成龙,而向前金服的法定代表人为邢博君。企查查数据显示,捷越联合的实控人为马晓军,表决权62%,受益股份47.12%,担任职务为经理、董事。

花生好车官网披露:线下直营门店超800家,覆盖全国600余座城市,设有25个中心仓库。产品类型分为四大类:直租(低首付+灵活月租),批售(为下沉二网提供批售业务),新能源汽车零售(开设零跑汽车体验店),售后回租(个人户车贷产品)

企查查数据显示,捷众租赁(花生好车)共有67家分支机构,其中52家存续/在业,15家已注销。捷众租赁还控制147家企业,其中125家存续/在业,22家已注销。

花生好车官网披露的发展历程显示,2023年3月,花生好车零跑汽车体验店三店齐开,新能源赛道提速布局。

与花生好车达成战略合作的同时,零跑汽车还与多家金融机构合作,开展金融贴息促销活动。

2023年3月31日24:00前锁单且2023年5月31日前提车的用户,零跑C11增程、23款C11/C01最高8000元金融补贴。其中,平安银行/易鑫租赁最高8000元/台,中国银行7500元/台。23款T03至高3000元/台金融补贴。其中,平安银行/易鑫租赁最高3000元/台,中国银行2500元/台。

开甲财经注意到,比亚迪汽车官网显示,比亚迪“秦PLUS EV 2023冠军版/510KM 领先型”厂商指导价13.98万元,首付15%(20970元),贷款金额118830元,分48期,每月还款2813元。据此计算,比亚迪金融方案综合年利率为6.41%,根据页面披露,该金融方案由比亚迪汽车金融提供。

而在花生好车APP,比亚迪“秦PLUS EV 2021款510KM 出行版”厂商指导价17.98万元,首付20%(35960元),融租金额143840元,分48期,每月租金3428元。据此计算,花生好车金融方案综合年化费率为6.75%(注:以上金融方案未考虑花生好车优惠活动,以及旧款车型的优惠政策)。

对比发现,花生好车综合年费率与比亚迪汽车金融基本持平。

花生好车APP显示,零跑汽车“C11 2023款 纯电 500智行版”厂商指导价20.98万元,免服务费方案首付20%(41960元),月租3571元,分48期,综合年化费率为1.03%;免服务费方案首付10%(21900元),月租4119元,分48期,综合年化费率为2.52%。

花生好车的“购车”金融方案真的更加优惠吗?真相可能让你怀疑人生。

今年7月5日,中国裁判文书网发布的《捷众普惠国际融资租赁有限公司与罗成融资租赁合同纠纷一审民事判决书》显示:

法院经审理认定事实如下:2020年1月16日,捷众租赁作为甲方、案外人重庆捷腾汽车租赁有限公司永川分公司作为乙方,罗成作为丙方签订《融资租赁合同》约定:甲方从乙方购入租赁物并出租给丙方使用,丙方同意承租并按合同向甲方支付租金。

租赁车辆为起亚K32016款1.6L自动GL天窗版-加装大屏5座;车辆指导价109800元,保证金2000元,首付款3470元,租期36期,月还租金为2963元;丙方每逾期1天,甲方按当月租金的3‰收取罚金,如丙方不履行合同,甲方有权收回租赁物,并按剩余全部租金的15%向丙方收取解约违约金。

罗成仅向原告支付租金至2020年6月15日,此后未再按约定向原告支付租金,捷众租赁自述于2020年10月21日将案涉车辆收回。自2020年7月15日至2020年10月21日,被告欠原告租金10733.23元。法院一审判决,被告罗成向原告捷众租赁支付租金10733.23元,支付违约金2500元,驳回捷众租赁的其他诉讼请求。

按照合同约定,每日按当月租金的3‰收取罚金,罚金年利率高达109.5%。不履行合同在收回租赁车辆的同时,按剩余全部租金的15%收取违约金。根据裁判文书,罗成一共支付了6个月的租金,剩余全部租金为2963元×30期×15%=13333.50元(花生好车计算为12522.45元)。

从判决结果来看,显然一审法院并不支持花生好车的“霸王条款”,逾期罚金一分未获得支持,解约违约金也只支持请求的20%。

开甲财经注意到,在黑猫平台搜索“花生好车”显示,近30天有77件投诉,累计投诉量2341件。有人反映下单两个月提不到车,有人表示逾期3天,没有通知直接收车。

7月10日,有网友在黑猫平台发帖反映,其2022年6月1日在花生好车订购一辆荣威i6互联版,当时交了首付5000元,签订合同后每月付2745元,共48期。本人还了13期后无力付款,联系门店退还车辆,之后门店给本人发了终止合同通知书,又发了一个违约通知书显示,要向花生好车付款19532元。

今年2月8日,《华商报》旗下@安康二三里资讯报道,2022年10月31日,张先生来到花生好车门店交了1万元定金(首付款),业务员承诺7-15个工作日提车。之后,张先生致电花生好车客服,被告知其要提的车辆手续还未办全,张先生表示办不了就退款,当时就感觉上当受骗了,1万元只退了5000元,现在就是把责任一直推来推去。

截至发稿前,由国家市场监督管理总局主办的全国12315平台上线时间只有14天时间,但目前在该平台搜索“花生好车”已有10条投诉记录。(注:全国12315平台于2023 年 10 月20 日正式上线)

内容来源: 开甲财经

特别声明:以上内容仅代表作者本人的观点或立场,不代表新浪财经头条的观点或立场。如因作品内容、版权或其他问题需要与新浪财经头条联系的,请于上述内容发布后的30天内进行。

加载中...