新浪财经

年初打折销售,年中被爆业绩不好,贵州安酒到底怎么了?

酒业内参

关注

来源:懂酒谛

安酒,算得上是贵州白酒业内的一个老品牌,号称“贵州老八大名酒之一”,在安酒人的宣传中更是以“贵州两大历史名酒”自居。

在一些自媒体营销号上,贵州安酒经常被拉去当枪使,用作营销其他贵州酒的陪衬,这些营销号往往以贵州有三款“可惜的酒”“悲催的酒”来吸引眼球,随后便会列出三款“因生不逢时被当成劣质酒,但却是贵州人民心目中的好酒”的白酒品牌,其中安酒都会被排在其中的第一位,明眼人一看便知,这其实是一种借势营销。

在这些营销号的推文中,他们给安酒的定义往往是:国内第一家上市酒企,但因被不良商家仿冒,被当成了劣质酒。

贵州安酒两年前聘请影视明星姜文作为代言人,同时安酒携手姜文的广告登录央视、卫视,占领高铁站以及核心城市商圈户外大屏,植入开年热播大剧,攻陷微信朋友圈,借助知名代言人的声量,以广告轰炸方式营造了一起轰动酱酒行业的“大事件”。

以姜文代言为契机,贵州安酒希望能够借此实现品牌战略全面升级,在提升品牌影响力的同时,提速安酒市场全国化布局。为了营造贵州安酒的良好品牌人设,“贵州安酒,这酒讲究”被选定为贵州安酒在“姜时代”的slogan。

理想很丰满,但现实往往很骨感。安酒聘请姜文做代言之后,虽然在知名度上确实赢了,但是在借助姜文的影响力和广告效应,以达成促进安酒的市场销量这一效果上,却并未带来实际成效。

到今年7月份,姜文代言合约期满,贵州安酒决定继续聘任姜文为安酒代言人,并于7月28日举行了新阶段代言签约仪式,联美集团董事长、贵州安酒集团董事长苏壮强出席,与姜文再次签约。

姜文作为圈内的知名导演、演员和编剧,被网友评价为“从来不拍烂片的导演”,是一位难得拥有好口碑的艺术家。贵州安酒选中姜文做品牌形象代言人,或许正是看中了他不拍烂片、才华与人品兼具的“讲究人设”,所以也才有了“这酒讲究”的产品设定和品牌宣传定位。

关于2023年的贵州安酒,或许可以用“流年不利”来形容,尽管与姜文再度携手也算是压力重重下的一个好消息,但这并不能掩盖贵州安酒在2023年频频遭遇负面舆情的尴尬。

2023年1月底,正是中国传统农历春节期间,在此之前,中国白酒市场刚刚经历了一年中最重要的旺季销期——元旦和春节覆盖下的“双节营销”。但是,在春节前的这个旺季销期中,贵州安酒的数据看起来却并不光鲜,根据《成都商报》官方账号红星新闻的报道,称“姜文代言的贵州安酒4折卖,销售人员称降价清库存,电商平台销量个位数”,而在这则报道出笼不久,白酒圈便掀起了一股涨价潮,你说这种情况对于曾经霸屏全国数百个高铁站广告牌的贵州安酒来说,还能绷得住那张尴尬的脸不?

根据报道内容,当时贵州安酒500毫升的臻藏售价为315元/瓶,500毫升的经典售价480元/瓶,几乎是两款产品指导价的4折左右。针对这一问题,安酒厂家的销售人员透露说“这个价格是经销商的打款价”,至于实际销售价格相比指导价差距这么大的原因,该销售人员称,2023年底安酒产品将迎来升级,目前降价主要是为了清库存。

让贵州安酒尴尬的,还不止别人涨价他降价。2023年6月24日,喜欢揭丑中国白酒的自媒体账号“金叫唤来了”以一篇题为《一则爆料,可能掀开了贵州安酒的“遮羞布”》的文章,揭开了贵州安酒从未对外公开销售情况这块“遮羞布”下“酒卖不出去、业绩不好、人员动荡”的事实。

在文章中,金叫唤这样写道:近日有人向蓝鲸财经爆料,称安酒卖不出去,业绩不好,种种阐述似乎掀开了贵州安酒的“遮羞布”。据爆料者讲述,贵州安酒2022年销售不足2亿元!与此同时,低迷的业绩致使人心动荡,高管相继跳槽,销售人员大批离职。

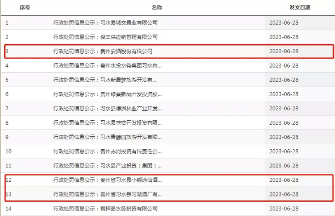
无独有偶,似乎是为了印证金叫唤上面文章的内容,2023年6月28日,贵州省统计局连续发布了多则行政处罚公示信息,其中涉及的酒企信息有三家:贵州安酒、小糊涂仙酒业、习湖酒厂。这三家酒企遭受处罚的原因,都是因为“提供不真实的统计资料”,贵州安酒遭受处罚的罚款金额虽然只有区区12万元,但这种处罚,却颇具“惩罚性不强,侮辱性极大”的意味。

据悉,本次遭受处罚,是因为针对“习水2万吨酱香型白酒扩产项目”在填报《固定资产投资项目情况》(206表)时,贵州安酒2021年12月和2023年3月连续两次虚报“本年完成投资”指标数据,一次是将3.9亿多元已完成投资虚报为8.76亿元,另一次则是将3000多万元已完成投资虚报为1.85亿元。

无论安酒出于什么目的虚报统计数据,这种行为都算不上是“讲究”做派,这更是违反《中华人民共和国统计法》的违法行为,一个是公然违法,一个是为人不诚实、为企不诚信,都会令“贵州安酒,这酒讲究”的品牌人设塌方和沦陷。

特别声明:以上内容仅代表作者本人的观点或立场,不代表新浪财经头条的观点或立场。如因作品内容、版权或其他问题需要与新浪财经头条联系的,请于上述内容发布后的30天内进行。

责任编辑:梁斌 SF055

加载中...