新浪财经 宏观经济

汪小菲大S宣布离婚,上亿资产将如何分割?

红星资本局

关注

11月22日,汪小菲与大S(徐熙媛)共同发布离婚声明,正式宣布离婚。据悉,双方将针对大S名下6亿余元豪宅、汪小菲名下S hotel等3.5亿元资产的财产分配,以及子女日后相处模式等进行调解。

红星资本局注意到,二人离婚传言坐实背后,更多的则是汪小菲及母亲张兰的事业坎坷。

汪小菲 图据视觉中国

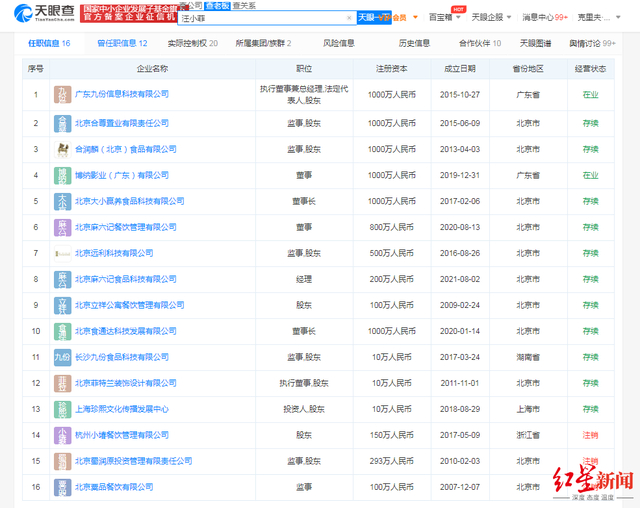
汪小菲名下关联16家公司

曾注册多个大S相关商标

天眼查APP显示,汪小菲名下共有16家关联公司,包括合润麟(北京)食品有限公司、北京合尊置业有限责任公司、北京麻六记餐饮管理有限公司等。

其中,合润麟(北京)食品有限公司为“合润麟私家茶”关联公司。该公司成立于2013年4月,注册资本1000万元人民币。股东信息显示,汪小菲持股92%为大股东及疑似实际控制人。公司成立不久,其茶饮品牌曾宣布大S为代言人。

该公司还曾申请注册“S茶”、“茶 S”商标,国际分类为啤酒饮料、方便食品。不过,其当前状态显示为商标无效。

此外,红星资本局翻阅汪小菲个人微博发现,2016年5月,汪小菲曾在微博表示,以大S名字命名的酒店S hotel即将开业。在该条微博中,汪小菲还提到菲律宾starck酒店、三亚亚龙湾项目等。

汪小菲母亲与王思聪骂战多年

对赌失败俏江南控制权旁落

据此前多家媒体报道,2011年,王思聪曾炮轰汪小菲母亲所言“大S婚礼饭店为万达赞助”为谎言,随后双方骂战不断。

值得一提的是,张兰除了是汪小菲的母亲,还有一个更为知名的身份——知名川菜连锁饭店俏江南前董事长。

俏江南餐厅 图据视觉中国

俏江南成立之初,定位高端精品川菜。随着不断扩张,张兰引进鼎晖投资注入约2亿元的资金,并签下对赌协议,谋求上市后能在资本市场瓜分更大的蛋糕。

据悉,鼎晖投资投入资金后占有俏江南10.526%的股份,但俏江南必须在规定的4年(即2012年年底)之内完成上市,否则张兰就需要赎回自己的股份。

但数次寻求在A股、H股上市失败之后,张兰“被迫”引入投资机构CVC Capital Partners(以下简称“CVC”)。彼时,CVC收购了俏江南82.7%的股份,里面包括之前鼎晖投资的10.526%的股份,而张兰手里只剩下13.8%的股份。在CVC进入俏江南后,包括张兰在内的董事会成员全部退出。

2015年,香港法院要求冻结俏江南集团创始人张兰的资产,理由是CVC称,2013年支付给俏江南入股用的大笔资金去向不明。

后来张兰曾解释称CVC实际上是“空手套白狼”。张兰表示,CVC当初收购时,就出了9000万元人民币不到,剩下的十几亿都是从银行贷的款。而贷款的质押物,就是俏江南的股权,而且,不光是自己(指CVC)的那82.7%,还有张兰手里的13.8%也被偷偷地质押了进去。

最终,张兰还是被俏江南“扫地出门”。自那时起,俏江南也走向了下坡路。

沉寂多年今年重回大众视野

在抖音开启直播带货,创立新川菜品牌

今年以来,沉寂多年的张兰开始重新活跃在大众的视野中,曾多次直播带货。

6月29日晚,张兰在抖音上开启的直播中,谈到自己最新的创业项目食通达。张兰表示,食通达主要聚焦餐饮供应链。具体来说,张兰希望通过供应链把工厂端的资源整合起来,通过S2B2C(集合供货商赋能于渠道商并共同服务于顾客的电子商务营销模式)这种商业模式来赋能餐饮企业,真正帮助他们研发出一些爆款。

而在食通达之前,张兰已在2020年2月组建一支专注餐饮领域投资的项目基金——“易基金”。

张兰曾透露,易基金第一期规模预计将在5亿-10亿元,将分批落实。在LP(有限合伙人)结构方面,主要由高净值人群组成,包括汪小菲、大S都会出资。除此之外,LP中还包括产业、供应链出资人及家族办公室。

此外,天眼查APP显示,目前汪小菲出任北京食通达科技发展有限公司董事长,并持有公司63%的股份。

该公司旗下控股的北京粤洱堂餐饮管理有限公司和北京麻六记餐饮管理有限公司,正是张兰和汪小菲复出餐饮行业的项目。据悉,麻六记是由俏江南团队创立的新川菜品牌。

红星新闻记者 俞瑶 邓凌瑶

责编 任志江 编辑 杨程

加载中...