“俏江南”之外汪小菲的两岸创业之路 部分与大S相关
新浪财经综合
原标题:“俏江南”之外汪小菲的两岸创业之路,部分与大S相关
来源:金融界
据台媒,大S向媒体证实与汪小菲婚变,目前两人正在办离婚手续,并表示对于汪小菲的言行她不予置评。
天眼查APP显示,汪小菲名下有十余家关联公司,包括合润麟(北京)食品有限公司、北京合尊置业有限责任公司、北京麻六记餐饮管理有限公司等。
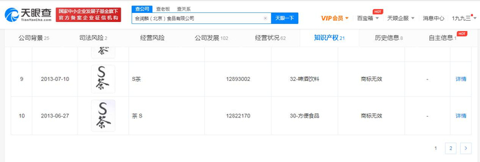
其中,合润麟(北京)食品有限公司为“合润麟私家茶平衡七味”关联公司,而大S为该产品代言人。合润麟(北京)食品有限公司成立于2013年4月,法定代表人为汪玺,注册资本1000万人民币。股东信息显示,汪小菲为大股东及疑似实际控制人,持股比例92%。值得一提的是,该公司曾于2013年申请注册“S茶”“茶 S”商标,当前商标状态显示无效。
2016年,汪小菲曾在微博表示,以大S名字命名的酒店S Hotel即将开业。
天眼查知识产权信息显示,北京合尊置业有限责任公司申请注册了多个“S HOTEL”、“徐徐酒店”商标。该公司成立于2015年6月,法定代表人为汪玺,注册资本1000万人民币,经营范围含房地产开发;物业管理;出租商业用房、办公用房;酒店管理等。该公司由汪小菲和汪玺共同持股,持股比例分别为40%、60%。
6月5日,汪小菲微博称“这是我隔离三次回大陆的景象,内需一切繁荣,我们已经开业签约了10家店。而我的家人在台北根本打不到疫苗。太无耻,太低级了。这就是对比,这就是差距。我们现在公司欣欣向荣,而台湾一片惨淡。在台北的酒店同事们你们辛苦了,干不下去的话,在大陆有几十家店等你们来做经理,工资翻倍”,配图为麻六记,粤洱堂分店开业图。
天眼查App显示,北京粤洱堂餐饮管理有限公司成立于2021年1月,北京麻六记餐饮管理有限公司成立于2020年8月。两家公司的股东中皆有北京食通达科技发展有限公司,后者成立于2020年1月,法定代表人为宋娜,注册资本12.5万人民币,股权穿透图显示,北京菲特兰装饰设计有限公司持股64%为大股东,汪小菲是北京菲特兰装饰设计有限公司大股东及疑似实际控制人。