新浪财经 产经

智能车灯晶科电子IPO,傍上了吉利“太子”

市场资讯 2024.03.05 11:24

来源:瑞财经

文/ 程孟瑶

时隔三年半,55岁的港科大博士肖国伟与74岁留美博士陈正豪联手创办的广东晶科电子股份有限公司(简称:晶科电子)重启IPO征程。从新三板退市,到科创板撤单,本轮示好港交所能顺利踏入资本市场吗?

晶科电子曾于2016年4月29日-2019年2月19日挂牌新三板,期间2次推行定增,合计募资3.01亿元;终止新三板挂牌10个月后,又提交了科创板上市申请,计划募资2.39亿元扩产。

排队其间,上交所曾向晶科电子发出首轮问询,针对其关联交易、采购管道单一及客户集中、产品毛利率低于行业均值等问题提出疑问,但晶科电子并未进行回复,财务资料过期也未更新。

再次有消息便是2020年5月主动撤回,原因为“考虑到高端照明及智能汽车照明业务还处于相对早期阶段以及本集团战略发展的需要”。

瑞财经《预审IPO》注意到,递表科创板时,正是晶科电子谋求转型之际,有业内人士表示,转型尚未有明显成绩或许是晶科电子主动撤回的主要原因。转型期间,晶科电子遭股东多次套现,合计1.71亿元,融资渠道为银行借款及其他借款,2021年-2023年前三季,分别新增銀行及其他借款2.52亿元、4390万元、2940万元。截至2023年9月30日,手握末現金及現金等價物1.46亿元,较年初增加0.38亿元。

从晶科电子披露的科创板招股书看,2019年上半年其业绩增速已经有所放缓,WIND数据则显示,2019年上半年盈利同比均有下滑。除了受到国内LED上游产能过剩,行业整体发展增速有所放缓的影响,2018年成立联晶智能,与吉利共同成立领为视觉带来的费用支出,也影响了其利润表现。

在分两次获得领为视觉的全部股权之后,晶科电子收入构成明显生变,汽车智能视觉业务快速成长,带来整体营收增长,但净利润却波动较大。2022年营收同比增长的情况下,净利润几乎遭腰斩。超七成收入来自五大客户,对吉利系的依赖越发突出。

2023年12月,李书福儿子李星星以股权增资突击入股后,晶科电子也预备进一步借势吉利系加速转型,此次IPO,晶科电子也计划将所得款项用于扩张汽车智能视觉产能,持续推动汽车智能视觉业务发展。

一、博士创业“流血”上市

转型期遭股东套现1.71亿元

晶科电子的掌舵人是55岁的港科大博士肖国伟,2002年11月获得电气与电子工程博士学位后,2003年2月创立了微晶先进光电,开始与港科大的研究人员在香港通过微晶先进光电开始从事LED芯片和产品研发业务。现在同时兼任国家半导体照明工程研发及产业联盟副理事长及广东省照明学会副理事长及学会专家。

微晶先进光电的联合创始人陈正豪今年74岁,拥有美国伊利诺大学阿巴那香槟分校电气工程博士学位。从英特尔公司的首席工程师及高级项目经理,到港科大工学院院长,再到香港理工大副校长兼教务长,陈正豪在半导体行业拥有50多年的学术研究及工业应用经验,2023年4月开始担任香港政府创新科技署组长。

2006年8月,微晶先进光电于广州成立了晶科电子,注册资本700万港元。创始人光鲜的履历,以及LED行业的风口,成为晶科电子成长的催化剂。

2012年-2015年之间,晶科电子经历过一系列股权变动及增资,先后引入了浩瀚光电、粤科投资、国民创投、晶宇光电等企业,并在2016年4月完成了新三板挂牌。WIND数据显示,2013年-2015年,晶科电子累计亏损超5000万元。

实现“流血”上市,可见当时LED行业的热度。而挂牌新三板的2016年4月29日-2019年2月19日期间,晶科电子2次推行定增,合计募资3.01亿元,引入中保产业、广东科技风投、西交科创等多家机构,公司总裁侯宇配偶高涛、副总裁曾照明配偶王红英、副总裁兼财务负责人周白云也通过参与定增进入股东行列。晶科电子扭亏,2016年-2018年实现三连涨,累计盈利1.21亿元。

实现盈利的晶科电子开始谋划转型,意图进一步闯关科创板。想法是好的,但在推进过程中却不断受阻。瑞财经《预审IPO》注意到,递表科创板时,晶科电子转型尚未取得明显成绩,2019年营收数据全面下滑,随着其2020年5月主动撤回IPO,资本也萌生退意。

2018年晶科电子投资成立了全资子公司联晶智能发力汽车智能视觉和高端照明领域业务,又与耀宁科技共同成立了领为视觉发展智能LED车灯业务,并且在2019年2月退市新三板,10个月后,向科创板提交了上市申请,计划募资2.39亿元扩产。

处于转型中的晶科电子,本应该需要大量的资源投入和资金支持,但却在2019年6月-2023年8月之间多次遭股东套现。2019年和2021年,微晶先进光电向中科白云、丰衍投资、粤财源合、粤财新兴、远见资本、顾文军、刘军等12名投资人累计转让股份3698.85万股,合计套现1.11亿元;东屹基金、嘉木融合、丰衍投资也先后套现0.60亿元;股东们累计套现1.71亿元。而且由股权转让发生在股东之间,晶科电子并无收到任何所得款项。

此外,值得一提的是,转型期的晶科电子在撤回科创板申请后,也并未获得外部资本的公开助力,增资及股份转让均发生在企业内部。主要为2023年12月员工持股平台晶裕投资、晶瑞投资、晶实投资;领为视觉的员工持股平台晶领投资先后入股。

目前,肖国伟、陈正豪、袁立明、APTESS、Giant Power,连同劳美良、微晶先进光电、晶裕投资、晶领投资、晶瑞投资、晶实投资做为一致行动人,合计直接及间接持有晶科电子47.11%股份。陈正豪与劳美良为夫妻关系。

二、撤回科创板IPO背后

绑定吉利太子李星星再出发

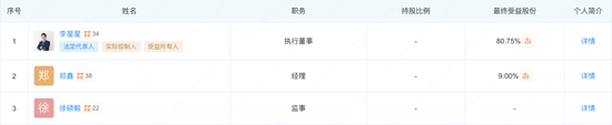
微晶先进光电之外,晶科电子还有一名重要股东——耀宁科技,持股比例13.76%,是除微晶先进光电以外,唯一持股比例超10%的单一股东。耀宁科技由吉利控股董事长李书福的儿子李星星间接控制,间接持股80.75%;总经理郑鑫为李书福的女婿,间接持股9%,其同时也是晶科电子非执行董事。穿透后,李星星间接持有晶科电子11.11%股份。

瑞财经《预审IPO》通过招股书和公开资料还原了耀宁科技的入主过程。2018年10月,晶科电子联合浙江吉创成立的汽车智能视觉产品企业——领为视觉,两者分别持股49%、51%,浙江吉创由吉利控股控制。由此,晶科电子搭上吉利汽车,吉利汽车丰富了自身产业链。

2020年12月,浙江吉创将手中领为视觉全部股份给耀宁科技,郑鑫几乎同时加入耀宁科技,成为晶科电子和耀宁科技最直接的纽带。2021年1月,晶科电子又通过对领为视觉增资,耗资1640万元拿到控股权益实现并表;2023年12月,为精简集团的公司架构,晶科电子通过发行及配发股份,从耀宁科技手中收购了其于领为视觉49%的全部权益,将领为视觉变为全资子公司,耀宁科技也因此成为股东,不到2个月,晶科电子递表港交所。

领为视觉主要从事汽车智能视觉产品的设计、研发、生产及销售,并表领为视觉后,晶科电子汽车智能视觉业务成长迅速,2023年前三季度,汽车智能视觉业务已经成为晶科电子第一大业务。其中来自吉利系企业的收入为4.83亿元,占同期总收入的36.1%,换言之,晶科电子的汽车智能视觉业务目前较为依赖吉利系。

报告期各期,晶科电子来自吉利系企业的收入分别为5060万元、3.5亿元、4.83亿元,2022年和2023年前三季度,吉利系企业均为晶科电子第一大客户。也是晶科电子业绩增长的主要原因。而且,晶科电子预计与吉利系的交易金额将继续增长,2024年-2026年将进一步增至10.81亿元、12.18亿元、12.55亿元。

据悉,吉利生系成员包括吉利汽车、领克、极氪、睿蓝、沃尔沃、精灵、路特斯等,目前路特斯已经完成美股上市,吉利汽车也已经启动极氪汽车的分拆上市。

三、业绩增收不增利

超七成收入来自五大客户

绑定吉利之后,晶科电子收入构成明显生变,汽车智能视觉业务快速成长,业绩表现更加突出,不过由于该业务毛利率较低,整体营收增长同时,净利润却波动较大。

科创板招股书显示,晶科电子专注于LED封装及应用产品领域,主要产品包括LED照明器件和模块、LED背光源器件和模块等,主要用于通用照明、室内商业照明、新型显示、UV/IR特种照明、植物照明、智能照明和车用照明等领域。主要客户包括TCL、飞利浦照明、三星电子、创维电子、海信、长虹等。

2016年-2018年,晶科电子营收分别为6.04亿元、9.03亿元、9.23亿元,对应净利润1340.40万元、5070.33万元、6727.45万元。LED照明器件产品分别贡献了57.48%、72.90%、69.05%的主营业务收入,是收入核心来源。

港交所招股书显示,晶科电子为融合LED+技术的智能视觉产品及系统解决方案提供商,收入主要来自汽车智能视觉、高端照明及新型显示三大产品板块,目前晶科电子已经成为国内产业链中率先实现垂直整合的汽车整灯供货商之一,实现了从车规级LED器件和模块到智能照明系统的全链条覆盖。

2021年-2023年前三季(简称:报告期),晶科电子分别实现营收13.88亿元、14.11亿元、13.39亿元;对应净利润7800万元、3907万元、4957万元。

汽车智能视觉业务成长迅速,相关收入由2022年的0.74亿元增长至2023年前三季度的5.26亿元。传统高端照明业务收入则出现明显下滑,2022年该业务实现收入10.34亿元,2023年前三季度收入约5.13亿元。

2023年前三季度,汽车智能视觉业务带来的收入已经超过高端照明业务,对业绩的贡献占比也超出一个百分点,成为晶科电子第一大业务。

不过在毛利率表现上,高端照明业务更加优异。报告期各期,晶科电子高端照明业务的毛利率分别为19.6%、19.2%、23.6%。汽车智能视觉业务分别录得1.1%的毛损率、17.5%、12.6%的毛利率,这也导致了晶科电子利润波动。

报告期内,晶科电子来自前五大客户的收入分别占总收入的71.8%、73.2%、71.7%,客户集中度较高,同期来自吉利系企业的收入占同期总收入的3.6%、24.8%、36.1%。晶科电子也提示,公司面临客户集中风险,若主要客户减少或停止采购,公司又无法寻得新客户,业务及盈利能力或会受到不利影响。

此次募资,晶科电子计划将所得款项用于扩张汽车智能视觉产能,持续推动汽车智能视觉业务发展,进一步压码智能汽车。计划扩建领为宁波生产基地并建立领为广东生产基地,其中领为宁波生产基地计划新增年产能40万套,广东生产基地计划新增产能140万套。

据相关数据,2023年,其晶科生产基地、联晶生产基地利用率为54.6%、78.8%;领为宁波生产基地的利用率车前大灯计为76.1%,车尾灯计为48.6%。

晶科电子称,2023年第四季度,车前大灯的单月利用率波峰达到81.1%,根据行业规范通常预留20%的产能,以应对可能出现的采购订单激增的情况,因此,领为宁波生产基地的车前大灯产能已接近饱和。

:晶科电子上市发行中介机构清单

独家保荐人:中信证券(香港)有限公司

审计师及申报会计师:安永会计师事务所

法律顾问:高伟绅律师行/上海市锦天城律师事务所

责任编辑:刘万里 SF014

加载中...