新浪财经 产经

休闲零食专利之争!卫龙告良品铺子背后:一家营收利润双降,一家却增收不增利

新浪财经

关注

文|新浪财经 刘丽丽

两大零食公司打官司了。近日,卫龙关联公司漯河市平平食品有限责任公司新增开庭公告,被告为湖北良品铺子食品工业有限公司,案由为侵害实用新型专利权纠纷。案件将于7月26日在河南省郑州市中级人民法院开庭审理。

去年以来,休闲零食赛道的日子就不太好过,渠道和消费意愿都承压、甚至连供应链都有承压之势。事实上,“承压”的现状并非2022年才出现,而是休闲零食行业从增量转向存量市场竞争加剧的结果。特别是在去年下半年社零总额有所下滑后,休闲零食行业也卷了起来。

这场官司背后,是两大零食巨头的博弈。从去年的财务数据看,卫龙营收利润双降,良品铺子实现了营收、利润双增,但比较近年数据可以看出,良品铺子其实是“增收不增利”。

包装侵权?

这次官司的原告,漯河市平平食品有限责任公司成立于2004年9月,法定代表人为刘忠思,注册资本1.2亿人民币,经营范围含食品生产、食品销售、食品添加剂生产、日用百货销售等,由漯河市卫龙商贸有限公司全资持股。

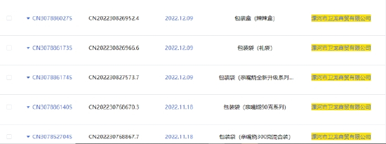
从国家知识产权局线上检索数据看,漯河市卫龙商贸有限公司目前有85项实用新型专利,主要为产品包装盒、包装袋、摆放架等,涉及到产品种类包括:亲嘴烧、麻辣麻辣、风吃海带、魔芋爽、面筋、辣条、麻辣棒、鸡粒丽、卤蛋、豆皮、薯片、杂粮时代、臭豆腐、薯条、鸡蛋干、香肠、凤爪、鸡腿、木耳、豆干、蔬菜脆、锅巴、兰花豆等多种。

[图片]

漯河市平平食品有限责任公司有29项实用新型专利,主要是食品生产设备、食品包装等。

这次的侵害实用新型专利权纠纷,大概率涉及到食品包装。

卫龙在包装方面也曾经翻过车。2022年3月,卫龙产品外包装广告语被质疑属于低俗营销,打色情擦边球,引发广泛关注,一度上了微博热搜,话题阅读次达到数亿。随后,卫龙出来道歉,称要停止有争议文案包装的生产,同时进行版面文案及设计的优化。

增长困境

“卫龙闻起来吃起来都特别臭豆腐,口感有点像豆干,但味道好是王道!推荐买这个!良品铺子的充氮包装和蓬松口感更好,有点点炸臭豆腐那个感觉了,但是香辣味有点不像臭豆腐,像香辣蟹。”曾经有博主测评过卫龙和良品铺子的臭豆腐。

这两家企业确实生产了一些竞品,总是被拿来比较。

卫龙是中国最大的辣味休闲食品企业,产品主要分为调味面制品、蔬菜制品、豆制品及其他三类,主要的单品有大面筋、小面筋、魔芋爽、软豆皮等。卫龙创始人刘卫平兄弟2001年在河南漯河开始辣条生产,2004年9月成立漯河市平平食品有限责任公司。调味面制品、蔬菜制品、豆制品、蛋制品,是卫龙的主要产品线。

卫龙经历了过山车一样的增长周期。现在,给卫龙贡献绝大部分收入的第一大品类辣条销量增速落后行业,卫龙的第三大品类豆制品的销量更是两年下滑了22%,而过去五年该行业年化增速达到7.5%。即便在辣条品类上拥有很大的市占率优势,但由于该品类的天花板并不高,卫龙还是陷入了长期增长的困境。

国内辣条市场已近700亿元的产业规模,但集中度依然较低,而且辣条行业进入门槛低,很难形成技术壁垒。为了应对原材料上涨,卫龙对主要产品进行了提价,虽然提价后毛利率有所提升,但销量却下滑,招牌产品调味面制品也不例外。

虽然核心品类的盈利能力并不弱,但卫龙目前还没有形成差异化的商业模式,也没有强势增长的新品类,似乎进入了进退两难之境。靠辣条起家,但新零食品类扩张的成败,将决定卫龙的发展空间。

在线上电商平台上,卫龙销量最大的爆款产品,种类是相对单一的,基本都是调味面制品。

良品铺子的产品覆盖面比卫龙更广,包括坚果、海味零食、肉类零食、炒货系列、红枣干果、话梅果脯、素食山珍等,其在全品类和全渠道上打“组合拳”被认为是破局存量市场的有效手段。

从线上电商平台的销量看,良品铺子销量最大的爆款产品种类较多,有猪肉脯、面包、饼干、水果干、坚果、卤蛋等多种,相对来说,产品线更丰富。

但良品铺子也有自己的困境。2020年,良品铺子实现营收78.94亿元,净利润为3.44亿元;然而,到了2022年其收入增长至94.40亿元,但净利润却仅为3.34亿。线上业务增长也乏力。2022年良品铺子线上主营业务收入为46.98亿元,同比下降3.29%。

从最高涨至86.52元/股,市值近300亿,到现在总市值不到100亿元,良品铺子市值已经蒸发了约200亿元。

责任编辑:刘万里 SF014

加载中...