新浪财经 产经

上海豪宅,大势已去

市场资讯 2023.06.16 17:21

来源:盐财经

文 | 胡万程

在上海做豪宅中介的方哲,这两年心态有了很大的转变。

虽然都是年均2单的业绩,干的是“半年不开张,开张吃半年”的买卖,但之前方哲面临的卖家,普遍是抛出价位后,几乎没有任何商量余地,一副“卖不卖,不卖滚”的派头。

而现在的卖家,态度有了180度的变化,不但保证给足激励,也在议价空间上给了中介相当大的自由度。

用方哲的话来说就是:“好像从孙子变成了爷爷。”

大疫三年,国内外冲击不断,豪宅市场却一直坚挺,是高净值人群们的货币蓄水池。

不过在今年,事情起了变化——与普通住宅市场一样,一线城市的豪宅市场,不但挂牌数量激增,而且出现了价格倒挂。

犹如摇奖

云锦东方的扎堆“摇奖”,揭开了上海豪宅市场乱象的冰山一角。

5月中旬,位于上海徐汇区的红盘云锦东方三期开启认购。单价逼近16.5万元/平方米,建筑面积超过400平米,2500万元起的总价;500万元的认购金,首套900万元、二套2900万元的冻资……种种数据均打破了上海市新房备案的天花板。

云锦东方三期一房一价表

毫无疑问,这是一处豪宅盘。

但在楼市萧瑟的当下,打新的人还是前赴后继,夏日炎炎,众多“亿万富翁”烈日下排队认筹。根据机构监测数据,105套房源总认购数超过700组,认购率达667%。

为啥这么火?

原因很简单,因为该楼盘的入市价格与周边二手房成交价存在极大的倒挂。

目前,二期的成交单价普遍在22万元以上,而三期的售价与其存在5万元以上的差价。

与平均每套400平的建筑面积相乘,只要打中,就能获得2000万元的套利。

即便“中奖”比率是1∶7,考虑到“大奖额度”,这样的比率甚至可以说是诱人。美中不足,只在其高耸的参与门槛罢了。

据知情人透露,认购需要家庭名下所有人(配偶及未成年子女)的产调证明,以及近12个月内的银行流水证明。尤其是一年期的流水证明,挡掉了无数凑钱、借钱想要前来分一杯羹的潜在认购者,堪称上海认购楼盘中最严的一类。

但即便房企设置严苛认购条件,在倒挂的吸引下,现场仍充斥着各类黄牛:“结婚黄牛”、“资金黄牛”以及“代持黄牛”。

“结婚黄牛”是提供购买资格的积分,“资金黄牛”是提供认购金的过桥,“代持黄牛”是先以别人的名义购房,以后通过交易等方式将产证进行变更。

2000万的利差实在过大,这样的套利行为令无数人眼红的同时,也将其推至舆论的风口浪尖,监管部门适时介入。最终云锦东方三期未能如期摇号选房,并于5月30日下午对外发布了摇号暂停公告。

云锦东方火热摇号的同时,上海豪宅市场同时出现了一个现象,即二手豪宅楼盘挂牌量的激增。

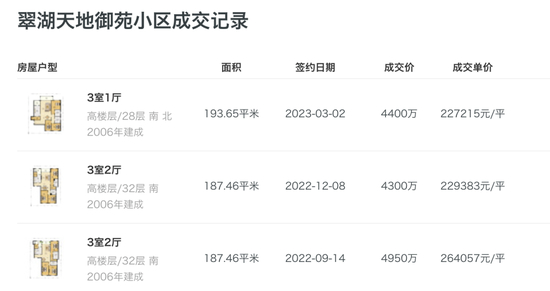
以链家数据为例,世贸滨江花园去年是83套挂牌,当下有235套求售,创下八年来挂牌最高记录;而豪宅风向指标的翠湖天地,挂牌量也来到135套的高位;位于黄浦江畔的中国顶级豪宅融创滨江壹号院,挂牌数也接近50套,这是往常不会看见的数字。

老豪宅在放量,新豪宅也在放量。

2023年4月,上海2500万元及以上的高端房源供应共新增238套,主要来自徐汇滨江百汇园三期和三林前滩百合园项目,供应环比上月涨了5倍。

为何挂牌数涨这么多?

除了“老换新”“小换大”的改善置换需求外,有相当一部分业主看到了豪宅价格“滞涨”的情况,以及上海一二手倒挂现象的存在。一些原本惜售的富豪们,可能准备卖房凑钱取得打新一手豪宅的资格。

而这批人,就是参与云锦东方“摇奖”活动的最大群体。

行情生变

“虽然我们的房价已经很高了,但和那些国际大都市相比,我们一线城市的房价和它们还是有段距离的。综合考虑人口密度、经济发展速度等因素,我们的房价并不算太高。”

几年前,当大家谈论到中国房价过高时,这个观点颇为流行。

但随着中国楼市长时间的量价齐升,情况已经发生变化,上海早已成为全球最大的豪宅市场之一了。

上海的豪宅市场,对比市场整体成交量,2500万元以上及单价10万元/平方米的豪宅成交量占比不到1%。

但就是这1%,却一直以来在全国都属于特殊存在。

在北京,八位数可以买一套市中心的次新小三居。而在上海,这仅仅是一张买房的船票,环内新房低于千万的基本不存在。

做中介已9年之久的方哲告诉盐财经记者,豪宅很难受到外界影响,在楼市不明朗的时候也不太受到冲击,甚至可以做到抗跌且逆市上涨,有着自身的独立行情。在相当一段长时间,具有稀缺性的豪宅始终是富豪们兼顾居住与保值、增值的硬通货。

在疫情时期,在上海楼市整体偏冷的时候,豪宅市场仍然火热。

一方面,高净值人群对风险的偏好降低,更注重“安全”而非“增长”。位于核心城市、核心地段的住宅产品,适合作为稳定的资产保值来抵御各种不确定性。

另一方面,一线核心城市的住宅变现能力较强,处置相对灵活,叠加市场供不应求的预期,更受高端市场欢迎。

以翠湖天地为例,2020年上半年二期有房源单价在14万元/平方米,2022年9月成交的一套房源单价已高达26万/平方米,该项目房源过去两年间的涨幅近乎翻倍。而云锦东方一期开盘6万不到,现在均价近30万,几乎涨了5倍。

而这样的情况在持续了两年后,在今年逐渐熄火,豪宅市场不再“出淤泥而不染”,而是走出了与普通住宅市场相同的路线。供应量增加,上海豪宅也陷入了买方市场,带来了更多的议价空间,买家的观望心态较重。

相较于挂牌量,更挑动市场神经的,则是价格的下调。

近期,不少房源出现了明显价格调降,如云锦东方、陆家嘴壹号院、滨江凯旋门、露香园等高端住宅项目中,有业主对挂牌价进行调降,降幅从100万~500万不等。

对于近来频繁出现的降价、挂牌量增多等消息,行业人士认为,当前的降温具有导向意义,预示着未来上海市场的调头向下。

“如果是看重保值的话,建议购买一线豪宅。而第二梯队的豪宅中,由于挂牌量上升,买方的比价心理是强烈的,所以高性价比的房源会优先成交,等同于打了一定的折扣。”方哲对盐财经说。

方哲预测,随着二手豪宅成交量下行、多地开始大幅降价成交,豪宅价格回归到理性区间,一二手价差不断缩小乃至持平,投资属性降温,倒挂的一手豪宅价格才能走出下行趋势。

都在退烧

豪宅的“退烧”,不止发生在上海,也发生在其他城市。

2022年下半年,总价5000万元以上的顶级豪宅市场降温明显,全国范围内仅成交383套,同比下降40%。

中国四大一线城市的千万级豪宅成交量占到全国的80%。如果说一手豪宅“打新红利”仍然存在的话,二手豪宅市场则已冰火两重,2022年下半年后,高端市场表现出明显的后劲不足。

而如果把总价1000万当作高端住宅的基本门槛,那么一手市场跌幅较大的有深圳、厦门、苏州和武汉

核心城市1000万以上二手豪宅成交套数已跌回至2017年,成交规模尚未达到2016年水平。

一般来说,在房地产牛市的时候,豪宅是领涨,改善住宅是跟涨,而普通刚需是补涨。从区域来看,核心片区是领涨,外围片区是跟涨与补涨。而在房地产熊市的时候,外围的普通住宅最先下跌,接着是改善住宅跟跌,最后才是核心区的豪宅产品补跌。

如今的全国各地豪宅市场“遇冷”,也直接反映出了一个残酷的事实:房地产的投资信心缺失,已经到了一个较为严峻的地步。

从CRIC监测的百城数据看,4月百城成交面积环比下降28%,市场热度恢复到本轮行情启动初期水平。虽然单月成交量略好于去年同期,但仍显著低于2019—2021年同期水平。

销售环比几乎腰斩的数据,已经说明前期积累的需求释放已接近尾声,市场整体供求迎来拐点,增长动能开始转弱。

方哲说,作为中介,他常常收到询问——今年要不要买房。而他也知道,这个问题的背后,往往更深的含义是指,买房还能不能赚钱。

在他看来,除了那些倒挂行情明显的一手新盘,上海乃至中国楼市的普遍行情,已经比较难支撑“买了必涨”的逻辑了。而且,由于监管各方面条件的严苛,打新的套利空间也在缩小。

他认为,春节后楼市的那波复苏,主要得益于去年受疫情抑制的需求在年初释放,最开始是刚需释放带动市场恢复,但有一部分城市的楼市复苏如昙花一现般,在3月份就草草结束,这主要是缺乏充分的改善需求跟进释放的原因。

“眼下买房的核心诉求是稳,而不是想着狂升值。真正有刚需及改善需求的购房群体,只要确定好自己的核心需求,任何时候都是买房良机。而出于投资考虑的人,则需要再三思考。”

对于未来,他表现得很理性:“如果接下来没有较大的利好性政策出台,楼市短期的回暖已经结束,下半年市场将面临更大的压力。好在卖豪宅这件事,早早锻炼出了我的耐心。”

“买卖房这件事,急不得。”方哲说。

应采访者要求,文中方哲为化名

责任编辑:刘万里 SF014

加载中...