新浪科技 产经

嘉行传媒丢了“摇钱树”,杨幂粉丝为何纷纷道贺?

新浪财经

关注

文|新浪财经 原祎鸣

5月8日,杨幂通过个人微博发文,“共有从前,各有未来,官宣与嘉行传媒结束合作关系。”随后,西安嘉行影视传媒股份有限公司(以下简称为“嘉行传媒”)发文称,“十几年风雨同舟,共同成长,感恩感谢。祝未来一切顺利,珍重安好。”

很快,#杨幂官宣与嘉行解约#、#杨幂工作室微博改名#、嘉行法人曾嘉曾是杨幂经纪人#、#还以为杨幂是嘉行老板#等多个词条登上热搜。但目前,天眼查App显示,杨幂仍持有嘉行传媒股份,为其第三大股东。

值得注意的是,在杨幂与嘉行传媒双方的微博下,粉丝纷纷祝贺杨幂离开,并讽刺了嘉行传媒。有人称,没有杨幂就没有嘉行,也有人称,嘉行应该说“抱歉”。

有分析认为,杨幂的离开对于嘉行来说无疑是不小的冲击。作为公司的台柱子,离开之后,嘉行传媒未来有没有足够的继任者来支撑企业,多少还有一些未知数。另外,从娱乐文化行业的机会和发展情况来看,三年的疫情对其造成较大冲击,但是今年随之而来的报复性消费、经济反弹,对于行业和嘉行传媒来说也是巨大的机遇。

解约后,杨幂仍为第三大股东

据多方消息,杨幂、曾嘉的合作最早开始是2004年,杨幂自出道以来,曾嘉便担任其经纪人。2012年,杨幂工作室成立。次年。其更名为嘉行天下杨幂工作室,即嘉行传媒前身。

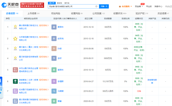
2015年9月份,西藏嘉行收购了新三板挂牌公司西安同大37.5%的股份,正式登陆新三板后改名为嘉行传媒。同时原主要人员均退出,新增曾嘉、赵若尧等。目前,该公司注册资本为2000万人民币,曾嘉为法定代表人、董事长兼总经理,杨幂仍然为嘉行传媒第三大股东。

嘉行传媒官网显示,其是由金牌制作人、经纪人曾嘉、赵若尧携手合伙人杨幂共同创建的新兴多元化娱乐产业公司。多位核心成员合作超过 10 年。 公司自2014年成立至今,旗下拥有近50位签约艺人,打造出多部现象级爆款影视作品。

现象级大剧后遇“寒冬”,仓促退市

2014年,上海尚世影业有限公司曾出资3亿元认购嘉行传媒20%的股权,并与其签下对赌协议。嘉行传媒需要在2015-2017年内累计实现税后净利润3.1亿元。如果没有达到这一目标,嘉行传媒需要以15%的年化率回购3亿元股票,即赔偿尚世影业3亿元,加15%的利息。

2017年,杨幂主演的《三生三世十里桃花》成为现象级大剧,嘉行传媒对赌成功。嘉行传媒的估值也从最初的2500万元跃至50亿元。

嘉行传媒财务数据显示,2015年至2017年,公司实现归母净利润为0.82亿元、1.29亿元、1.9亿元,呈现逐年上升趋势,远超其承诺的2015年至2017年的净利润不低于0.75亿元、1.05亿元、1.47亿元的目标。

在新三板挂牌期间,嘉行传媒也完成了多轮融资,并引入了东方明珠完美世界两家公司。2015年10月份,东方明珠旗下尚世影业通过协议转让方式,受让嘉行传媒95万股,同时参与嘉行传媒定增,认购股份285万股。2017年4月份,完美世界旗下并购基金石河子市君毅云扬股权投资有限合伙企业认购嘉行传媒100万股。

然而,2018年,“影视寒冬”的来临,让资本逐步撤离影视行业。2018年5月,嘉行传媒在新三板摘牌。

天眼查App显示,嘉行传媒持股的8家公司中7家为存续状态,包括霍尔果斯嘉行影视文化有限公司、北京喜悦嘉行影视文化有限公司等5家全资子公司,以及由其持股50%的井冈山嘉行新品企业管理有限责任公司、持股约5%的游美营地(北京)教育科技有限公司。

2022年,嘉行传媒曾因网友爆料嘉行传媒欠款一个亿还拒绝转让股权,舆论普遍称“杨幂被坑了”。后来虽然嘉行传媒发微博辟谣,否认欠债的消息,仍有大批网友关心杨幂与嘉行传媒的关系,称杨幂为嘉行传媒的“摇钱树”、流量“奶妈”。

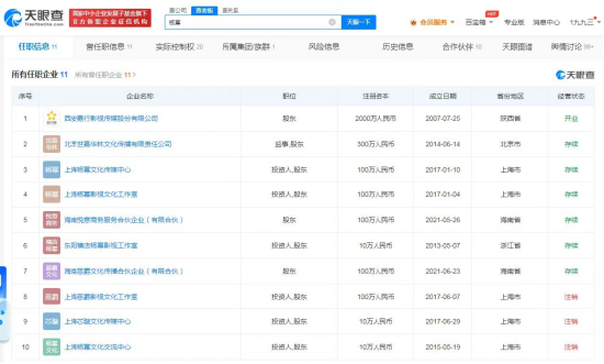
如今,杨幂关联的11家企业中7家为存续状态,包括西安嘉行影视传媒股份有限公司、上海杨幂文化传媒中心、上海杨幂影视文化工作室等。其中,3家工作室或传媒中心均由杨幂个人独资,其余4家企业中,杨幂也均持有股份,并在北京世嘉华林文化传播有限责任公司任职监事。

加载中...