新浪科技 产经

火遍全网的盛唐蜜盒,救不了连亏3年的曲江文旅

新浪财经

关注

文|新浪财经 原祎鸣

盛唐蜜盒为西安大唐不夜城又“添了一把火”,甚至有人直呼大唐不夜城打造了一个大唐主题乐园,成为“中国版环球影城”。

这个由两名脱口秀演员扮演房玄龄和杜如晦的组合随机抽取台下观众提问的方式在互联网社交平台上火速出圈,也让本就人满为患的景区中,长度仅十余米的演出台被围堵得水泄不通。

天眼查App上也显示,“盛唐密盒”被多方申请注册商标。盛唐蜜盒为何爆火?其爆火能否带动一系列衍生IP的发展?大唐不夜城、盛唐蜜盒的运营母公司曲江文旅已连亏三年,如今的爆火能否拯救曲折的曲江文旅?

多位业内人士告诉新浪财经,想成为环球影城,仅靠盛唐蜜盒远不足够。而只有流量却没有IP变现能力,也只能叫好不叫座。换言之,虽有火爆全网的IP,但曲江文旅的未来依旧曲折。

盛唐蜜盒的爆红,是年轻人对不确定的向往

盛唐蜜盒火了,如今到了西安和还没来得及到西安的人都知道,西安有个大唐不夜城,大唐不夜城有个房玄龄和杜如晦,两位脱口秀演员因为语言风格非常搞笑,又被调侃为“汉语言博士再就业”“董宇辉2.0”。

3月18日,“盛唐密盒”官方抖音账号发布了第一条视频,4月13日,该账号进行了一场直播,累计观看人数达到146.13万,人气峰值5.46万。截至目前,“盛唐密盒”抖音账号的粉丝数已经达到182.5万,获赞532.6万。

盛唐蜜盒的爆火看似是互联网“莫名其妙”随机选择的结果,实则是多年努力的成果。中国旅游协会文旅投资分会副秘书长周海涛介绍道,近年来,西安政府一直都在努力打造网红定位,年年都能营销出爆款,前两年火了不倒翁小姐姐,今天火了盛唐蜜盒。

从形式上来看,盛唐蜜盒的名字与当下追求的“盲盒”有相似之处,节目形式新颖,答题过程简洁明了,还会赠送小礼品,抓住了观众的好奇心。从内容上来看,房大人和杜大人本身就是脱口秀演员,自带幽默感,临场反应能力佳,表演还融合了历史文化知识,用新颖方式来表达旧内容的方式更能吸引到游客的注意,既保证了文化传播的规律,也创新了传播的渠道和形式。

此外,盛唐蜜盒组合的表演进行了一年多后才爆火,这是长期的积累与新媒体传播属性叠加的结果。

尚游汇文旅董事长钟晖则认为,盛唐蜜盒非常符合城市营销的典型模型:塑造网红打卡地——让游客为追求不确定性打卡——引流消费。

“追求不确定性是时下非常重要的消费,如果只有他俩在台上聊天,观众看一次就够了,但是他们和不同的游客聊天就可以看很多次。且盛唐蜜盒的表演每场只有十分钟,互动参与性与语言沉浸式体验感也都很强,非常符合当下年轻人的消费需求。”钟晖表示。

抛开盛唐蜜盒本身,从更宏观的角度来看,钟晖认为,其爆火和夜间经济是分不开的。《2022中国夜间经济最新发展报告》数据显示,2022年中国夜间经济发展规模超过30万亿元,2023年中国夜间经济发展规模将增至36万亿元。

“相比较之前的旅游景区只在白天开放,如今夜游已经成为了标配,商务部的数据也显示,中国人的消费习惯中有60%的消费发生在夜间,夜间经济的规模很大。”

也因此,近年来伴随着夜间经济产生的夜景,如夜市、夜游、夜购、夜食、夜浴、夜宿、夜读等开始兴起。如今,夜间项目已经成为旅游的标配,而大唐不夜城成为夜间经济的代表性目的地,其把盛唐文化的展示和体验有效结合,用大量的夜间灯光打造极致的装置,因此盛唐蜜盒的火爆并非偶然,钟晖表示。

凭着盛唐蜜盒,敢直接对标环球影城?

大唐不夜城有互动的盛唐蜜盒、迪士尼有互动的玲娜贝尔、环球影城中有互动的擎天柱,不少人称大唐不夜城是“中国版环球影城”,但钟晖和周海涛都指出,相比较成熟的迪士尼、环球影城等大IP主题乐园,大唐不夜城还差得很远。

“迪士尼有自己的IP矩阵,环球影城是开放的IP平台,既有满足小孩也有满足成年人的IP,大唐不夜城不可能靠着一个不倒翁小姐姐和盛唐蜜盒成为中国版环球影城。”

在钟晖看来,盛唐蜜盒只是一个现象级的营销活动和手段,但仅靠这个还远不足以被称为“中国版环球影城”。

周海涛也认同钟晖的观点,其认为,相比较迪士尼有强大的配套经济支撑的全球性IP,大唐不夜城到如今也就火了一个短视频刷来的不倒翁小姐姐和盛唐蜜盒,可这种火爆并无真正的实体做根基。“大唐不夜城是曲江的大唐不夜城,环球影城是世界的环球影城。”周海涛直言。

周海涛还指出,中国的文旅如今有一个通病,哪个点火爆就集体雷同,而缺乏开发性的产品,如今各地特色的旅游产品也都是重复性的商品,各个景区的纪念品也都一模一样。“这也正是淄博烧烤、盛唐蜜盒爆火的原因,并不是因为烧烤有多好吃,或者知识问答本身,而是抓住了一个独特的切入点。”周海涛称。

但话又说回来,正因如此,盛唐蜜盒未来也面临着雷同的问题,只是目前的模仿者都不够像,但是谁也不知道未来有没有比两位演员更好的人。

“但是也没有必要去成为中国版环球影城,大唐不夜城目前的确成为了中国夜游目的地的标杆,不需要成为中国版的谁。去环球影城要买魔法棒、喝黄油啤酒、去巧克力餐厅,但是大唐不夜城不是这种消费模型,它应该去创造自己的模型。”钟晖表示。

天眼查App数据显示,“盛唐密盒”被多方申请注册商标,申请人包括广州某美妆公司、山东某物业管理公司以及多个自然人,国际分类涉及广告销售、医药、健身器材等,当前商标状态多为申请中。

周海涛认为,仅通过抢注商标并不能被理解为资本的“看好”,很多人都是抱着“试试看”的心态注册商标,认为IP商业化顺利的话可以赚到钱,但这只是先期的商业性行为,并不代表IP一定有变现能力。

举例而言,方特的熊出没IP也被多方抢注,但至今除了卖玩具这一单一方向也没有找到更好的变现方式。“IP变现是一件长期的事情,并不是今年IP火了赚一笔钱,明年这个IP就不用了。盛唐蜜盒如今虽然很火,但是一年之后是不是还会这么火呢?当年火爆全网的不倒翁小姐姐,如今也很少出现在互联网上了。”周海涛称。

曲折了多年的曲江文旅,仍找不到IP变现方式

4月10日,上市公司曲江文旅在投资者关系平台上答复了其和大唐不夜城的关系。根据其表述,大唐不夜城步行街的运营管理方是西安曲江大唐不夜城文旅发展有限公司,而该公司又是曲江文旅的全资子公司。

此外,盛唐蜜盒是曲江文旅演艺中心打造的行为艺术表演项目,盛唐蜜盒抖音号皮卡晨也是曲江文旅在运营管理。通过股权穿透可以看出,大唐不夜城及盛唐蜜盒的收益会完全归于曲江文旅。

虽然大唐不夜城的爆火并非一朝一夕,但曲江文旅的财报非常“难看”。

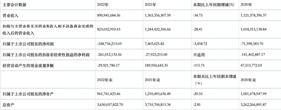
曲江文旅年报显示,2022年第三季度,公司单季度主营收入2.63亿元,同比下降13.56%;单季度归母净利润-1492.16万元,同比下降124.76%;单季度扣非净利润-2026.34万元,同比下降20.7%;负债率68.72%,财务费用3968.43万元,毛利率15.7%。

2022年,曲江文旅公司营业总收入8.91亿元,同比下降34.75%,归母净利润-2.49亿元,同比下降3458.72%,流动负债合计17.01亿元。

值得注意的是,2022年已经是曲江文旅扣非后连续亏损的第三年,且净亏损额成为公司自1996年上市以来亏损最高的一年。

对于亏损,曲江文旅提到了新冠疫情的影响,“所辖景区多次短暂或阶段性闭园,导致景区门票、灯会、演出等经营收入同比大幅减少。子公司无锡汇跑承办的体育赛事也因疫情延期,收入利润同比减少。”曲江文旅在公告中表示。

“虽然曲江文旅称其下滑原因系新冠影响,但曲江文旅屡屡面临甩卖退市风险,这个矛盾绝不仅仅是新冠造成的,它首先要解决的是欠款、如何不再需要通过抵押股票来过日子的问题。”周海涛称。

今年2月,曲江文旅发布公告称,公司控股股东西安旅游投资集团质押了5300万股股票,占其持股量46.28%,占公司总股本的20.78%,质押融资资金将用于补充流动资金、调整负债结构及归还借款等。这已经是自2016年以来,西安旅游投资集团第四次质押公司股份。

大比例质押股份一定程度上显示出了公司的资金压力,财报显示,截至2022年9月30日,曲江文旅的流动比率为0.98,资产负债率为68.7%,短期偿债压力较大。同一时间点,曲江文旅的有息负债合计高达12.03亿元,期末现金及现金等价物却仅有2.02亿元,经营压力明显。截至2022年9月末,公司的应收账款高达11.15亿元,和2012年末的1.48亿元相比已经增加了近7.5倍,这进一步加重了现金端的压力。

而目前,曲江文旅的确没有找到“不再需要通过抵押股票来过日子”的解决办法。周海涛认为,如何让IP的流量变现是最重要的问题。“盛唐蜜盒虽然火,但火不代表赚到钱,几年前火的不倒翁小姐姐也没赚到钱,天天赔钱的话,再火也没有意义。”

钟晖补充说道,首先要肯定大唐不夜城成了年度顶流,接待量很高,但希望曲江文旅除了历史文化积淀还能聊聊商业化变现,包括怎么给市场提供信心,把网红变成长红,做好配套消费,集IP、娱乐、餐饮、国潮一体化等一系列问题。

“不倒翁小姐姐、石头哥、拿着话筒和人聊天的李白都曾火爆全网,这证明了曲江文旅在打造IP方面有一定的功底。但仔细想来,迪士尼和环球影城的IP有很多品牌以及线下实体经济加持,可不倒翁小姐姐和盛唐蜜盒等都起源于短视频,虽然拥有爆款的流量优势,但IP的商业化开发和变现能力不足。不要指望着一两个项目就能变现,它只能带来一定的流量,除非形成IP矩阵,不停地迭代,否则变现的能力没有那么强。”钟晖称。

周海涛认为,曲江文旅如今亏了3个亿,业绩叠加了现金流的巨大压力,如何让IP落地,通过文创产品创作等方式进行商业化变现,把网红变成长红,这是曲江文旅更应该考虑的。

而如今,大唐不夜城的很多地方不收门票,大家只能通过抖音上的观看量和吸粉能力判断其火不火,但是线下实体的转换以及旅游周边带动的具体数据都尚不知道,曲江文旅应该想办法降低景区门票等收入在其营收结构中的占比,加大IP周边转化的收入占比。“如果盛唐蜜盒只是单一为景区的创收而的引流,一个10多米长的商业综合体再变现能有多少钱?”周海涛质疑道。

而曲江文旅财报显示,2022年年度,其营业收入中,占比71.45%的仍然是景区运营管理业务约占营业收入,仍然占绝对的大头。

在4月14日曲江文旅发布的股价异动公告中,也提到了“盛唐密盒”是公司演艺中心打造的主题演艺为免费演出,未开展其他商业活动,也未对公司产生直接的收入。

证券之星估值分析工具显示,曲江文旅行业内竞争力的护城河较差,盈利能力较差,营收成长性较差。

此外,“盛唐蜜盒”抖音号目前仅上线了一款名为“一日看尽长安花:活在大唐”的书籍,购买量为293件。

不过目前来看,盛唐蜜盒带来的流量的确让西安在今年的五一“火上加火”。截至发稿,五一尚未正式到来,但从预订量上就已经可以看出游客对西安的热情。飞猪数据显示,五一假期飞往陕西的机票预订量同比去年增长超10倍,广东、浙江、上海、江苏、福建等是“五一”假期前往陕西旅游的热门客源地。

此外,五一假期西安的高星酒店预订量同比增长超20倍,其中大唐不夜城是酒店预订的热门区域。

责任编辑:石秀珍 SF183

加载中...