新浪财经 产经

认栽?北京金融法院“第一案”判决,知名私募蓝石资产仅获赔20%

市场资讯 2023.01.06 18:42

来源:券业行家

认栽?北京金融法院“第一案”判决,知名私募蓝石资产仅获赔20%

历时21个月,北京金融法院“第一案”终于宣判:蓝石资产因一笔总额5亿元的债券“踩雷”,起诉四家中介机构,判决的连带赔偿比例仅有20%。

虚假陈述“第一案”

话说,2021年3月18日,北京金融法院正式成立。

就在建院当天,北京金融法院受理的首单诉讼,正是这起:蓝石资产管理有限公司(简称:蓝石资产)诉“16大机床SCP002”主承销商及其他中介机构债券虚假陈述责任纠纷案。

据媒体报道,这起银行间债市首例虚假陈述案,涉案金额高达五亿元。

本案的原告蓝石资产,成立于2015年1月,同年2月登记备案为私募证券投资基金管理人。唯一一家股东为自然人饶美秀。注册资本5000万元,实缴1000万元。旗下现有13只产品,规模20-50亿元。

而被告方的阵容颇为庞大,包括主承销商兴业银行股份有限公司(简称:兴业银行),审计机构利安达会计师事务所(特殊普通合伙)(简称:利安达所)及利安达所大连分所,评级机构联合资信评估股份有限公司(简称:联合资信),法律顾问辽宁知本律师事务所(简称:知本律所)。

作为上市银行,兴业银行(601166.SH)体量不小:目前总市值超过3700亿元。2022年前三季度,兴业银行营收合计1708.54亿元,归母净利润718.08亿元。

利安达所是一家极为老牌的内资会计师事务所——在1993年11月由对外贸易经济合作部发起设立,至今已是第三十个年头。官网显示,利安达所则是境内大型财会集团网络之一,具备全方位、全球性专业服务的能力。

联合资信官网显示,作为“目前中国最专业、最具规模的信用评级机构之一”,秉持“专业、尽责、真诚、服务”的理念,致力于为投资者、监管部门提供客观、公正、科学的信用评级结果。

知本律所的公开资料较少,据企查查信息,知本律所成立于2003年,现有9名律师,代理客户138家,代理案件1196起。

五亿债券沦为“垃圾”

追溯案件始末,行家发现,这牵涉到大连机床集团有限责任公司(简称:大连机床)2016年发行的一笔债券。

2016年8月4日,大连机床公开发行了总额五亿元的“16大机床SCP002”(下称“案涉债券”)。这笔超短融债,存续期为270天,发行利率为6%,到期日为2017年5月2日。由前述中介机构“盖戳”的发行文件披露,大连机床为案涉债券提供5亿余元的应收账款质押,账期与金额可以覆盖案涉债券本息。

另据联合资信在2016年5月做出的评级报告,主体评级AA,展望为“稳定”。

案涉债券发行之际,蓝石资产也“分了一杯羹”:大连机床向蓝石资产按1%进行返费,而蓝石资产指示其担任投资顾问的资管产品买入案涉债券。

仅过了三个月,大连机床的财务危机就“掀开了盖子”:2016年11月21日,大连机床旗下另一只债券“15机床CP003”爆出“技术性违约”,并触发了交叉违约保护条款。

同一天,联合资信将大连机床列入评级观察,其后一个月内,联合资信先后三次下调了大连机床的评级。2016年12月12日,大连机床主体评级下调为C——“不能偿还债务”,也就是通常所说的“垃圾债”。

2016年12月15日,债券持有人曾经通过决议,给予30天宽限期。但在2017年2月13日,案涉债券还是毫无悬念的“实质性违约”。

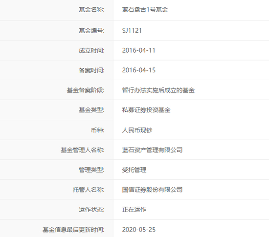
在此期间,蓝石资产旗下的产品“蓝石盘古1号基金”一反常态的“出手”:2016年12月16日至2017年2月13日期间,多次买入了全部5亿元债券。据自媒体爆料,买入价“打了五折”。

2017年4月27日,大连机床公告承认案涉债券应收账款增信措施“造假”。

随后,大连机床开启了漫长的破产重整程序。据重整计划方案,无担保普通债权清偿率仅为2.72%。

也就是说,蓝石盘古1号获得的清偿金额仅为4134万元。如果以票面价值衡量,本息损失达5.03亿元。

酌情判决赔偿两成

由于裁判文书网尚未更新这一判决的全文,行家根据媒体报道,整理了法院的观点。

北京金融法院认为,大连机床在案涉债券发行过程中存在包括隐瞒真实财务情况、虚构应收账款质押等虚假陈述行为。除联合资信外,三家中介机构均构成虚假陈述。

具体来看,兴业银行对所出具的企业财务信息,特别是案涉四笔高额质押应收账款未充分履行尽职调查和独立判断的勤勉尽责义务;对会计师事务所出具的年审报告以及律师事务所出具的《法律意见书》,亦未尽到审慎核查和必要的调查、复核义务。

利安达所在审计过程中未进行职业判断,未保持职业怀疑,存在未勤勉尽责情况。

知本律所未按照行业要求对应收账款的真实性进行核查,以判断案涉债券是否获得合法有效增信,进而出具法律意见书,也构成虚假陈述。

北京金融法院认定,蓝石资产的认购行为与案涉诸虚假陈述行为具有因果关系。

同时,法院指出:蓝石资产作为专业的机构投资者,系理性投资人,注意义务应有别于普通投资人。在案涉债券已被发行人、承销商、评级机构连续发布无法兑付风险提示的情况下,仍然坚持购入案涉债券。这一行为“可减轻各侵权方的赔偿责任”。

根据查明的事实,蓝石资产在案涉债券发行之初安排其担任投资顾问的资管产品购入案涉债券,实际从事了案涉债券的营销工作,并收取了发行人返费。案涉债券违约后,蓝石资产将其购入的部分原因解释为履行案外投顾管理义务的考虑,而非完全出于投资目的购买。

北京金融法院据此认为,以上情况可进一步减轻各侵权方的赔偿责任。

根据案涉债券各参与方对损失的过错程度,虚假陈述行为与损失之间的因果关系,一审酌情判决,兴业银行承担10%的连带赔偿责任,利安达所承担4%的连带赔偿责任,知本律所承担6%的连带赔偿责任。

从现实角度来看,大连机床恐怕没有什么赔付能力。蓝石资产通过起诉,仅可获得三家中介机构合计20%的连带赔偿。

剩下的80%,蓝石资产是否会“认栽”呢?毕竟,1%的返费,恐怕不是那么好拿的。

中基协信息显示,蓝石盘古1号基金在2016年4月成立并备案,投资者查询账号开立率42.86%。

截至2022年三季度,蓝石盘古1号基金规模已经不足500万元。

高管离任仍未变更

在查看“蓝石盘古1号基金”时,行家还有了意外的发现。

目前,蓝石资产有四条提示信息,分别是实缴资本低于25%,注册地与办公地不在同一证监会辖区,存在超过到期3个月且未提交清算申请的私募基金,存在提交清算开始后超过6个月未完成清算的私募基金。

据中基协高管备案信息,蓝石资产的法定代表人、董事长、总经理为朵元。

这个名字,在资本市场并不陌生。

公开信息显示,朵元在2003年担任中银国际首席交易经理,开拓创建了固定收益投资交易业务,任职当年实现债券交易投资回报率和交易量排名市场第一。2004年10月,他加入中金公司;在其一手打造下,中金公司的固收业务(FICC)在国内市场处于核心领先地位。

2014年6月,朵元“奔私”,出任北京蓝石致远投资有限公司(简称:蓝石致远)。不久后,他参与创立蓝石资产并担任董事长,主管固收交易业务。

企查查信息显示,朵元早在2019年9月就退出了蓝石资产高管名单。而在两年多的时间里,石资产似乎一直“忘了”更新高管备案信息。

考虑到前述案件正是发生在这位资深人士担任“掌门”期间。监管机构是否已经了解到蓝石资产在信息披露方面可能存在的情况?投资者又是否会以未勤勉尽责为由,对蓝石资产发起诉讼呢?

免责声明:本文仅供信息分享,不构成对任何人的任何投资建议。投资者据此操作,风险自担。

责任编辑:刘万里 SF014

加载中...