新浪财经 产经

去年153亿退费,市值蒸发超2000亿!中公教育巨额利润去哪了?

市场资讯 2022.06.28 20:16

来源:新财富

近日,中公教育发布了一份长达63页的问询函回复,其中详细披露了2021年业务数据,尤其是带来巨大风险隐患的协议班收入及其退费规模。结合此前深交所下发的关注函和中公教育的回复,中公教育业绩有多重迷雾。

作为2021年资本市场的重要事件,职教巨头中公教育(002607)业绩爆雷,引发广泛关注甚至质疑。

2021年,中公教育营收69.1亿元,同比减少38.3%,净利润-23.7亿元,同比减少202.8%。

在二级市场上,中公教育近年来股价连续下挫,2021年2月冲高到43.58元每股的峰值区间,总市值超2600亿元,截至2022年6月28日收盘,仅剩5.87元/股,市值362亿,较最高点已蒸发超2000亿元。

今年4月28日发布2021年年报和2022年一季报后,中公教育在6月8日收到深交所关于年报的问询函。近日,中公教育发布了一份长达63页的问询函回复,其中详细披露了2021年业绩爆雷背后的业务数据,尤其是带来巨大风险隐患的协议班收入及其退费规模。

回复函称,2021年中公教育总收款204.3亿元,总退费153亿元;2021年培训人次384.9万人次,退费人次162.1万人次。2021年退费比2020年增加52.88%。

值得注意的是,中公教育出现的很多问题是行业性的,进入2022年,保住利润和现金流成为全行业的共同选择。中公教育的回复函,也披露了一些公职考试培训行业的走向。

01

激烈竞争下增加协议班

2020年疫情暴发,各地公考、事业单位考试等纷纷推迟到下半年,却意外带来了公职考试培训行业的红火。由于各地公务员、事业单位、教师等岗位扩招,也引发了公职考试培训行业的激烈竞争。

中公教育财报显示,2020年营收112亿元,净利润23亿元,均创新高。另一家行业巨头粉笔科技在2020年的培训课程及线上产品的总付费人次则高达960万。

接下来的一年,头部机构争夺师资、争建校区,展开激烈竞争,公司经常成本轰然抬高,让激烈竞争只持续了约一年时间。

协议班是公职考试培训最重要的班型,协议班收费高,但根据笔试、面试是否通过可以协议退费。

回复函写道,2021年为应对市场环境的不利影响和激烈的行业竞争,中公教育“加大了高退费班的推广力度以及增加了学员贷的使用,这些措施的实施一定程度上造成了退费增加”。

2019至2021年,中公教育退费率分别为44.14%、46.54%、68.46%,退费金额分别为74.2亿、100.1亿、153亿元。

采用学员贷模式的退费率更高,根据财务部门统计,2019年至2021年退费率分别为 68.46%、73.06%、82.94%。

这是因为,贷款主要用于学员可退费部分,并且主要针对考试难度较大课程,实际操作中使用贷款学员考试准备不够充分,因此其退费率普遍高于公司整体综合退费率水平。

协议班的单价较高,可以给公司带来大量收入。比如2021年前三季度,超过83%的协议班学员选择了1-5万元价格的班型,还有超过11%的协议班学员选择了5万元以上的班型。

高退费协议班是行业现象。粉笔科技招股书披露,截至2021年9月30日,退款负债达7.75亿元,同期营收只有26.3亿元。

收款减少、退费增加,直接影响公司现金流,在市场看好时,协议班支撑公司营收和学员人数大幅增长,但在市场不明朗的形势下成为不容忽视的风险点。

在5月11日举行的业绩说明会上,中公教育表示,今年一季度高退费比例产品已在持续降低。

中公教育认为,2021年退费率明显上升主要有三点原因:

一是受2020年省考及其他考试大规模延后影响,考试周期区别于往年,其中部分省考的面试工作以及一些岗位的补录调剂工作在2020年四季度尚未全部结束,致使部分退费延至2021年一季度;

二是其推出的协议班高退费班次占比有所上升,在招录人数没有明显增加的情况下,通过率提升难度加大从而导致退费增加;

三是学员贷的使用,扩大了参与培训的生源,提高了整体收费规模,但学员对培训的重视程度不够、考试准备不充分等因素,导致使用贷款的学员通过率明显低于公司正常通过率影响退费增长。

2019年至2021年,贷款模式下退费率分别为68.46%、73.06%、82.94%,高于这三年的整体退费率,分别为44.14%、46.54%、68.46%。

“主要因为理享学贷款模式退费较多影响。由于理享学贷款主要用于学员可退费部分,并且主要针对考试难度较大课程,实际操作中使用理享学贷款学员考试准备不够充分。”中公教育称。

2021年底,中公教育的合同负债余额为30.64亿元,较三季度末增加7.51亿元,主要为预收培训款30.63亿元。

但根据中公教育此前回复,省考、教师等招录一般在当年完成,年底一般不结存大量预收学费。深交所要求其说明年底结余的合理性。

“年末的预收余额中,除了国考、部分省考、学历提升等正在提供服务的考试之外,还包括学员提前缴纳的定金等尚未开始提供服务的部分。”中公教育解释,“同以往年度并不存在差异,不存在考试结束后、满足退费条件且履行完退费程序后,仍未退费或确认收入的情形。”

2021年,中公教育总收款约204.34亿元,总退费约153亿元,培训业务净收款约51.33亿元,培训人次384.9万人次,培训单价5309.02元。该公司称,期内实际累计收到的学费以及累计退回的学费与实际参培人次相匹配。

02

地产投资遇阻

中公教育当下要应对的,还不只是产品策略导致的利润大幅下滑,坎坷的地产投资让公司的现金流更加捉襟见肘。

此前,区别于其他教育公司的一大特征,中公教育在于在各地大兴土木、自建教学基地。自2018年以来,中公教育已在全国主要城市以自建或租赁的方式建设了约10个培训基地。

知情人士解释,这是出于节省成本和适应公考考生备考的特点,且在2018年前后管理层判断,重资产投资在成本分摊、职业技能培训转型等方面更具有长期价值。

这种思路在过去成立,但2021年针对地产行业的严格监管与审批,让中公教育的地产投资命途多舛。

2020年底,中公教育对外公布了两个大动作:一是以30亿元在北京市昌平区拍下一块住宅用地和一块多功能用地;二是定增融资不超过60亿元,拟在北京市怀柔区打造建筑面积为32.6万平方米的学习基地。

按照原计划,昌平项目的总投资额约45亿元,怀柔项目总投资约42亿元。这两处用地分别用于建设研发及培训中心和封闭班培训。

购置昌平土地给中公教育的资金情况带来了不小的压力,如下图所示,2021年以来,中公教育账面上流动性较强的资金大幅减少,而其他非流动资产大幅增加,其中占大头就是以总价30.99亿元购置的北京昌平的土地。

在2021年三季度末,中公教育账上能快速变现的资产(货币资金与交易性金融资产)仅剩23.3亿元,远不足以覆盖48.44亿的短期借款。

或许是出于缓解资金压力的目的,中公教育将昌平住宅地转让给龙湖地产“共同开发”。龙湖地产以5100万元受让北京中公教育未来教育科技有限公司(原中公教育全资子公司,下称北京中公教育未来,昌平项目建设方)51%股权,并提供约13.8亿元用于偿还北京中公教育未来买地时向中公教育的借款。双方约定,住宅项目扣除1.72亿元后的全部收益由归属龙湖地产。

此项交易完成后,中公教育短期内可回笼约14.3亿元现金。

怀柔项目的定增方案也是一波三折。2020年11月,中公教育首次发布定增预案,拟募资不超过60亿元,其中42亿用于建设怀柔基地。直到中公教育两次修改定增方案,将募资总额降至39亿元后,才于2021年6月通过证监会审核。

不过,忙活了一年的定增,最终还是以失败收场。2020年12月初,中公教育发布公告称,将终止定增。

没有融到钱,项目却不能立马中止。据中公教育与代建方“北京建工”的协议,中公教育需要支付1亿元保证金,并在2021年6月30日前向北京建工支付约7.36亿元预付款。若逾期支付预付款,则按年化8%利息支付违约金,若逾期超过30天,则北京建工可单方解除协议,不退还保证金。

目前从披露金额来看,中公教育并未支付预付款,已在按期计算违约金。中公教育公告显示,公司在怀柔基地已投入约1.2亿元,定增终止后,仍在与北京建工等合作方协商后续方案。

前述知情人士透露,这两处地产投资之所以进展不如预期,与2021年起地产行业的强监管密切相关。由于昌平项目包括住宅用地,教育公司难以直接介入,只能转手给龙湖地产。怀柔项目也是因地产政策导致审核时间过长,叠加“双减”效应,最终定增失败。

鉴于中公教育目前的处境,这两个项目仍然前途未卜。

03

仍有多重疑云

结合此前深交所下发的关注函和中公教育的回复,中公教育业绩有多重迷雾。梳理发现,焦点集中在以下三处。

其一,合同负债在2021年二三季度出现大幅下滑。合同负债主要是预收培训费,2019年和2020年三季度末,中公教育的合同负债余额分别为39亿元和76亿元,较当年年初分别增长了20亿元和50亿元。但到了2021年同期,合同负债余额仅余24亿元,较年初下降了27亿元。

剧烈缩水的合同负债让深交所质疑,预收款与营收规模是否匹配。换言之,中公教育是否存在合同负债与收入造假问题。

中公教育的解释在两方面:一是2020年合同负债偏高,不属于常规情况。由于2020年省考延后,到三季度末时仍有大量录用结果未公布,无法确认收入或退费,因此当年的合同负债余额偏高。截至2020年9月,公务员序列尚有31.4万人未提供服务,主要是当年的省考面试学员。

二是与2019年相比,2021年中公教育的外部环境发生较大变化。2021年前三季度教师招录考试的公告数量与2019年同期相比减少了67%,招录人数减少了38%,导致教师序列的预收费下滑。2021年省考提前,许多岗位结果已公布,导致三季度末合同负债较少。此外,协议班的高占比、学员贷引发的退费率增加,也使得2021年三季度合同负债大幅减少。

这个解释不能完全消除疑点。

其二,中公教育过去数年间一直存贷双高。2017年末,中公教育的短期借贷仅为1亿元,但往后三年,短期借贷余额却大幅增长,分别高达16亿元、28.7亿元和40亿元。

与此同时,中公教育的账面资金却十分富足。同期的货币资金、定期存款及理财产品等金额约为47亿元、64亿元和89亿元。即便将全部预收学费退还,即扣除合同负债,仍有28亿元、38亿元和38亿元。

深交所在关注函中质疑中公教育在资金充裕的情况下持续大幅新增债务的合理性。

大存大贷是上市公司业绩异常的常见表现,此前陷入造假争议的牧原股份康美药业等公司均存在类似情况。但大存大贷并不必然意味着造假,还需综合考虑公司的经营情况。

对此,中公教育给出了五点解释:为了应对可能的退费、收款与退费有季节波动、建设培训基地与办公场所、提升对抗疫情等风险的能力,以及应对“双减”政策波及的合规要求。中公教育称,各年度及年末的资金余额真实、银行贷款真实。

不过逐条看中公教育给出的解释,在2017年及以前,公考培训行业就存在季节性波动,但当时中公教育的举债规模还十分有限,疫情与合规成本的风险也仅在2020年以后发生。

在外部环境相对平稳的2018年和2019年,中公教育账面资金加上短期借贷后,即便扣除合同负债,也高达44亿元和66亿元,这两年购置长期资产和投资收购的花费也仅为5.23亿元和7.2亿元。

第三个疑问涉及中公教育的关联交易是否合规。

因涉嫌未合规披露关联交易,中公教育已被证监会立案调查。之前,安徽证监局在向中公教育出具的警示函中称,2019年-2020年,中公教育与关联方北京创晟建筑装饰工程有限公司(下称北京创晟)、上海贝丁网络科技有限公司(下称上海贝丁)、吉安市井开区理享学金融信息服务有限公司(下称吉安理享学金融)、陕西冠诚实业有限公司(下称陕西冠诚)之间存在业务合作,相关金额达到披露标准,但未披露。

另外,深交所也问询了辽宁瀚辉实业有限公司(下称辽宁瀚辉)与中公教育的关联关系,中公教育回复称,需等待证监会调查结果。

从上述疑似关联的公司中可以看出,中公教育涉嫌的关联交易主要有两个方向:土地房产投资建设和理享学贷款。

记者发现,陕西冠城、辽宁瀚辉均与中公教育的房地产购置开发相关(见下表),北京创晟则为中公教育提供装修改造服务。2019年8月,中公教育与北京创晟签订了一份约2.87亿元的装修改造合同。在相关披露中,中公教育表示与这些公司并无关联关系。

但天眼查显示,辽宁瀚辉成立于2019年6月,与辽宁中公教育科技有限公司、沈阳中巨物业管理有限公司等共用同一个企业电话。其中,辽宁中公教育科技有限公司为上市主体孙公司。而沈阳中巨物业管理有限公司为北京汇友致远投资中心(有限合伙)的子公司,后者是上市公司体外公司,由中公教育的高管和核心员工控制。

记者发现,上海贝丁、吉安理享学金融(上海贝丁全资子公司)以及北京创晟,也与多家中公教育系公司共用同一个电话。这些公司与中公教育似乎均存在千丝万缕的关联。

理享学官网显示,上海贝丁是理享学业务的运营主体,中公教育称之为“第三方机构”,从股权关系上看与中公教育不存在直接关联。

但在理享学公开的合作伙伴中,除了银行、信托等金融机构,仅有中公教育一家公司。理享学也已成为中公教育学员贷的主要模式,中公教育来自理享学的学费在预收款占比达到了24%,但在过去年报披露中,中公教育始终未提及理享学的情况。

理享学官方公众号的运营公司为上海国熠金融信息服务有限公司,这家公司由蔡海波100%持股,他同时也在通化中公教育未来科技发展有限公司(下称通化中公教育)担任总经理。通化中公教育是北京中公教育未来的全资子公司。

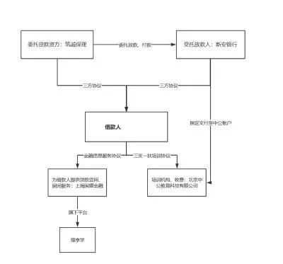
此外,中公教育在回复函中提到的一家理享学合作机构——吉林省筑诚商业保理有限公司(下称吉林筑诚)也值得关注。

记者发现,吉林筑诚主营商业保理,似乎并不具备直接放贷资质,能够成为放贷方,是通过委托银行放贷的方式提供资金(如图所示)。湖南华硕律师事务所叶萍兰律师向《财经》记者解释,这种交易结构本身没有违规,不过能委托银行放贷,公司一般实力雄厚。 

颇为蹊跷的是,吉林筑诚成立于2018年12月29日,由郭继荣和徐晖两个自然人持股,注册资本为2亿元,而实缴资本为0元,看起来没有委托银行放贷的实力。

叶萍兰律师认为,由于注册公司实行认缴制,股东实际出资后可以不备案,因此无法证明公司没有实缴,委托贷款的资金可能来自于股东出资,也可能是股东或他人借款。

此外,记者发现,吉林筑诚与中公教育也可能存在关联关系。郭继荣是吉林筑诚的股东,郭继赋是上海贝丁、吉安理享学金融的法定代表人,二人各持有吉林省清雅建筑装饰材料有限责任公司50%股权。这意味着吉林筑诚与上海贝丁等公司关系密切,鉴于上海贝丁等公司与中公教育的关系,吉林筑诚也疑似与中公教育存在关联关系。

另外,中公教育在外投资的多项房产存在披露不足、披露不清的情况。

比如,中公教育2019年拟在湖南建设总部大楼,当年披露支付2亿元土地整理款后,便再无下文。中公教育在辽宁抚顺也投资了多个物业,其中有一处项目名为“抚顺中公教育大楼”。该项目自2018年起建,预计总投资3.3亿元,截至2021上半年末,完工进度尚不足45%。这项工程为何进度如此缓慢,中公教育在定期报告中也未作说明。

对于上述披露不清的项目,前述中公教育知情人士称,由于东北冻土期较长无法施工,叠加疫情影响,辽宁抚顺项目的工期远远慢于预期。对于湖南总部大楼的情况,则未做说明。

作为公考培训龙头,中公教育如今面临着内忧外患:对内要调整过度依赖协议班、学员贷的产品结构,应对现金流短缺危机;对外则要面对投资者的质疑、配合证监会调查。如果违规操作属实,中公教育将有可能面临中小股东的诉讼索赔,甚至引发学员恐慌、造成退费挤兑。

03

揭示行业性动向

中公教育的回复函还披露了整个行业的一些动向。

首先,动辄数万元的高端课程能否持续?回复函中写道,今年一季度高端学员消费出现较为明显的减少。部分学员对于教育的投入,出现了选择本地价格较低的小型培训机构的趋势,由于去年开始的教育机构大减员,很多离职老师组织成立了较多的零散小机构,对公司的招生带来一定的影响。

但是回复函也称,公司始终处于行业领先地位的核心要素并未发生改变,并未发现其市场占有率明显下滑。

未来,随着高退费产品缩减,高收费课程将回归理性,“天价公考培训班”现象将缓解,但行业的品牌效应不会减弱,各个机构仍需提升服务品质打造品牌,才能在市场中立足。

其次,公职考证培训行业如何维护用户运营?回复函中,年审会计师对学员复购情况进行统计发现,复购5次以上的收款金额占比1.21%。复购多次的原因主要系学员为顺利就业,一年内报多种考试课程;学员同一年内考试未过而继续报第二年课程;学员在促销时多次购买小金额课程;学员补缴培训课程杂费等。

高途创始人陈向东曾对记者表示,与K12教育不同,职业和成人教育业务几乎可以忽略复购率。中公教育1.21%的5次以上复购率佐证了这个观点,这意味着,职业和成人教育将特别强调品牌效应和教学效果,一旦用户体验不足,用户流失后的损失将很难挽回。

第三,职业和成人教育行业能否纯线上化?回复函中,年审会计师对“双师”直播课直播情况进行突击检查,发现出勤率为78.57%。“双师”直播课是一种OMO课程,一名老师负责直播授课(通常为名师),另一名老师在班级现场维持上课秩序,负责学员现场督学。

一般认为,线下模式的出勤率要高于线上,职业和成人教育行业的用户很多需要顾及工作和家庭,线上出勤率往往更低。因此,职业和成人教育机构目前的主流模式为OMO,而非纯线上模式,中公教育的出勤率数据再一次佐证了这个现实。

实践中,公职考证培训行业近年来线上业务比例有所提升。中公教育线上班次收款占比从2019年的16.45%增加至2021年的37.91%。这主要有两个原因:代替线下授课的应对之举;发布线上低价课用以获客。未来,线上线下定位不同、相互补充的OMO模式或将持续。

加载中...