新浪财经 产经

起底锐迈科技:敏华控股修了一条融资通道

乐居财经

关注

文/乐居财经 程孟瑶

A股分拆,家居企业不约而同地瞄准了智能赛道。

近日,敏华控股(01999.HK)发布公告称,正考虑将锐迈科技股份有限公司(简称“锐迈科技”)股份分拆并于A股上市。

此前,海康威视(002415.SZ)分拆出的萤石网络申请科创板上市刚刚过会;时间线拉长,去年美的集团(000333.SZ)也官宣了分拆子公司美智光电科技有限公司至创业板上市。

选择分拆业务上,企业不约而同选择了智能家居业务“开刀”。没有选择科创板,而是直接冲击A股,锐迈科技的业绩比较抗打。

锐迈科技作为敏华控股附属公司,由敏华控股持股81.4062%,主要从事设计、生产及销售优质多功能智能家具部件,包括功能沙发铁架、智能铁架、电机及其他家具硬件。

根据弗若斯特沙利文数据,锐迈科技2021年功能沙发铁架销量排名全球第一,全球市场份额达到22.9%。换言之,锐迈科技是全球最大的铁架供应商。

敏华控股财报也显示,2022财年其智能家具部件业务收入约为22.2亿港元,同比增长约52%,增速非常可观。

有机构称,如果分拆上市顺利完成,敏华控股产业链一体化战略布局优势凸显,敏华控股整体价值有望获得重估。安信证券也指出,拟分拆锐迈科技A股上市,智能家具部件业务有望加速发展,持续看好公司的长期投资价值潜力。

拿下年产15亿“大单”

尽管多方消息称,敏华控股分拆锐迈科技的速度不及预期,但在分拆的初步阶段,敏华控股已经给了锐迈科技一笔大单。

公开报道显示,2021年9月26日,吴江开发区分别与敏华控股、锐迈科技签订合作协议,敏华智能家居中心、锐迈智能化精密机械两个项目落户吴江开发区。

其中敏华智能家居中心项目建筑面积约5万平方米,定位为集客户体验、产品展示、线下销售于一体的高端家居类产品商业展示销售中心。项目总投资预计约8000万美元,注册资本为5000万美元。

锐迈智能化精密机械项目占地147亩,主要生产家居企业配套智能化精密机械伸展装置及配套产品,投资总额约12亿元,项目全面达产后,可实现年产值约15亿元,锐迈科技正是计划以吴江项目为主体在A股主板上市。换言之,拆分锐迈科技上市,至少有一部分原因是为该项目募资。

锐迈科技自2013 年起投建欧系高端铁架厂迈入功能沙发制造领域,2016 年进而成立电机事业部,致力于提供智能家居配套整体解决方案,2019 年成立电动床事业部,加码智能家居生产销售。

经过10余年发展,锐迈科技在全球设立有三个生产制造基地,分别为:吴江一厂、吴江二厂、越南工厂,总占地面积超过15万平方米,全球市场份额达到22.9%,是全球最大的铁架供应商。

除了给母公司敏华控股提供智能家居部件,锐迈科技自身销售收入成绩也不错。2017-2022 财年,锐迈科技智能家居配件全球销售收入由2.93亿港元增长至22.2亿港元,其中2022财年对中国国内、北美、欧洲及其他地区的销售为11.7亿港元、2.6亿港元以及8.0 亿港元,占比为53%、12%、36%。

2022财年敏华控股在中国市场、北美市场、欧洲市场及其他市场分别实现收入131.93亿港元、56.67亿港元、13.74亿港元,同比增长32.3%、23.8%、56.8%。其中沙发、床垫分别实现收入86.28、33.99亿港元,同比增长25.9%、51.2%,收入占比分别为71.7%、28.3%。

搭建员工持股平台

实际上,敏华控股早早就启动智能家居业务的分拆上市筹备工作,锐迈科技的员工持股架构已经基本成型。

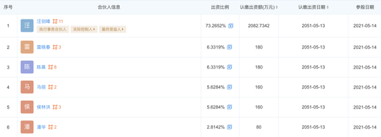
锐迈科技目前由敏华实业持股81.41%,为第一大股东和实际控制人;袁承根持股9.04%,同时为最终受益人;张家界蔚晨企业管理咨询合伙企业(有限合伙)(简称“蔚晨管理”)持股6.17%;共青城博深通投资合伙企业(有限合伙)持股1.35%;刘碧茵持股1.35%;共青城惠通达投资合伙企业(有限合伙)持股0.68%。

在其6大股东名单中,有3家员工持股平台,其中蔚晨管理的大股东为汪剑峰,持股比例约73.27%。另外,蔚晨管理的股东名单中还包括了陈晨、雷晓春、侯林洪、马丽、潘华,而上述6个人此前共同持有张家界嘉晨商贸有限公司(简称“嘉晨商贸”)。

从持股人名单来看,蔚晨管理就是嘉晨商贸的“复刻”版。从时间轴上看,蔚晨管理成立于2021年5月,而嘉晨商贸则于2021年5月撤出锐迈公司,且于2022年5月25日注销。嘉晨商贸此前仅仅对外投资有锐迈公司,持股比例5.47%。

换言之,嘉晨商贸实际上是锐迈科技早期股东之一,蔚晨管理可以理解为敏华实业筹备锐迈公司上市前夕搭建的员工持股平台,而且2021年6月22日,蔚晨管理还通过增资对锐迈公司的持股比例扩大至6.17%,汪剑峰本人的最终受益股份比例也从69.6%上升到73.27%。

黄小卫作为锐迈科技初创时期的董事长,在嘉晨商贸的发起人名单中出现过。回溯锐迈科技的高管变动史,黄小卫曾担纲管理“一把手”将近5年。

锐迈科技前身为锐迈机械科技(吴江)有限公司(简称“锐迈公司”),成立于2011年4月,由敏华实业有限公司(简称“敏华实业”)和上海尔维多商务咨询有限公司共同出资成立,初始注册资本7500万元,公司董事长为黄小卫。

2016年3月,锐迈公司获得第一次增资后,黄小卫退出,企业法人变成汪剑峰,汪剑峰目前为敏华控股高管。后又经过多次增资,以及股权变更,在今年2月15日更名为锐迈科技。

黄小卫目前为麒盛科技(603610.SH)董事,浙江麒盛数据服务有限公司法人,后者由麒盛科技持股85%。

自然人股东中,袁承根为锐迈科技董事长,同时在敏华控股多个关联公司中任职,比如泰州德兰仕家具有限公司、锐迈智能科技(张家港)有限公司等;刘碧茵为广东佳居家具有限公司董事,汪剑峰为该公司董事长兼董事。据悉,该公司由GOLD SANDS INVESTMENT COMPANY LIMITED100%持有,后者为一家注册在香港的私人股份有限公司。

加载中...