新浪财经 产经

另一个“万达”

市场资讯 2022.04.29 08:29

另一个“万达”

文/乐居财经 曾树佳

王健林的大连万达广为人知,但很多人可能不知道,在渤海湾对岸的山东东营,也有一个“万达”。

这家公司全称为万达控股集团有限公司(简称“万达控股”),实控人为尚吉永,主要从事化工、轮胎、电缆和电子等业务,也涉猎地产、物流、贸易等,是一个业务多元、布局海内外的商业帝国。

坊间传说,万达控股沾了很多大连万达的光,有时它还会阴差阳错收到不少大连万达的国外订单。

对于两者之间的微妙联系,尚吉永曾有过回应称,他和老王是好朋友,两家公司也有很好的联系,重名没有什么不好。

在东营街头,时常浮现的“万达”字眼,让人乍一看以为都是王健林的旗下物业,细究之下才知道是尚吉永的投资布局。这一现象,或许也为后者增添了一些流量。

不过,“老王”与“老尚”在业务上并未有过多的交集,两人的创业历程,也颇有不同。

尚吉永从一名普通员工起步,在十多年内逐渐成长为万达控股的掌舵者,并开启变革,扩大投资版图,自称“永远创业,永不守业”。但这股热情也有“碰壁”的时候,近年来公司营收下滑、股权冻结、内部改组的博弈等,都迫使他必须直面挑战。

同名不同“命”

尚吉永的商业帝国,涉足了庞杂的业务线条。

他旗下的万达控股,有31家对外投资公司,其中包括万达集团股份有限公司(简称“万达股份”)、山东万达地产有限公司(简称“山东万达地产”)、山东万达建安股份有限公司、山东宝港国际港务股份有限公司(简称“宝港国际”)等。

万达股份从事化工、轮胎、电缆和电子等产品的研发、生产和销售业务,是万达控股主要的营收平台,也是境内的发债主体;山东万达地产、万达建安、宝港国际等,则开展地产、建安、码头物流、贸易等业务。

相比于那些精细的化工项目,在山东东营街头,随处可见的万达住宅与商业楼,有时候更为人所关注。

数据显示,山东万达地产的总资产达22.1亿元,年开发能力50万平方米以上,主要集中布局于东营本地。近两年,其在售及出租项目,包括财富新城、万达时代广场、万达海港城等;在建项目则有总投资为9.7亿元,建筑面积13.17万平方米的万达蘭园。

隐藏在万达控股业务冰山之下的,还有尚吉永热衷的金融业务。乐居财经查阅获悉,万达控股旗下目前参股了多家乡镇银行、小贷公司。

其持股30%的东营港开发区元丰小额贷款股份有限公司(简称“元丰小贷”)、持股10%的垦利乐安村镇银行、持股5.6%的山东利津农村商业银行、持股5%的东营市垦利区明珠小额贷款股份有限公司等,都是例证。

元丰小贷最受尚吉永看重,它高达4亿元的注册资本体量,是上述几家金融平台中最大的。2016年前后,尚吉永将元丰小贷的经营范围扩至全省,并筹谋着登陆新三板,但此后并无进一步的消息。

除此之外,2017年底,尚吉永还携手山东东明石化、海汇集团、五征集团等,发起设立了山东省内覆盖面最广的民营资本投资集团——山东民营联合投资控股股份有限公司(简称“鲁民投”)。

万达控股持有鲁民投28%股权,尚吉永作为发起人代表,也当选鲁民投第一届董事会董事长。设立至今四年多,鲁民投已拥有15家对外投资公司,涉及股权投资、实业投资、资产管理等诸多方面。

由于万达控股并未上市,外界只能从碎片的财务信息,去了解它的经营情况。

乐居财经查阅获悉,2018至2020年这三年,背着巨大业务体量的万达控股,分别实现营业收入686.22亿元、691.81亿元、556.39亿元。万达股份在其中的业绩贡献占比,均在50%至60%之间。

2020年,在疫情之下,万达股份部分业务受下游需求缩减、价格低迷等因素的影响,业绩呈现出了较大的滑坡,使得母公司万达控股的业绩,也下滑了24.34%。

由此看来,公司主业经营不理想,向来热衷布局多元的尚吉永,或许需要重新权衡。

流动性挑战

业务的广泛布局,少不了资金的整体调度,万达控股便有从旗下主业平台万达股份中抽调资金,输血他处的举动。

截至2021年3月末,万达控股从万达股份取得的借款余额,仍有32.87亿元,较大规模的股东借款占用后者的营运资金,且偿还进度缓慢。

2020年以来,万达股份新建45万吨/年丙烷脱氢项目,总投资额20亿元,资金主要来自自有资金和银行贷款。此类项目,本身已占据万达股份较大的流动性,这种情况下还要经受控股股东“抽血”,确实有一定的压力。

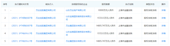
此外,万达控股因涉及一项债务纠纷,目前已导致包括万达股份在内的多家子公司,股权被冻结,这也是其一项较大的经营风险。

此前,万达控股全资子公司鸿泰能源(新加坡)有限公司(简称“鸿泰能源”)与麦格理银行、联昌国际银行新加坡分行存在债务纠纷。

因该债务纠纷由万达控股提供保证担保,上述银行为快速实现债权,便对万达控股提起诉讼,上海市金融法院按照申请,冻结了后者所持有宝港国际、山东兴达新能源有限公司(简称“兴达新能源”)、万达股份、山东万达地产的股权,冻结期限为2021年4月至2024年4月。

眼下,除了兴达新能源的股权已解除冻结之外,其余三项均未解冻。据乐居财经测算,这三项股权冻结共涉及数额,达4.05亿元。

尽管万达控股已与麦格理银行、联昌国际银行新加坡分行,进行了多次协调并制定了还款方案,但至今尚未有还款协议签署的消息,因此存在一定的不确定性。

尚吉永曾对民企的经营有过一番论述:“我觉得民营企业要追求质量效益,什么叫最健康?就是每年都要增加销售收入和利润,增加正的现金流。所以最近几年万达集团提出了,不做最大的企业,做最健康的企业。”

但事与愿违, 2018至2020年,万达控股的经营活动净现金流,分别为38.07亿元、21.76亿元、17.42亿元,不断缩减。这也表明其自身的“造血”能力,在近些年有着明显下滑的趋势。

谁的万达?

据说,尚吉永原本只是东营市垦利县胜坨安装公司的一名会计。胜坨公司捕捉到八九十年代油田结构调整、管道更新的机遇,承包了众多油管改造和土建工程,获得了企业发展的最初积累,后更名为万达实业公司。

此后,万达实业公司改组为中国万达集团,尚吉永先是在其中担任总经理,2005年又出任集团主席。与此同时,他对公司展开了一轮堪称洗牌的管理变革,意在形成“管人、管财、管战略”集分权相结合的新型管控模式。

那时候,尚吉永在一个月时间内,将27个分公司整合为5个专业化公司,同时有30多名中层副职以上领导干部被分流,200多名后勤人员被调整充实到生产建设一线。

通过产业重组,万达集团形成了以轮胎产业为龙头,以机电、化工产业为轴心,以地产、建安产业为两翼的发展格局,为企业后来的进一步发展奠定了基础。但这期间的人员动荡,在所难免。

多年后,尚吉永曾在回忆这次变革时说到:“民企发展之初亲情文化起到了很好的支撑作用,但到了一定时期亲情文化就很窄众了,这个问题不解决,企业就得走下坡路,企业想原地踏步走都不行。”

他在言语之中,道出了此前清理公司内部“裙带关系”的势在必行。

外界并不能直观了解17年前的那场大刀阔斧的变动,但从万达控股的变更信息中,便能窥探其中的蛛丝马迹。2005年4月,巴洪斌突然退任万达控股董事长兼总经理,由尚吉永继任,并接下了万达控股部分股权。此后,其他人员也常有变更。

目前,万达控股由尚吉永直接持股40.68%,为第一大股东;此外,孙增武持股7.52%,巴洪杰、巴树山、巴玉剑分别持股1.82%、1.57%、1.13%,而尚建立、巴银华、王振卿、巴洪社的直接持股比例,则在1%以下。

除了11位自然人股东之外,东营宝达股权投资中心(有限合伙)(简称“东营宝达”)、东营宝瑞股权投资中心(有限合伙)(简称“东营宝瑞”)也位于万达控股的股东行列,分别持有后者32.03%、13.04%股权。

东营宝达、东营宝瑞均于2018年10月才设立,两者无其他对外投资公司,分别有38位、49位自然人股东。它们这种清一色的合伙人格局,看起来更像是万达内部的两个股权激励平台。

诸如周国民、孙善田、尚卫华、张继敏、张瑞国等一系列名字,都是公司前期就常见的成员,这或许表明尚吉永在主导公司变革的同时,也在构建激励机制,奖赏老臣,平衡各方的利益需求。

淘汰那些昔日与自己一起打江山的伙伴,感情的不忍和理性的必然,曾让尚吉永陷入两难的境地,但后来他也保留了一些“亲情文化”。这家由乡镇企业改制出来的公司,至今仍聚集着类似“巴”姓、“尚”姓等员工,不得不让人对其中的利益博弈,浮想联翩。

 

责任编辑:梁斌 SF055

加载中...