新浪财经 产经

坐拥706个商标的少林寺商业版图:除了买地,还在卖药卖衣搞网游

上游新闻

关注

郑州土地市场迎来了新买家。4月6日上午,郑州以挂牌方式出让了郑东新区一宗商业、商务用地,河南铁嵩数字科技有限公司(下称“铁嵩科技”)以底价4.52亿元竞得。该宗地面积约3.82万平方米,土地用途为零售商业、批发市场、餐饮、旅馆用地、商务金融用地,规划容积率小于1.5,建筑密度小于40%,建筑高度小于24米。

并非少林第一次接触房地产

吸引市场关注的是摘牌企业铁嵩科技。天眼查信息显示,铁嵩科技成立于022年3月22日,注册资本为4.52亿元,经营范围包括数字文化创意软件开发、营业性演出、园区管理服务、住房租赁、房地产开发经营等。铁嵩科技的两大股东为河南铁投综合开发有限公司和河南沅翰实业有限公司(下称“沅翰实业”),持股比例分别为51%、49%。其中,沅翰实业最终受益人为目前河南嵩山少林寺方丈释永信。从股权路径看,释永信持有河南少林无形资产管理有限公司(下称“少林无形资管”)80%股权,后者持有沅翰实业70%股权。少林寺官网信息显示,释永信1965年生于皖北,1981年(16岁)出家到少林寺,1987年接任少林寺管委会主任,1999年担任少林寺方丈。

媒体注意到,此次并非少林寺首次沾边房地产,早在2015年2月,“少林寺将在澳洲建四星酒店和高尔夫球场”等消息引爆国内外网络媒体。

近年,少林寺的商业活动和商业版图屡屡被公众关注。

早在1997年,释永信就带领少林寺成立河南少林寺实业发展有限公司,之后,少林开始不断扩大自己的商业版图。经过多年的发展,少林寺的业务横跨文化、餐饮、药品、服饰等多个领域,并且频频注册公司和商标,参与商业活动,积极开展海外扩张,少林寺的“商业版图”已经初具雏形。

其中,少林无形资管为少林寺的重要资产之一,也是少林寺商业化运作的重要平台。天眼查App显示,河南少林无形资产管理有限公司成立于2008年12月,注册资本100万人民币,法定代表人为释永福,经营范围含文化艺术交流、武术交流;文化演出及经纪服务;少林及少林寺自有无形资产的管理;旅游资源及产品的开发等。其股东包括释永信、释永乾、中国嵩山少林寺,分别持股80%、10%、10%。

自2008年成立以来,少林无形资管先后投资了16家公司,最大单笔投资金额达1600万元,总额近8000万元,范围涵盖茶叶、文化、旅游等领域。

目前,少林无形资管投资的公司中仍然存续的有7家,8家被注销,1家被吊销,被吊销的企业为2014年成立的少林中矅文化产业发展有限公司,经营范围包括文化产业投资、文化设施建设与项目引进、房地产开发等。

天眼查信息显示,释永信关联社会组织或企业共14家,其中存续状态的有7家,除持股少林无形资产外,他还任河南省佛教协会、郑州市佛教协会、郑州市开元寺建设管理有限公司等法定代表人,同时任郑州市开元寺建设管理公司执行董事兼总经理。

少林寺申请商标已达706个

“天下第一名刹”的商业化运作十分娴熟,除了对外直接投资控股,还包括通过注册公司和商标,发展“功夫”经济;在淘宝开店、售卖修禅练功用品及迎合年轻人的创意物品,以及对其他寺庙进行托管等。

在传统文化领域方面,少林无形资管除了对少林及少林寺自有无形资产进行管理外,该公司业务还包括文化艺术交流、武术交流,文化演出及经纪服务,旅游资源及产品的开发,货物和技术的进出口业务等,其中有专注少林文创的少林文化传播中心、少林武僧团,还有专门售卖相关书籍的少林书、药局、少林欢喜地、《禅露》杂志社、少林香堂等数家公司和资产。

除了这些传统意义上的生意,少林寺还曾通过授权少林相关网络游戏、与第三方公司合作开发少林音乐、为联通号码开光并拍卖号码等方式拓展收入来源,这些尝试颇为前卫。

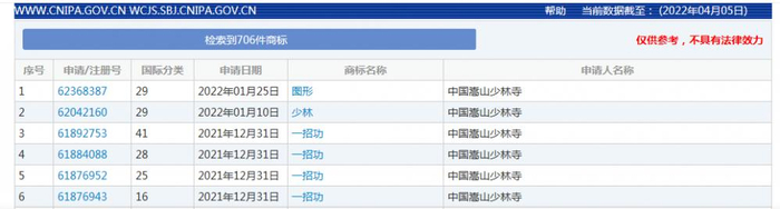
2020年9月,少林寺发布声明,否认和国货品牌“森马”有任何跨界合作,更以侵权为由,要求其下架所有标注“少林”二字的商品。这时人们也才惊奇地发现,根据国家知识产权商标局中国商标网的数据,截至2022年,中国嵩山少林寺申请的商标已经达到706个,包括方便食品、灯具、餐饮住宿、饲料、珠宝、饮料、洁具等等。

加载中...