受困江苏,疫情影响23间机构暂停营业,真假牙博士让人傻傻分不清
界面新闻
IPO雷达|受困江苏,疫情影响23间机构暂停营业,真假牙博士让人傻傻分不清
记者|张乔遇
继瑞尔集团(06639.HK)破发后,牙博士(全称:牙博士医疗控股集团股份有限公司)向港交所递交了招股书。
2019年至2021年,牙博士收入分别为8.7亿元、8.4亿元和10.7亿元;净利润分别为1611.0万元、2768.4万元和1.20亿元,各期对应毛利率高达53.8%、55.5%以及54.6%。
上市前,牙博士还面临诸多问题,包括牙医数量较少、工作经验较短,以及大额营销开支,受困于江苏等。此外,界面新闻记者注意到,全国不同主体均对带有“牙博士”的商标进行申请,未来牙博士能否守住自己的品牌值得考究。
牙医短缺,接诊人数较少
与口腔医疗服务需求的不断增长一致,中国牙科毕业生人数由2015年的23800人增至2019年的35800人,年复合增长率约为10.8%。根据灼识咨询报告,2019年,中国牙科医生人数为24.5万人,较上年增加超过28000名牙科医生。
然而,注册牙医总数仍低于公立及民营口腔医疗服务机构的需求,导致市场参与者激烈竞争合资格牙医。2020年,中国每百万人中的牙医人数为175人,远低于其他发达国家或中等发达国家的水平。
如2020年,欧洲发达国家或中等发达国家每百万人中的牙医人数约为810人,而美国每百万人中的牙医人数约为608人。2020年,发展中国家巴西每百万人中的牙医人数已达到1200人。
业内人士对界面新闻记者表示:一方面,数字化发展之下,厂家将方案设计好了,对于医生技术的要求实际上在不断下降,但相关部门对于口腔医生、护士有一定资质的要求。另一方面,无论公立医院还是私立医院,主体还是口腔医生,目前我国口腔医生的数量严重不足。
截至最后实际可行日期,牙博士的专业医疗团队主要由401名牙医组成,近十年累计服务近1百万名患者,累计就诊人次超逾500万,其中接受正畸治疗的患者总数超过5.2万人及累计完成近8.4万例种植牙手术。公司牙医的平均工作经验为5.8年,当中近19.0%的牙医拥有10年以上工作经验。
公司同行业竞争对手瑞尔集团的数据显示,截至2021年9月30日,瑞尔集团在中国15个一二线城市拥有7家口腔医院及104家口腔诊所,882名全职牙医,牙医团队取得资格后平均拥有10.2年的行业经验,在过去10年间接诊近7.4百万人次。截至2021年9月30日,瑞尔集团超过50.7%的全职牙医拥有硕士或以上学位。
从牙医的利用平均业绩上看,瑞尔集团截至2021年9月30日每名牙医的平均创造收入为95.8万元,而牙博士表示公司2020年每名牙医的平均创收为240万元。
可以看到,牙博士的牙医在数量、平均工作年限、接诊人次以及近十年累计服务患者数量上还与瑞尔集团存在或大或小的差异。
另从留存率看,两家公司统计方法有所区别。截至2021年牙博士中级(学历为硕士)、高级牙医(学历为博士)的留存率为75%,初级牙医(硕士以下)的留存率为64.8%。瑞尔集团截至2021年9月30日,具有三年以下工作经验的牙医留存率为77.6%,具有三年或三年以上的工作经验的牙医的留存率为95.8%。
依靠营销,高管薪酬2年翻一倍
成立以来,牙博士的收入主要来自向全年龄段群组客户提供完整的口腔服务解决方案,涵盖种植服务、正畸服务和综合口腔服务。2019年至2021年,牙博士收入分别为8.7亿元、8.4亿元和10.7亿元;净利润分别为1611.0万元、2768.4万元和1.20亿元,各期对应毛利率高达53.8%、55.5%以及54.6%。
需要指出的是,2019年至2021年,牙博士在销售及分销上的支出分别为3.00亿元、2.43亿元和2.93亿元,占总收入比分别34.4%、29.1%和27.3%。同期通策医疗(SH600763)销售费用率占比不足1%。
而瑞尔集团2019年3月31日止12个月至2021年3月31日止12个月的销售及经销开支占比分别为9.8%、7.7%和5.2%。截至2021年9月30日止的6个月,瑞尔集团销售及经销支出3837.7万元,占收入的比重为4.6%。
对比之下,牙博士的销售费用占比较高。其中又主要以广告及营销开支、销售人员开支为主,2019年至2021年这两项合计占销售费用的比例在80%-90%区间内。
另一方面,是公司高管薪酬的暴涨。
陈国峰和刘明非二人于2010年11月创办牙博士,此前2004年9月至2010年10月二人均任职于吴江盛泽东方门诊部经理与执行董事。此外刘明非还曾任苏州优牙医疗器械有限公司的董事,该公司已于2017年停业解散。
截至招股书发行前,陈国锋与刘明非系公司控股股东,并签订了一致行动协议。此外,南通招商持股3.77%,宁波励鼎持股2.37%,苏州齿美持股2.07%,顺天仁达持股1.68%,光华鼎业持股1.50%,中新创投持股1.13%,苏州尚齿持股1.12%,顺天华盈持股0.69%。
据牙博士招股书披露,2019年牙博士执行董事与最高行政人员陈国峰、游宗明分别领薪46.7万元。至2021年,公司执行董事及最高行政人员陈国峰、游宗明、范世锋以及刘明非从公司领取薪酬均在92万元之上,相较于2019年涨了近一倍。
图片来源:招股书
发展或受困江苏,疫情下23家机构停业
据知情人士透露,目前我国的几类诊所包括莆田系诊所,主要依靠广告宣传、单店或小连锁,主要依靠专家引流,还有高质量的口腔医疗和服务机构,主要依靠品牌和口碑,发展过程中相互借鉴,但或受困于南北生活习惯和文化差异、基本上口腔连锁都是地区连锁,很难做到全国连锁。
2012年牙博士在苏州开设首间口腔服务机构,截至最后实际可行日期,牙博士在华东地区拥有31家口腔服务机构,涵盖苏州、南京、上海及温州等华东地区的主要城市。其中19家牙博士位于苏州,占公司全部口腔机构的六成。另台州有3家、上海、温州、南京和嘉兴各2家,无锡1家,整体布局仍困于苏州。
图片来源:招股书
从收入看,按照地区牙博士来自江苏省收入占总收入的比重均在75%以上。公司表示未来将扩大江苏省、浙江省及上海生的业务,并计划2023年在苏州市设立苏州总部医院
另一方面,疫情影响之下,牙博士在苏州的19间口腔服务机构自2022年2月中起暂停营业,在南京及温州的4间口腔服务机构则自2022年3月中起暂停营业。
据招股书披露,3月初至3月中,在上述位于苏州的19间口腔服务机构中,15间口腔服务机构暂时恢复营业5至13天,并自2022年3月16日起再次停业。截至最后实际可行日期,温州的两家口腔服务机构已恢复营业。
真假牙博士,商标同质化
界面新闻记者注意到,全国各地均有牙博士口腔医院,似乎与公司披露不符。对此,界面新闻记者致电了河北省保定市一家牙博士口腔医院以及苏州牙博士口腔连锁,对方均表示:不是一家。
然而,在青岛、陕西、天津等地方均能看到牙博士的相关身影。
图片来源:公开资料
图片来源:公开资料
界面新闻记者从中国商标网获悉,截至申请人为牙博士医疗控股集团股份有限公司申请的商标大约95件,名称包括牙博士、牙博士口腔、优牙、牙博士儿童青少年口腔等。
图片来源:中国商标网
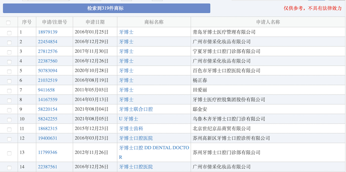
针对牙博士的商标单独检索则大约能检索到319件商标,全国各地存在不同的申请人对该商标进行申请。
图片来源:中国商标网
对此,牙博士在招股书中表示:截至最后实际可行日期,公司有75项商标以及8项待批准商标申请。公司的商标或商品名曾经或可能会不时受到质疑、侵犯、规避或被宣布为通用类或被裁定侵犯其他商标。并可能无法保护该等商标及商品名,因此公司必须在其有意向的市场的潜在合作伙伴或客户之间建立知名度。
有时,竞争对手或其他第三方可能采用与我们相似的商品名或商标,从而妨碍公司建立品牌标识的能力并可能导致市场混乱。目前来看,牙博士似乎也没有好的应对办法。