新浪财经 产经

一汽丰田“致真至极”迎大考:卡罗拉受变速箱低速顿挫、异响“缠身”

中国网

关注
【315报道】一汽丰田“致真至极”迎大考:卡罗拉受变速箱低速顿挫、异响“缠身”

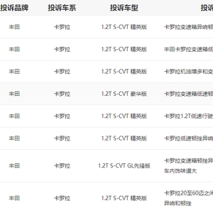
中国网汽车3月9日讯 (记者 李池)卡罗拉作为丰田旗下一款全球战略车型,自发布56年来全球累计销量超5000万辆。在国内市场,卡罗拉也已累计销售450万辆, 成为一汽丰田的绝对销售主力车型。不过,2022年以来,中国网车质量投诉平台(我要投诉:http://315.auto.china.com.cn/)接到了多起关于2021款一汽丰田卡罗拉车型的投诉案例,其最常见问题表现在CVT变速器顿挫及异响上,集中爆发于搭载1.2T涡轮增压发动机的卡罗拉车型。

卡罗拉受变速箱低速顿挫、异响“缠身” 一汽丰田应对投诉差强人意

2021款一汽丰田卡罗拉1.2T S-CVT精英版车型的车主潘先生表示:CVT变速箱低速的时候出现了非常严重的顿挫,去年6月份买的新车,正常开的时候没有问题,低速时顿挫却很厉害,或者是减速再加速的时候,顿挫也很严重,4s店竟说是通病,提议如果有问题可能还需要更换变速箱。

而在2021年,一位唐山的2021款卡罗拉车主周先生则描述道:“厂家告诉我(低速顿挫)是正常的情况,说是变速箱齿轮热胀后有齿轮间隙,他们还说所有CVT车型都有这个问题,但我开过的很多CVT车型没有这个声音。车内音响不是特别大的时候,都能听见变速箱齿轮撞击的声音,在车里用手机录音都能录上。一般在20-30的中低速加油、收油的时候,就能听到这个异响,并伴有明显的顿挫感。如果这个声音在可接受范围之内,我可能就不会这么找他们了。特别是在小区里行驶时,这个车就是不停的咯噔咯噔……,就跟开拖拉机一样。”

中国网记者在查询国内各大投诉平台和论坛后发现,卡罗拉车型的CVT变速箱异响和顿挫现象也是车主们反映比较强烈的问题。2022年2月17日至今,中国网汽车旗下《小马说车》栏目也在持续追踪卡罗拉的变速箱顿挫、异响问题。《小马说车》尝试在4S店、一汽丰田400官方客服以及车主三方之间进行调解,以寻找最好的解决办法,但最终无果。和车主得到的答复一样,厂家坚称车辆质量没有问题。

相较于长安福特、长城欧拉等车企的高回复率、高结案率表现,一汽丰田在中国网汽车质量投诉平台上的数据并不“好看”。最新数据显示,平台收到有关一汽丰田2月份的投诉量为10宗,回复量4宗,回复率40%。结案率方面的表现就更差强人意了,一汽丰田2月投诉量为10宗,在平台上的结案数为“0”。

卡罗拉接二连三进行大量召回 前景不容乐观

最新数据显示,卡罗拉2022年1月份销售量为12564辆。尽管单月过万的数字并不算差,但同比下滑高达65%,环比去年12月的3万台月销量下降幅度同样惊人。纵观2021年全年,卡罗拉销售318303辆,月均销量超2.6万辆。然而,在传统的销售旺季, 卡罗拉去年8、9月份销量均只有1万多辆,销售急转直下。

国内车市虽依旧受到了新冠疫情和缺芯的影响,但卡罗拉销量的下滑或与其本身产品力表现更为息息相关。2021年6月,一汽丰田发布了超19.19万辆卡罗拉车型的召回。因车辆高压燃油泵部分构成件未充分压紧,在使用过程中高压燃油泵内部可能会发生异常磨损,高压燃油泵焊接处可能会产生疲劳裂纹,存在燃油渗出的可能。紧接着到7月份,一汽丰丰田又召回了 11.65万辆卡罗拉双擎车型,因车辆搭载的自适应巡航系统的制动控制电脑程序不完善,在部分车速范围内系统执行轻微制动时制动灯不点亮,极端情况下可能造成后车追尾。再到今年1月份,162301辆一汽丰田卡罗拉因发动机点火线圈制造问题而被召回,极端的情况下可能导致行驶过程中熄火。

有业内认识分析称,汽车召回确实反映了车企对产品缺陷的负责态度,但过于频繁的召回无疑也暴露出卡罗拉在品控方面的不足。梳理中国网汽车质量投诉平台的投诉数据,卡罗拉的投诉案例占一汽丰田总投诉量的40%左右,投诉问题主要集中在异响、变速器顿挫等方面。

与此同时,在中国网汽车质量投诉平台上,一汽丰田2019款亚洲龙2.0L燃油版也被爆出“发动机连续无故熄火、故障灯亮起”的故障。而更早时候,一汽丰田亚洲龙则被异响以及 “机油增多”等问题缠身。实际上,自2019年上市后不久,亚洲龙就频繁出现天窗异响、车内异响、中控异响等问题,也引发了大量车主的投诉。同时,冬季双擎车型 “机油增多”的问题,更引发外界强烈关注。主要是因为发动机反复在冬季无法充分暖机的状态下使用时,发动机内少量的结露水不能蒸发,且混入到发动机机油里,使得发动机无法获得充分润滑,由此引发了车主们对发动机使用寿命的担忧,纷纷要求丰田为双擎车辆发动机提供延长质保年限服务,但最终并未予以采纳。

丰田自入华以来,其产品凭借着高可靠性在国内积累了不错的口碑,“开不坏的丰田”美称也由此传开。2018年,一汽丰田发布了“致真至极”的全新品牌口号,其中“极”代表着一汽丰田在生产品质上极致精工、完美无缺。不过,一系列的问题投诉,或将让一汽丰田“致真至极”品质光环面临真正考验。

加载中...