新浪财经 产经

天马(安徽)国药“蜜款冬花”、“马勃”抽检不合格被罚33万元

中国网

关注

原标题:天马(安徽)国药“蜜款冬花”、“马勃”抽检不合格被罚33万元

中国网财经3月1日讯(记者 苏萌)日前,安徽省药监局更新两则关于天马(安徽)国药科技股份有限公司的行政处罚信息。

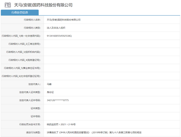
处罚决定书文号为皖药监药罚﹝2021﹞2-96号显示,2021年11月9日,接安徽省药品监督管理局《关于不合格药品检验报告的函》(药监综便函〔2021〕444号),镇江市食品药品监督检验中心不合格报告书(报告书编号:ZJ2021YC1005),检品名称:蜜款冬花(批号:210301),生产单位:天马(安徽)国药科技股份有限公司、检验结果:【检查】杂质项不符合规定(标准规定:应不得过3%,检验结果:32%)。

通报称,天马(安徽)国药科技股份有限公司的上述行为违反了《中华人民共和国药品管理法》(2019年修订)第九十八条第一款、第三款第七项的规定。依据相关法律规定,被没收暂停销售的不合格蜜款冬花(批号:210301)11kg;2.没收违法所得叁佰贰拾贰元(322.00元);2.处违法生产、销售药品货值金额捌佰零伍元(805.00元)(货值金额不足十万的按十万计)2.5倍的罚款计贰拾伍万元(250000.00元);罚没款共计贰拾伍万零叁佰贰拾贰元(250322.00元)。

处罚决定书文号为皖药监药罚﹝2021﹞2-104号显示,2021年11月16日,接安徽省药品监督管理局《关于转办不合格药品检验报告的函》(药监综便函﹝2021﹞461号),镇江市食品药品监督检验中心出具的不合格报告书(报告书编号:ZJ2021YC1009),检品名称:马勃(批号:180301),生产单位:天马(安徽)国药科技股份有限公司,检验结果:【检查】总灰分(标准规定:应不得过15.0%,检验结果:36.5%)、酸不溶性灰分(标准规定:应不得过10.0%,检验结果:29.6%)项不符合规定。

通报称,天马(安徽)国药科技股份有限公司的上述行为违反了《中华人民共和国药品管理法》(2015修正本)第四十九条第一款、第三款第六项、第八十一条的规定。依据相关法律规定,被没收违法所得三佰柒拾捌元(378.00元);处违法生产、销售药品货值金额3倍的罚款计壹仟壹佰叁拾肆元整(1134.00元);出借《药品许可证》罚款捌万元整(80000.00元);罚没款共计捌万壹仟壹佰叁拾肆元整(81134.00元);没收暂停销售的中药饮片马勃(批号:180301)1kg。

资料显示,天马(安徽)国药科技股份有限公司成立于2010年5月17日,隶属于安徽斯力泰集团,是一家专门从事中药饮片生产加工销售、参茸贵细、克装系列中药饮片、保健品、药食两用植物代用茶、中药材中药饮片全国连锁加盟、养生弱碱水全国连锁加盟和保健品、OEM贴牌生产等为一体的现代化高新技术企业,于2019年8月26日在新三板挂牌。马峰持股76.27%,为公司法定代表人、董事长。

值得注意的是,去年该公司刚因两款产品不合格被罚,其中,2021年9月23日,因产品北沙参的【性状】【杂质】【炮制】项不符合规定被罚没182960.00元;2021年9月10日,因产品黑豆的【检查】水分项不符合规定被罚没6048.00元。

加载中...