新浪财经 产经

大众车主集体维权:全款买车却莫名背上贷款 涉案金额达数千万元

中国消费者报

关注

大众车主集体维权:全款买车却莫名背上贷款,涉案金额达数千万元

陈梓庆

全款买车却背上了贷款,数百位大众车主正在为自己的征信发愁。

近日,多位一汽-大众车主向《消费者报道》反映,称他们在江苏南通的一家官方4S店全款购车,事后竟然发现自己向大众汽车金融公司贷了一笔款项,而自己从未收到这笔贷款,贷款被4S店挪作他用。

目前,据车主们反映,涉事4S店已经人去楼空,只帮少数车主偿还了贷款,仍然有大量车主处于负债状态,部分车主的征信甚至因此遭遇负面影响。

这样的“套路贷”,究竟如何实施?车主又应该如何维权?涉事4S店和大众方面需要承担哪些法律责任?为此,《消费者报道》进行了采访调查。

全款买车却莫名背上贷款

“我明明是全款买车的,不知道怎么会多了一笔6万元的贷款。”刘先生不解地说道。

去年10月底,刘先生在一家一汽-大众官方4S店——南通鑫湖汽车贸易服务有限公司(以下简称南通鑫湖4S店),以全款的形式购买了一辆速腾汽车。

“买车的时候,销售人员说有一个购车补贴活动,完成车辆上牌后1个月内会返还5000元。”面对这样的优惠活动,刘先生签订了购车合同。

▲刘先生的购车合同

据刘先生回忆,关于购车补贴,销售人员表示需要“签一些文件帮忙走个流程”。“当时的确是拿了一些文件给我们签名,销售人员也没有提醒我们要详细看一下文件内容,还有一个是在平板电脑上的空白处直接签字。”

在刘先生看来,这可能只是为了获得购车补贴而要填写的常规文件。不料,刘先生自此走上维权之路。

“我后来收到了要偿还贷款的通知,才知道自己背上了贷款。”刘先生表示,自己收到了来自“大众金融”的短信,告知自己在今年10月27日之前,要偿还一笔6万元的贷款。

▲刘先生收到大众金融的还款提醒

随后,刘先生向大众金融方面获得了贷款合同等文件,发现自己确实从大众金融方面贷款了6万元。“我是全款买车的,购车的整个过程销售人员从来没有提到‘贷款’这两个字,我也没有在任何贷款和抵押协议上面签过字,我怀疑贷款合同上的签名是当时在平板电脑上留下的。”

刘先生表示,自己从来没有收到过这笔贷款。“南通鑫湖4S店不仅收了我们全款购车的钱,还用我们的信息办了贷款,多收了一份贷款的钱,车主还要偿还这笔贷款。”

全款购车却遭遇“套路贷”,刘先生倍感无奈。刘先生表示,自己至今仍未获得南通鑫湖4S店宣传的所谓补贴返现。然而,刘先生的遭遇还只是这个骗局的冰山一角。

约500人遇套路贷,涉案金额或达数千万元

刘先生表示,与他有类似遭遇的,还有接近500人左右。其中有车主反映,南通鑫湖4S店的销售人员均是以“购车补贴”“置换补贴”等话术,诱导消费者购车并在相关文件上签字,而大部分车主并未收到所谓的“补贴”。

为此,《消费者报道》对部分受害车主的情况进行了详细的数据统计,得到有效数据188份,详情如下——

购车时间方面,188位车主中,有近97%的车主是在2020年购车。其中,购车时间在2020年4月至6月的占比最高,达37.8%,还有30.3%的车主是在去年7至9月购车。

▲制图:消费者报道

受害车主“被贷款”金额方面,贷款金额在5至7万元的人数达103人,占比近55%,金额在7至10万元的占比达到23.4%,金额在10万元以上的人数占比也达到20.7%。

▲制图:消费者报道

面对这笔莫名的购车贷款,90.4%的车主表示“4S店未全款偿还”,还有2.7%的车主已经自己偿还贷款并因此遭受不必要的经济损失。

▲制图:消费者报道

贷款逾期情况方面,已逾期人数占比近63%,逾期一个月以上三个月以内的车主人数占比为18.1%。

▲制图:消费者报道

因关于是否因贷款逾期而对征信和使用其他金融负面带来负面影响方面,74.5%的车主选择了“是”。

▲制图:消费者报道

从上述数据保守估计,如果平均“被贷款”金额为5万元,那么涉案金额就已经达到2500万元。

目前,在当地监管部门的介入和督促下,南通鑫湖4S店已经开始了偿还贷款的工作。不过,与购车时的积极态度相比,南通鑫湖4S店的还款速度显得缓慢,每天只有2名左右的消费者的贷款问题得到解决。

刘先生提供的数据显示,截至7月20日,只有37名车主得到南通鑫湖4S店的偿还贷款处理,而这37位车主中,还有部分人的贷款未得到南通鑫湖4S店方面的全额还款处理。

涉事4S店究竟有无还款能力?

作为得到一汽-大众授权的官方经销商,南通鑫湖4S店为何要这样牟利?

有车主质疑,南通鑫湖4S店可能经营状况不佳,所以用此手段敛财。“去年11月,我就发现南通鑫湖4S店没卖车了。到了今年情况更加严重,直接人去楼空了。”刘先生说道。

不过,在7月21日,《消费者报道》在一汽-大众的官方网站,仍然可以查询到南通鑫湖4S店作为官方经销商的相关信息。

▲南通鑫湖4S店已经人去楼空

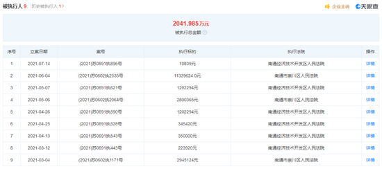
天眼查数据显示,南通鑫湖4S店在今年5月被法院列为限制高消费企业。从今年3月至7月仅仅四个月的时间里,南通鑫湖4S店9次成为被执行人,被执行总标的超过2041万元。此外,南通鑫湖4S店还总共欠税超过792万元。

▲南通鑫湖4S店成为限制高消费企业、多次成为被执行人(截图自天眼查)

而南通鑫湖4S店的最大股东——涌鑫汽车集团有限公司(以下简称涌鑫集团),经营状况同样不如人意。天眼查数据显示,今年4月,涌鑫集团成为最高人民法院公示的失信公司。从去年12月开始,涌鑫集团6次成为被执行人,被执行总标的超过2.56亿元。

▲涌鑫集团成为限制高消费企业、多次成为被执行人(截图自天眼查)

为此,《消费者报道》多次拨打涌鑫集团和南通鑫湖4S店的联系电话,不过均无人接听。7月21日,南通鑫湖4S店一位参与处理此次维权事件的相关负责人向《消费者报道》表示:“目前已经在陆续为车主开展帮助偿还贷款的工作,进度一切正常。”而关于帮所有车主完成贷款偿还的具体时间节点等问题,该负责人并未作出回应。

一汽-大众和大众官方金融是否助纣为虐?

据车主们反映,他们“被贷款”项目的提供方,均是大众汽车金融(中国)有限公司。在大众汽车金融(中国)有限公司的官方网站可以看到,该公司为一汽大众、奥迪、上汽大众、斯柯达、捷达等大众系汽车产品提供购车贷款服务。

天眼查数据显示,大众汽车金融(中国)有限公司成立于2004年,由大众汽车金融服务股份公司100%持股,经营范围包括提供购车贷款业务、接受汽车经销商采购车辆贷款保证金和承租人汽车租赁保证金等,是大众汽车在中国的官方金融产品提供方。

《消费者报道》以普通消费者的身份咨询了广州的几家大众品牌4S店,对方表示如果选择贷款买车,客户可以享受来自大众官方金融,即大众汽车金融(中国)有限公司和其他金融机构的购车贷款服务。“我们可以帮客户办理由大众官方金融公司提供的贷款产品,具体情况客户需要到店咨询实际的购车价格、首付比例、利率等才能得知。”

▲南通鑫湖4S店被大众汽车金融(中国)有限公司授予“忠诚合作伙伴”称号

根据上述车主们的说法,购车时,自己选择的是全款购车,销售人员从未提及购车贷款的问题,签署相关文件时,要不“只露出了一个角让我们签字”,要不“在平板电脑的空白中签字”。这样的购车流程,为何可以通过大众官方金融方面的贷款审核流程?

那么,在此次集体维权事件中,除了南通鑫湖4S店的不当经营行为以外,大众金融方面在贷款的审核和发放上是否存在疏漏?一汽-大众对经销商的管理上又是否存在不足?

为此,《消费者报道》向一汽-大众和大众汽车金融(中国)有限公司均发送了采访函进行问询,截至发稿前均未获回复。

刘先生表示,自己多次拨打一汽大众和大众官方金融的客服电话进行投诉。“客服人员表示只能协调解决,直到今天我们也没看到厂家的人来到现场帮忙解决问题。”

律师解读:涉事4S店可能构成欺诈

法律博主“@谈典看法”、四川矩衡律师事务所律师郭小明指出,本案中,如果车主确实在对购车贷款不知情的情况下,被4S店使用个人信息贷款,那么4S店的行为可能构成欺诈。

“如果大众金融公司也没有对车主身份等信息进行详细、严格的审核,就存在审核不严的问题,监管部门可介入调查并作出相应的处理,车主也可要求贷款公司承担审核不严的责任。”郭小明表示。

针对车主如何维权的问题,郭小明表示车主可向人民法院提起诉讼,要求4S店和大众金融公司撤销贷款合同,并要求4s店和大众金融方面承担赔偿损失的责任。

“消费者购车时,一定要仔细阅读所有合同条款,并对签字的信息进行核实确认。一旦遭遇‘套路贷’,可第一时间向行政主管部门投诉和举报,如果与对方协商不成,可直接向人民法院提起诉讼,维护自身合法权益。”郭小明提醒广大消费者。

加载中...