新浪财经 产经

沃尔玛被立案!品控失控“光环”不再 它会是下一个被收购的“家乐福”吗?

财经自媒体

关注

原标题:热点 | 沃尔玛被立案!品控“失控”,“光环”不再,它会是下一个被收购的“家乐福”吗?

来源:商学院

文:李婷石丹

篡改啤酒日期、公开道歉、被立案调查,沃尔玛把自己送上了热搜。

不久前,一名深圳顾客在沃尔玛超市发现了一款进口啤酒罐体底部出现两个生产日期,两个保质期相差了7个月,因而沃尔玛销售过期产品一事冲上微博热搜。5月14日,深圳市市场监督管理局对沃尔玛中国进行立案调查。直到6天之后,5月20日,沃尔玛就啤酒日期篡改延长保质期一事公开道歉。

在“篡改啤酒日期”事件登上热搜之前,一条沃尔玛中国将以30亿美元出售自己在东北、华北区域约百家门店给物美的“卖身”传闻出现,沃尔玛中国曾对媒体表示该消息是谣言。此外,沃尔玛中国在4月到6月期间,接连关闭了广州、南昌、湖州、商丘、江西、深圳、余姚等地七家门店。对此,沃尔玛曾对媒体回应称,是零售行业日常运营的正常举措。互联网分析师葛甲认为,这些是电商崛起和行业竞争大环境下出现的正常现象,但从某种程度也显示了沃尔玛中国的“品控”放松。

5月18日晚,沃尔玛发布2022财年第一季度财报(截止2021年4月30日)数据显示,沃尔玛第一季度总营收为1383亿美元,同比增长2.7%;运营利润为69亿美元,同比增长32.3%;归属沃尔玛基本和摊薄每股净利润均为0.97美元,去年同期分别为1.41美元和1.4美元,同比下滑30.7%;沃尔玛国际净销售额为273亿美元,同比下降8.3%;但中国区的电子商务净销售额同比增长60%。值得注意的是,对于沃尔玛中国该季度的具体运营数据财报并未透露。

图源沃尔玛财报

消费者举报,立案调查,

沃尔玛中国担责吗?

沃尔玛因消费者举报销售过期产品,被相关政府部门调查,后公开道歉,接连引发了中国舆论的持续关注。

“连沃尔玛都出现了销售过期产品的事,还是没处理好被发现涂改生产日期,那其他超市是不是也都会有这种情况?”在微博热搜这次篡改啤酒日期事件后,微博用户黄余(化名)表示了担忧。

《商学院》记者就该事件致电并发送采访函至沃尔玛中国官方邮箱,对方发来一则沃尔玛中国5月20日发布的声明作为回应。声明解释,根据初步的调查结果,生产日期的涂改问题出在“生产环节”,目前,涉事商品以及该供应商的其他产品已经全部下架,并与该供应商停止合作。对于已购买产品的消费者如何获悉信息及反馈情况,沃尔玛方面对《商学院》记者表示,线上线下均有召回公告,消费者可以持商品或者购物小票进行退货退款。而目前消费者反馈非常少,具体数据不便透露,但已向相关政府部门进行报备。而就该事件是否会对消费者有所补偿,沃尔玛官方未予回应。

零售电商智库及百联咨询创始人庄帅认为,沃尔玛中国出现了管理问题而导致了此次事件,而企业规模越大,出现问题的几率就会也大。庄帅向《商学院》记者介绍说,“这是供应链管理出现问题,其中包含的各个环节较多也容易出现各种问题,比如供应商的管理,产品的选择,入库、出库、到店等等。其实沃尔玛这个问题如果出现在生产环节,那入库没有发现,出库应该会发现。但是出库是抽检不是排检,那么是谁涂改的生产日期?因为其中的环节太多,机器就没办法检测,主要是人工抽查,人工抽查会导致疏忽,问题有存在空间,这就导致沃尔玛出现了问题。”

互联网分析师葛甲则认为,沃尔玛中国将啤酒生产日期涂改并延长保质期一事不是疏忽可以解释,故意篡改其性质不同。问题出现的原因固然是沃尔玛中国供应链管理出现了问题,但更主要的可能是其在中国市场的经营压力所造成的品控放松。

沃尔玛中国在声明中解释问题出现在“生产环节”,沃尔玛作为商场只进货销售,它担责吗?

京师事务所许浩告诉《商学院》记者,沃尔玛作为销售者,联接消费者和供应商,货物进入到这个品牌的商场,出现问题必定负有相应责任和面对相应的处罚,而沃尔玛此次事件属于行政处罚。许浩表示,根据《食品标识管理规定》第三十二条规定,伪造或者虚假标注食品生产日期和保质期的,责令限期改正,处以500元以上1万元以下罚款;情节严重,造成后果的,依照有关法律、行政法规规定进行处罚。此外,根据《中华人民共和国食品安全法》第一百二十四条规定,违反本法规定,有下列情形之一,尚不构成犯罪的,由县级以上人民政府食品安全监督管理部门没收违法所得和违法生产经营的食品、食品添加剂,并可以没收用于违法生产经营的工具、设备、原料等物品;违法生产经营的食品、食品添加剂货值金额不足一万元的,并处五万元以上十万元以下罚款;货值金额一万元以上的,并处货值金额十倍以上二十倍以下罚款;情节严重的,吊销许可证:第五点,生产经营标注虚假生产日期、保质期或者超过保质期的食品、食品添加剂。而沃尔玛作为销售竞争者,可按照同样规则进行处罚。

许浩认为,“食品的生产经营应严格遵照生产日期进行,生产销售过期食品会危害消费者的身体健康,也会影响企业自身的形象,必将受到法律的严厉处罚。”

品控“失控”,光环“不再”,

沃尔玛中国咋了?

事实上,这并非沃尔玛中国“品控”首次出问题。

早在2011年初,沃尔玛中国的部分门店就曾出现商品因价签与结算价不符而被国家发展改革委处以50万元的罚款,同样被罚的还有家乐福部分门店。同年“3·15”前夕,沃尔玛重庆卖场将208公斤过期板鸭销售给消费者;同年8月,沃尔玛重庆卖场以低价普通冷鲜肉假冒高价“绿色猪肉”销售给消费者,而两个月后,沃尔玛中国区CEO陈耀昌引咎辞职。

2014年更是被员工视频曝出其偷拍的食品加工内幕,内容包括使用的油15、30天以上才换新,用过期长虫大米制作快餐进行销售等。

而在今年,贵州省、福建省的市场监管发布的食品抽检信息公告中均显示,沃尔玛中国的门店所出售的某些农产品被检查出不符合食品安全国家标准规定,产品分别有朝天椒、鲜乌鸡、上海青(白菜)等产品。

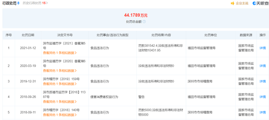
因产品造成的违法违规行为让沃尔玛中国多次被市场监管部门处罚。天眼查显示,沃尔玛中国投资有限公司从2013年起至今已有15起行政处罚,内容涵盖食品违法行为、侵害消费者权益行为、广告违法行为、保健食品违法行为等多种类型。

图源天眼查

对此,葛甲表示,“在经营不好的情况下,企业会没有精力和资金去进行品控管理,就会导致很多问题的出现。现在零售行业现状是这样,只是沃尔玛表现得明显些,该事件只是揭开了‘面纱’,如果更仔细些,肯定还有,只不过不是每一次都能抓住。长时间发展下去对沃尔玛的品牌是有损害的。”葛甲表示,目前的商业环境让大量的线下店因内卷和疫情而摆脱不了“成本魔咒”,变成只看重短期利益,而不看重长远的品牌效应。

品控失管的背后暴露的可能是经营环境下的压力。

《商学院》记者从沃尔玛中国方面确认,从今年4月起,沃尔玛就接连关闭了广州、南昌、湖州、商丘的4家大卖场和深圳2家社区店(其中包含沃尔玛在全国开出的首家社区店);5月,沃尔玛关闭了江西的两家门店;6月1日则停止营业宁波余姚的一家门店。据不完全统计,沃尔玛中国在2016年关闭了13家门店,2017年和2018年分别关闭了24家和21家门店,而2019至2020年先后关闭了逾20家门店。

对此,沃尔玛中国相关负责人对记者解释称:“我们定期回顾门店的业绩以确保持续优化我们的业务,开店或者闭店都是零售行业日常运营的正常举措。沃尔玛中国将开设更多的沃尔玛门店、山姆会员商店和云仓,为顾客和会员提供更多线上线下无缝连接的全渠道服务。”沃尔玛中国表示,中国是一个充满发展机遇的市场,沃尔玛对中国经济和市场充满信心。 

在透镜公司研究创始人况玉清看来,沃尔玛闭店其中一个主要原因是在中国的水土不服以及缺乏像永辉超市那样的资本杠杆。况玉清表示,“事实上,沃尔玛在美国很强,但相较而言,中国公司善于利用资本杠杆进行扩张。同时中国公司在新零售赛道的变革较快,在这方面沃尔玛中国既有水土不服,也缺乏资本的杠杆,所以它的市场会被本土公司逐步蚕食。”

互联网分析师丁道师则表示,“随着电子商务的崛起,像沃尔玛这种线下大型的传统商超卖场日子并不好过。比如家乐福中国卖给了苏宁易购,大润发投入了阿里巴巴的怀抱,京东也投资了几家线下传统零售企业,这是行业先进取代落后的必然趋势。”

何去何从,

沃尔玛中国是下一个家乐福?

面对中国电商和社区团购的凶猛攻势,沃尔玛中国的优势在渐渐“褪色”。以2014年为例,沃尔玛中国在中国电商崛起影响下,其销售增长率从24.5%大幅下降至0.24%。然而,这时间节点前后,沃尔玛也在电商方面不断做出努力。

2010年,沃尔玛中国旗下的山姆会员商店在中国推出了网上购物服务;2014年之后加强电商业务,和京东合作,200家门店接入京东到家平台;2018年共开设8家社区店,做社区生鲜食品生意,本质上是线上线下合作;2020年,沃尔玛战略投资新达达5000万美元,加强生鲜商超的线上线下合作力度。此外,沃尔玛中国也上线了扫码购、自助收银、微信小程序等线上零售。

对此,丁道师对《商学院》记者表示,“这两年中国大环境趋势出现了一种情况,即传统的线下商超零售都会和互联网巨头合作,比如沃尔玛和腾讯合作,万达和苏宁合作,永辉和京东合作等,都成了很多商超的发展标配。而沃尔玛也在痛定思痛地想办法转型,和互联网企业进行合作,通过互联网化的思维来拥抱更广阔年轻用户,看得出来它想努力,但是属于传统商超的大时代大势已去,不大有可能会有一个新的、太大的想象空间了。”但丁道师也表示,从长远来看,回归基本的商业逻辑,沃尔玛的基本面及其商业模式本身并没有问题,通过好的服务、产品和渠道卖给消费者,就一定还有其存在价值,只是不再有当年辉煌。

况玉清表示,沃尔玛在中国新零售渠道的开拓劣势较为明显。“首先,沃尔玛中国网点的布局远不如其他中国大型商超企业完善;其次,沃尔玛在新零售渠道方面并没有起到一个引领的作用,而是一直处于一个跟随的状态,是在对手做出相应尝试且取得了不错的效果之后,它才采取了一种跟随的策略。”

沃尔玛不仅要面对线上电商和社区团购的竞争,其线下门店“内卷”也不可谓不大。

沃尔玛2020财年年报数据显示,中国零售门店数量为412家。据媒体报道,中国连锁经营协会数据显示,2014年沃尔玛中国门店总数达441家,2019年门店数量为442家。也就是说,5年时间,沃尔玛中国门店数量持平,而到现在7年时间,门店数量不增反减。2019年,沃尔玛中国曾公开宣布未来5—7年内计划在中国新开设500家门店和云仓。这一年,也是沃尔玛被外界评为“近十年来业绩表现最好的一年”。

面对中国商超龙头永辉超市和物美百货,还有生鲜社区盒马鲜生、永辉mini、苏宁小店等线下强劲竞争对手,沃尔玛的社区店虽然于2018年开设,今年却关闭了首家开设的深圳社区店。值得注意的是,沃尔玛中国的山姆会员店呈现了扩张态势,虽然山姆会员店从1996年起落户深圳到如今的2021年仅开设共计26家,但据媒体报道,沃尔玛中国预计到2022年底计划开设40—45家山姆会员店。

对此,丁道师认为,沃尔玛依旧以传统商超的业态为主。“会员店模式是学习美国本土化的会员制,但它本身是为中产阶级群体提供服务,并不可能做成一个很大的产业。”

“我家楼下有个沃尔玛,但是我不太常去,因为里面商品价格并没有很便宜,甚至有些商品比其他超市都贵,如果不是因为有卡,我大概不太会去沃尔玛超市购物。”沃尔玛中国用户许放(化名)告诉《商学院》记者,这两年来感觉沃尔玛超市的商品变贵了。

面对线上线下的强竞争,一直以“薄利多销”为经营模式的沃尔玛不再有“便宜”的标签,而面对其拥有的中国市场被逐渐蚕食的现状,沃尔玛中国会成为下一个家乐福吗?

庄帅认为,“事实上,沃尔玛在业态创新、线上线下融合以及新零售方面都是很优秀的,沃尔玛在新零售赛道上的表现其实比家乐福和麦德龙更好,所以沃尔玛一直活到了现在。但是沃尔玛作为外资企业,它的管理模式本身就不适合本土化发展。”庄帅给记者分析,这里面有几个原因,第一个是内部原因,随着中国行业业态的发展,沃尔玛这几年的人才流失比较严重。第二个是沃尔玛中国管理层动荡,三年换四任,其管理就存在不稳定因素,再加上沃尔玛是美国公司,管理决策以美国为主,就导致决策效率低,管理成本高。第三个就是竞争环境日益激烈、复杂,创新的商业模式抢占了很多市场份额,而沃尔玛应对竞争的措施与方法不够本土化和市场化。所以沃尔玛中国的压力可想而知。

在葛甲看来,“零售行业属于本地行业,除去市场、行业显示,有太多本地化的问题。而随着中国市场发展到现在,美国的那套模式在中国不再适用了。”葛甲表示,沃尔玛原先通过大量的销售形成供应链的议价权的模式不再适用了,一方面是沃尔玛市场被逐渐蚕食,形成不了大量的销售,另一方面是供中国消费者选择的业态太多。“成本降不下去,要继续活下去就只能抬高产品价格,那用户流失会更快。所以未来如果沃尔玛不做出改变,就会成为下一个家乐福。”

对于沃尔玛“薄利多销”经营模式,庄帅表示,“中国的土地把沃尔玛的商业模式做到了极致。比如社区团购1分钱就可以买到水果,其他平台还有‘0元购’。沃尔玛是‘薄利多销’,中国企业直接是补贴达到‘负利多销’,但它们通过其他渠道比如物流、技术赋能来赚钱,这就是所谓的供应链管理提升利润。”庄帅认为,沃尔玛在未来三五年一定要做变革,不是简单的技术或模式提升,而是资本结构、管理结构的调整。“不做这样的调整,就没有未来。”

加载中...