新浪财经 产经

王者荣耀过了个“六一劫”

雷达财经

关注

王者荣耀过了个“六一劫”

正值新修订的《未成年人保护法》(下称“《未保法》”)正式实施之际,北京青少年法律援助与研究中心(下称“中心”)起诉王者荣耀侵害未成年人权益,并列出了包括游戏人物形象设计过于暴露、游戏人物篡改历史人物形象等5大侵害行为,直指王者荣耀给未成年人带来了8方面侵害。

雷达财经 文|张凯旌

六一儿童节,“王者荣耀”分别以被告和原告的身份两度冲上热搜。

正值新修订的《未成年人保护法》(下称“《未保法》”)正式实施之际,北京青少年法律援助与研究中心(下称“中心”)起诉王者荣耀侵害未成年人权益,并列出了包括游戏人物形象设计过于暴露、游戏人物篡改历史人物形象等5大侵害行为,直指王者荣耀给未成年人带来了8方面侵害。

“这次起诉更多的是示范意义。”北京市中闻律师事务所律师闫创向雷达财经表示,“法律的实施需靠典型案例来推动,北京青少年法律援助与研究中心的起诉属于针对民事领域的公益诉讼,其出发点与国家保护未成年人政策和法律保护未成年人的合法权益的角度来看是相互吻合的,具有积极正面的示范效应。通过公益诉讼、典型的司法案例审判,可以让大家深入讨论研究、关注未成年权益的保护,从而更好地守护未成年人的合法权益。”

王者荣耀作为原告的案件是,贵州问渠成裕酒业有限公司此前将“王者荣耀”成功注册为酒类商标,还注册成立了贵州王者荣耀酒业有限公司,腾讯一怒之下直接将该公司及国家知识产权局告上法庭。最终北京知识产权法院判决腾讯胜诉,判令国家知识产权局重新作出裁定。

资料显示,王者荣耀是腾讯天美工作室在2015年推出的英雄竞技手游,此前该游戏的健康系统曾经历数次升级,最近一次是在2020年5月,限制未成年用户的游戏时间,并对未成年用户设置消费限制。

值得一提的是,据Sensor Tower5月发布的最新报告,2021年4月王者荣耀在全球App Store和Google Play吸金超过2.58亿美元(约合16.5亿元人民币),蝉联全球手游畅销榜冠军。

王者荣耀被起诉侵害未成年人权益,律师:更多是示范意义

6月1日,中心运营的“致诚儿童”公众号发文称,已就腾讯运营的“王者荣耀”手机网络游戏侵害未成年人权益一案,向北京市第一中级人民法院提起未成年人保护民事公益诉讼。

中心认为,王者荣耀游戏存在5条严重侵害未成年人合法权益的行为:

1、腾讯不断下调适龄标准,当前游戏评级不符合“12+”;2、游戏人物形象设计过于暴露,网站及社区存在大量色情、低俗等不适宜未成年人阅读的内容;3、游戏人物篡改了历史人物形象,践踏民族传统文化;4、游戏商场充值限额及抽奖模式违反了国家规定;5、潜在的诱导性沉迷设定弱化了未成年人的自控力,增加了沉迷风险。

中心指出,王者荣耀将适龄提示由“18+”一路下调至“12+”,但目前这款游戏在角色形象、抽奖规则、语音交流、聊天频道等方面均存在大量不符合“12+”适龄等级的内容及设定。

此外,中心还针对战国时期的军事家孙膑成为一个幼稚的小男孩、三国时蜀汉开国皇帝刘备成为一个身靠色情女郎的纽约黑帮教父、游戏微社区中诸葛亮与大乔是一对情侣、唐代著名诗人李白与西汉著名军事家韩信陷入热恋等与历史不符的细节提出质疑。

中心列出了王者荣耀给未成年人带来的8个方面侵害,包括:造成大量未成年人尤其是农村留守儿童沉迷游戏、荒废学业、交际能力退化、与监护人间的家庭关系严重恶化、对其历史认知造成严重不良影响;侵害不特定未成年人健康权、财产权;对未成年人的价值观形成错误导向等。

不过,此次有众多网友站在了中心的对立面。不少网友吐槽道,“很多问题并非游戏公司的问题,而是家长未尽到监护责任”、“不会教育孩子的家长,反倒把矛头指向游戏”。

对此,律师闫创向雷达财经表示,《未保法》对于未成年人防网络沉迷有明确的法律规定,也即保护未成年人重点在于防沉迷,而不在于防游戏。

“这次的《未保法》增加了第五章‘网络保护’和第六章‘政府保护’,第70条规定了防沉迷条款,明确了国家、社会、学校及家长等在预防和制止未成年人网络沉迷方面的责任和义务。”

据悉,6月1日当天正值新修订的《未保法》正式实施,因此该案也成为了全国首例由社会组织提起的未成年人保护民事公益诉讼。

“这次起诉更多的是示范意义。”闫创称,“法律的实施需靠典型案例来推动,北京青少年法律援助与研究中心的起诉属于针对民事领域的公益诉讼,其出发点与国家保护未成年人政策和法律保护未成年人的合法权益的角度来看是相互吻合的,具有积极正面的示范效应。通过公益诉讼、典型的司法案例审判,可以让大家深入讨论研究、关注未成年权益的保护,从而更好地守护未成年人的合法权益。”

闫创坦言:“未成年人沉迷网络这个问题由来已久,他们做了很多机构和组织想做而未能做的事。而法院的审判则会基于该诉讼请求,归纳争议焦点和诉争事实,最终的审判结果目前还无法预判。”

21世纪教育研究院副院长熊丙奇曾在接受采访时表示,防沉迷是一个综合性的工程,需要多方参与,“我国有必要针对游戏泛滥、游戏玩家低龄化的现象,建立适龄提醒制度;同时,家庭方面要多陪伴和指导孩子,多给予关怀。孩子们沉迷游戏其中一个原因是缺乏活动空间,这方面需要社区的参与,为孩子们提供更多体育和文艺方面的选项。”

王者荣耀吸金迅猛,曾屡次卷入“未成年沉迷”争议

雷达财经梳理发现,王者荣耀自面世以来,一直保持着出色的盈利能力,但围绕其与“未成年人沉迷”之间的争议也从未停止。

2017年,腾讯公司副总裁、腾讯互动娱乐天美工作室群总裁姚晓光在一次主题演讲中表示,作为一款社会现象级游戏,王者荣耀已成一种新的社交方式。

彼时,王者荣耀已成为全球下载量最大的游戏,一季度收入60亿元,为全球营收最高的游戏。游戏注册用户也突破了2亿,一个皮肤一天就卖了1.5个亿。

一天卖1.5亿的皮肤——赵云 引擎之心

但随着暑假的到来,有关王者荣耀的争议开启了一波集中的爆发。

先是有媒体报道称,广州一17岁少年狂打手游王者荣耀40小时,诱发脑梗,险些丧命;随后,一则关于“男孩趁父母不在玩王者荣耀花三万”的新闻被众多媒体转载评论,腾讯迅速做出回应,并对二十多项消费进行了退款处理。

在此期间,还有杭州一13岁学生因玩王者荣耀被父亲教训后从四楼跳下,造成双腿严重性骨折,据其父所述,摔伤后的儿子曾自言自语道:“怎么不会飞啊?要知道这么高我就不跳了。”

彼时有数据显示,王者荣耀超过半数玩家不满24周岁,超过四分之一玩家不满19周岁。

而人民网则罕见地连发两篇评论,提出“到底是游戏娱乐了大众,还是‘陷害’了人生?”新华社亦发文表示:“一家企业,一种游戏,如果只想着赚钱,身上没有责任和道德的血液,不去谨小慎微地衡量可能的社会影响,注定是跛足的,注定走不远。”

面对负面舆情的爆发,腾讯在7月推出“最严防沉迷系统措施”,严格限制未成年人每天登录时长。按新规,12岁以下(含12岁)的未成年人每天限玩1小时,并计划晚上9时以后禁止登录功能;12岁以上未成年人每天限玩2小时。超出时间的玩家将被游戏强制下线。

值得一提的是,在规定执行的首日,就有游戏论坛发布了破解方法,还有部分电商网站公开销售认证过的“成年人”账号,最低仅需10元。

2018年9月,王者荣耀进一步加强防沉迷系统,通过接入公安数据平台,对新账号实名信息进行校验;10月,腾讯发布声明,正式启动王者荣耀全部用户的强制公安实名校验,未通过校验的游戏账号将禁止登录;11月,王者荣耀启动人脸识别,拒绝验证或与实名不符的玩家会被纳入防沉迷系统。

一系列措施落地后,相关数据显示,王者荣耀未成年用户单日在线时长与2017年高点相比下降52.3%。

2020年5月,王者荣耀继续接入未成年人防沉迷新规,从游戏时长、游戏消费等多方面加强限制。新规下,未成年用户法定节假日之外每日最多只可在8-22时内玩1.5小时;8岁以下、8-16岁、16-18岁三个区间的用户单月充值上限分别为0、200元、400元。

不过,在对未成年人保持严格限制的情况下,王者荣耀的吸金能力依然可观。据腾讯近期发布的2021年一季报,王者荣耀Q1期间稳居国内App Store游戏畅销榜前三,并长期连续霸榜,春节期间服务器一度被玩家挤崩。

据DataEye汪祥斌估测,牛年春节档王者流水在13亿到20亿之间。SensorTower数据则显示,2021年1-3月,王者荣耀在全球APP Store以及Google Play市场分别吸金2.67亿美元、2.18亿美元、2.57亿美元,同比增长22%、57.2%、63%。

腾讯胜诉,法院认定贵州问渠成裕酒业侵权

王者荣耀与贵州问渠成裕酒业有限公司的纠纷在同日也登上热搜。

据天眼查,贵州问渠成裕酒业有限公司成立于2013年,注册资本3万元,法定代表人为龙振翀。2020年7月,该公司更名为贵州乐乐汇贸易有限公司(下称“乐乐汇”)。

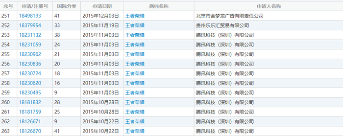
国家知识产权局商标局官网显示,王者荣耀商标的最早注册记录是在2015年10月22日,由腾讯科技(深圳)有限公司注册,自此至乐乐汇申请注册的2015年11月19日,腾讯方面共申请了11个不同类别的王者荣耀商标,不过其中并不包括乐乐汇的第33类。

根据相关信息,33类为“含酒精的饮料(啤酒除外)”。

另据腾讯方面向法院提交的证据,王者荣耀曾于2015年7月21日获得著作权登记证书;10月23日正式定名;公司2015年年报中亦提到,手游王者荣耀于2015年第三季推出;此外,王者荣耀在安卓和iOS平台上的正式公测时间为2015年11月26日。

乐乐汇的王者荣耀商标注册公告日期为2018年5月7日,商标刚刚注册成功一个多月,乐乐汇就迎来了腾讯的诉讼。

6月19日,腾讯请求国家知识产权局对其予以无效宣告,理由是侵犯了腾讯公司对“王者荣耀”商标在先著作权,但该请求被国家知识产权局驳回。

北京市中闻律师事务所律师刘彬对此解释称,乐乐汇所申请的“王者荣耀”商标形式是标准字体,仅就该字体而言,并不涉及著作权方面的问题,因为著作权保护的是作品。除非腾讯针对这四个字设计了个艺术字,然后乐乐汇将艺术字申请为注册商标,才涉及著作权侵犯,这次的上诉说明针对著作权的思路行不太通。

随后,腾讯换了种打法。其一纸诉状将国家知识产权局告到了北京知识产权法院,乐乐汇作为第三人参加诉讼。

腾讯指出,王者荣耀游戏自推出即成为App Store下载排行榜第一名的软件,关注热度极高,有庞大的用户群,还曾在饮料、餐饮等领域与麦当劳可口可乐等公司进行过合作。而乐乐汇将王者荣耀成功注册为商标,易导致相关公众误认为其经过腾讯的认可,或者与腾讯存在特定联系。这一行为损害了腾讯公司对王者荣耀游戏的作品名称所享有的在先权利,违反了《商标法》相关规定。

刘彬表示,“在先权利”保护的范围更大,像王者荣耀游戏的名称当然也可以纳入到范围当中,商标法的规定是注册商标不得侵害其他人的在先权利,且并没有进行具体类别的区分,因此只要有人侵犯了他人的在先权利,是每个类别都不能注册的。

“类似的事件如疫情的时候有人抢注钟南山、李文亮这些人的商标,各个类别都抢注了,但最终都没有注册下来。这里有两个原因,主要是侵犯了他人的姓名权,这也是一种在先权益;第二个是抢注的行为违反公序良俗。”刘彬称。

2020年3月17日,该案在北京市知识产权法院进行了线上开庭审理,三个月后一审宣判,腾讯获胜。北京知识产权法院认定,诉争商标的注册申请损害了游戏作品名称“王者荣耀”的在先权益,判决撤销被诉裁定,并判令被告国家知识产权局重新作出裁定。

国家知识产权局对于一审判决不服,上诉至北京市高级人民法院。而北京市高院的最终判决则是:驳回上诉,维持原判。

加载中...