新浪财经 产经

郑爽“闪袭”演艺界 娱乐圈人手“资本帝国”?

新浪财经

关注

郑爽“闪袭”演艺界 娱乐圈人手“资本帝国”?

来源:奇偶派

者|知白刮刮乐文志

在2018年的阴阳合同门之后,演艺圈再遭“核弹袭击”,这次是被称之为“爽”言“爽”语的郑爽。

刚经历代孕风波的郑爽,再度被前夫张恒曝光涉嫌签订“阴阳合同”、拆分收入获取“天价片酬”、偷逃税等问题。

4月26日,郑爽前夫张恒又在微博发布视频,直指郑爽及家人对演员“限薪令”视若无睹、通过签订“阴阳合同”赚取1.6亿天价片酬并涉及偷逃税问题。

一石激起千层浪,公众发现,近期多家知名演艺圈人士及其亲属注销工作室,背后原因蹊跷。而赵薇又突然被曝出冻结数百万股权至2024年。

大家不禁狐疑,演艺圈到底怎么了?在范冰冰阴阳合同门事件后,影视行业进入低谷期,后又遭遇疫情打击,整体行业寒冬延续已久。

就在大家都以为随着疫情缓解,大众消费热情尤其是娱乐消费热情高涨,影视行业将迎来小阳春。但是,殊不知却遇到了更大的一次爆发。

这次的集中爆发,是此前阴阳合同门遗留下来的隐性问题,还是行业重拾违法违规旧路?

我们梳理了郑爽、赵薇等明星背后的资本版图,及其热点事件背后的来龙去脉,从中挖掘影视行业中资本游戏几何。

01

郑爽资本版图

郑爽风波由来已久,从代孕事件到如今的偷税漏税,郑爽与张恒的争斗再一次赚足了吃瓜群众的注意力。

4月26日,张恒在微博提供的和郑爽、爽爸郑成华、爽妈刘艳的聊天记录显示,郑爽拍摄的《倩女幽魂》嫌片酬1.5亿太低,要求涨到1.8亿,最后敲定为1.6亿。

如果爆料为真,那就相当于郑爽凭一部《倩女幽魂》就拿了1.6亿元的片酬。

以郑爽进组77天拍摄期计算,日薪则高达208万(精确数字:207.79万)元。那么郑爽的日薪等同于年薪200万的人一年的薪资,当然,这还是在208万抹零的情况下,纵观整个A股市场,目前共计4279家公司,截至4月27日,有1712家公司的净利润超过1.6亿,那么郑爽77天的片酬,几乎超过了一半上市公司一年的净利润,而全国最会赚钱的阿里巴巴也仅相当于220爽。

更让人需要注意的是,演艺圈的疯狂吸金似乎已经常态化,手中资源不断的艺人堪比“印钞机”。这次的“天价片酬”事件,或许是一次新态势和监管的开始。

早在2018年6月,中宣部、国家广视总局等就联合发文,要求加强对影视行业天价片酬、“阴阳合同”、偷逃税等问题的治理,每部电影、电视剧、网络视听节目全部演员、嘉宾的总片酬不得超过制作总成本的40%,主要演员片酬不得超过总片酬的70%。如果1.6亿元片酬属实,那么违反限薪令就是实锤。

回到这次的事件中,央视新闻也在第一时间给予回应——日均薪酬208万元,网友不仅关注畸高片酬,更关心来路是否正当。

其实,在外界都以为郑爽还是那个直来直去,毫无顾忌甚至毫无礼貌地表达真性情的“爽子”时,她早已是多家公司背后的实际控制人。

郑爽的资本版图,超乎我们的想象。

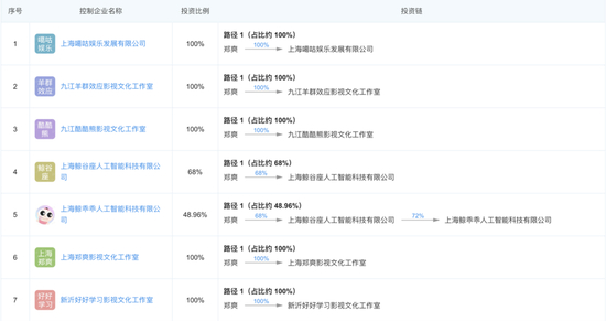
企查查数据显示,在投资的10家公司中,郑爽担任7家公司的法定代表人,其中5家已经注销。

上海噶咕娱乐发展有限公司、九江羊群效应影视文化工作室、九江酷酷熊影视文化工作室、新沂影视文化工作室、上海郑爽影视文化工作室、新沂熊大熊二影视文化工作室、上海跳耀影视文化工作室,郑爽均为100%持股。其余公司除上海鲸乖乖人工智能科技有限公司外,郑爽均占据60%以上股权。

其中值得一提的是,上海鲸乖乖人工智能科技有限公司,这家实缴资本为1000万元的公司成立于2019年1月18日,张恒为公司法人和执行董事。

该公司的股东分别为上海鲸谷座人工智能科技有限公司(72%)、陆继恒(19%)和蒋耀锴(9%)。其中,张恒和郑爽二人共同持有鲸谷座72%的股份。而郑爽则是这家公司的实际控制人和最终收益人(占比约 48.96%)。

然而自公司成立以来风波不断,共发生了7起案件,其中有5起是劳动合同纠纷事件,当前被执行总金额近8.8万元之多,其中近1万元尚未履约。

作为一家注册资本1000万的公司,由于背负着非法解除劳动合同、有履行能力而拒不履行生效法律文书确定义务导致其臭名昭著。而作为法人的张恒也于2020年和9月4日和17日两次被限制高消费。

2019年11月,郑爽与张恒正式对簿公堂。

郑爽向静安法院起诉,请求判令张恒归还借款人民币2000万元并支付相应的逾期利息。一审判决支持郑爽的全部诉讼请求。

一审判决后,张恒不服,向上海二中院提起上诉,请求改判驳回郑爽的全部一审诉请或发回重审。2021年3月31日,上海二中院对该案作出终审判决:驳回上诉,维持原判。

张恒郑爽借款诉讼案尚未平息,其他诉讼案件又波澜再起。

2021年3月,上海艾艺信息技术有限公司、上海鲸谷座人工智能科技有限公司、上海噶股娱乐发展有限公司均被执行股权冻结1095天,作为公司股东的郑爽,被冻结资金总额高达人民币1588万元,然而这对郑爽来说只是九牛一毛。

可就在法律纠纷不断时,郑爽的吸金能力也未见衰减,戏约、综艺、直播带货,源源不断地利用着郑爽“黑红”的流量与关注度。

在郑爽所谓的直爽人设背后,是她庞大的资本版图。借由“率真”的人设,制造矛盾,形成郑爽个人IP黑红的巨大流量现象,最终将这些流量通过旗下的公司,在各个层面变现。

直爽的郑爽,其实早已深谙符合自身特色方面的赚钱之道,并不断积累资本,打造了一个属于郑爽的资本帝国。

02

重演范冰冰?

资本本无罪,罪恶源自于贪婪,恶化于无法度限制的越界。

在郑爽不断打造自己的资本帝国的同时,围绕在她身边的利益团体也在想尽办法帮她降低损失。 

最近被爆出的郑爽偷税门事件,就是拿了天价片酬后,不仅不知足,反而变本加厉,通过偷税漏税,贪得无厌。

郑爽偷逃税款的第一个办法是阴阳合同。因为国家综艺限薪令将演员的总片酬卡死在了5000万,1.6亿的片酬无法写进一个合同里。据张恒爆料,郑爽妈妈直接拿出了一份阴阳合同。

见得了光的“阳合同”为4800万元的演员聘用合同,打入郑爽妈妈控制的新沂萃珊雯,而见不了光的阴合同签订于2019年6月16日,以增资协议书的形式,对上海晶焰沙科技有限公司进行1.12亿增资。

我们梳理发现,准备好了阴阳合同,真正偷逃税款就分为四步:

1、首先郑爽妈妈在2019年3月19日,《倩女幽魂》开机前一个月,增资协议签订日期前三个月注册了上海晶焰沙科技有限公司。郑爽妈妈与一位叫张丽敏的股东签订股份代持协议,来实际控制这家公司,所以公司股东名录上没有郑爽妈妈的名字,只有林慧艳、慧敏、张丽敏三位股东的名字;

2、在接下来,2019年8月1日由影片方向上海晶焰沙科技有限公司打入1.12亿元增资,来巧避明目。这样郑爽妈妈就只需要缴纳万分之2.5的资金账簿印花税,也就是区区2.8万元;

3、在2019年8月6日(7500万),8月7日(3700万),这笔增资款分两天两次,以借款的名义,转到公司法定代表人林慧艳的账户里,实现了1.12亿元由公转私;

4、最后一步,在2021年3月3日,郑爽代孕事件发生后,林慧艳、慧敏、张丽敏三位股东迅速退出公司,改由陈明磊持股90%,沙慧金持股10%。至此,公司打给法定代表人林慧艳的借款彻底成了一笔烂账。

第二个偷税漏税的办法是投资转片酬。

郑爽妈妈,不仅1.12亿的增资不想交税,连4800万的片酬也不肯纳税。郑爽的4800万片酬属于个人劳动报酬所得,按规定需缴纳45%的个税。

具体手法就是,就是新沂萃珊雯先将郑爽签约为旗下艺人,然后公司以投资方进入其他电影制作项目中,再让郑爽身兼艺术总监、顾问、制片等多个职务,将4800万作为报酬拨出。

郑爽和爽妈本以为,通过一系列资本的操作,可以将1.6亿“既合法又完全”地赚入自己的兜里,然而,历史告诉我们,在偷税漏税的大问题上,没有一个人能逃得了。

上海市税务局第一稽查局对郑爽偷逃税款事件迅速已予受理,并表示,正在依照税收法律法规进行调查核实。北京市广电总局则已经启动对相关制作成本以及演员片酬比例的调查。

这一次热搜上的郑爽,真正成了热锅上的蚂蚁。

郑爽很快在微博上发声表示配合调查。但,不知道现在她还能否说出,“每上一次热搜,我的身价都会上涨”这样的豪言。

03

幕后资本也踩雷?

郑爽偷税漏税已成事实,当法律的大锤和公众的谴责统统指向郑爽,被揪出来的应该还有背后那些和郑爽“合作”偷税漏税的资本,本以为双方之间天衣无缝的合作,却没想到,纸始终包不住火。

不少资本势力,一直希望通过与明星的合作、投资等方式,从中分一杯羹,但是其中不少都吃了“哑巴亏”。

北京文化就踩在了郑爽这颗“不定时炸弹”上。

北京文化曾经出品过《你好,李焕英》、《我不是药神》、《流浪地球》、《我和我的家乡》等多部大热电影。

凭借这些影视作品,北京文化口碑爆棚,但是公司业绩却每况愈下。2018-2020年,北京文化净利润分别为1.25亿元、-23.06亿元、-7.72亿元。

而给郑爽带来天价片酬的《倩女幽魂》恰也是由北京文化旗下的子公司世纪伙伴出品。

2016年,北京文化花费13.5亿购入世纪伙伴。收购时,北京文化与世纪伙伴签订对赌协议,世纪伙伴承诺从2014年至2017年期间,净利润不低于9000万元、1.1亿元、1.3亿元和1.5亿元,而世纪伙伴在此期间的净利润为9500万、1.14亿、1.35亿和1.5亿,每年都能那么精准地在业绩线上低空飘过。

2019年,世纪伙伴经营状况却急转直下。北京文化巨亏23亿,财报将主要原因归为子公司“世纪伙伴和星河文化业绩下滑”,也正是在这一年,郑爽赚了1.6亿。

在巨亏公告发布当晚,世纪伙伴原控股股东娄晓曦发微博实名举报北京文化财务造假。

举报信内容称,“2018年,宋歌(北京文化的法定代表人、董事长)为北京文化公开发行‘可转换公司债券’,挪用上市公司资金进行业绩造假。涉及项目有北京文化投资电视剧项目《横店故事》的2400万元, 2018年、2019年《大宋宫词》《倩女幽魂》(已改名为《只问今生恋沧溟》)两个电视剧项目的7800万元等。”

对于业绩造假的举报,北京文化回复,通过访谈娄晓曦并经其本人证实,转让《倩女幽魂》项目已确认收入不实,导致会计差错。对于选择注册资本只有500万元的雅格特进行3.58亿投资份额转让,北京文化表示未能查询到合作对象业务规模与核心竞争力,且合作对象皆由世纪伙伴完成,相关人员已被立案调查。

然而北京文化方面还未对“阴阳合同”一事做出回应。截至发稿当日,北京文化报价5.47元,总市值39.16亿,与其历史上最股价43.17元相比,总市值蒸发近200亿。

04

明星资本危局冰山一角?

不管是郑爽还是北京文化,都是资本危局里的冰山一角。影视剧行业后面资本的谜团,还数不胜数。

这次郑爽偷逃税款的事件,正在成为引爆影视剧行业的导火索。

或许是受郑爽事件的影响,近期多家明星注销工作室。

天眼查APP显示,包括魏大勋、姚晨老公曹郁、何炅父亲、邓超、唐嫣、文章、马薇薇、那英(后撤销简易注销公告)、赵本山、朱正廷、孟美岐、吴宣仪、沈腾、井柏然、王千源等多家知名演艺圈人士或亲属的工作室紧急注销。

数据显示,我国在业存续“艺人经纪”相关企业1.08万家,2020年新增1138家,同比减少55%,2021年一季度新增147家,同比减少41%。

除了艺人工作室,艺人占股的企业也受到了一定影响。

赵薇就被爆出,近日被冻结数百万公司股权至2024年。其冻结股权标的企业,分别为北京普林塞斯文化传播有限公司、龙旭新商贸有限公司,北京聚易创意科技有限公司。

此次冻结,原因自一起民事诉讼。

普林赛斯成立于2002年11月,法定代表人魏启颖,注册资本300万人民币,该公司最大股东为赵薇,持股比例70%。龙旭新成立于2011年9月,法定代表人魏启颖,注册资本50万人民币,该公司由赵薇全资持股。易聚创意则成立于2014年11月,法定代表人杨建平,注册资本126万人民币,赵薇在该公司持股10%。

除了以上3家受影响的企业外,赵薇还控制着13家企业。目前,尚不知赵薇旗下其他企业是否会受此影响。

与郑爽相比,赵薇名气更大,浸淫演艺圈时间更长,其背后的资本势力也更为惊人。

通过出演《还珠格格》中的小燕子而爆红的赵薇,演而优则投,赵薇和丈夫黄有龙,一度疯狂地撬动资本市场。

她动辄就是几个亿的投资收购,赚得盆满钵满,投资阿里影业一年,更是收获近十亿港币。

赵薇在资本市场的顺风顺水,到2017年突遇波澜。

2017年赵薇、黄有龙夫妇控制的龙薇传媒以6000万自有资金、通过个人信用及将购买的股权质押,试图以蛇吞象的方式收购万家文化30.6亿的股权。

这一手法引发监管层面的关注。最后在监管问询、万家文化的防御和银行停贷的多重阻止下,收购失败,赵薇夫妇也因此被处罚5年禁入股市。

近年来,随着影视行业蓬勃发展,演艺圈人士与资本市场的纠葛,已经司空见惯。

郑爽、黄晓明、何炅、黄圣依、唐嫣、赵薇等75位一线艺人,名下就有相关公司647家,其中已注销200家。

平均一位知名艺人名下就有近10家公司。

其中,艺人名下关联公司数量最多的是黄晓明,其相关公司一共有43家;其次为章子怡,名下相关公司有29家,为女艺人中公司数量最多;此外,陈坤有25家、李晨有21家、黄磊有20家、何炅有19家、陈赫18家、靳东18家、郑恺17家、黄渤16家、赵薇14家……

明星和资本的关系十分复杂,资本想靠明星赚钱,明星也想通过资本获得超额收益,甚至自己成为资本。

但是,资本有度,生财有道,明星亦然。

05

写在最后

郑爽事件在娱乐圈的资本沙场中绝不是孤例。当你在屋子里发现一只蟑螂的时候,可能屋子角落已经爬满了蟑螂。

在郑爽之前,范冰冰的阴阳合同与偷逃税款行为就曾引发过整个影视行业严监管与大洗牌。

2018年范冰冰,阴阳合同一式两份,电影《大轰炸》出场5分钟,获取1000万名义片酬和2000万额外片酬,最终冰冰被重罚9亿,紧随其后,多名艺人被约谈,合计补税117亿。

2021年郑爽,如法炮制,阴阳合同再掀影视行业海啸。

当时范冰冰的事,导致影视行业进入寒冬,一直没缓过劲来,华谊兄弟股价暴跌,王中磊王中军卖房卖资产求生。现如今,各路明星,风声鹤唳,自顾不暇。

长期以来,中国影视行业,靠着资本野蛮生长,抛弃底线做交易。这背后已经埋藏下了无数火药,即使没有郑爽,也会有李爽,王爽。

而这一次,有关部门似乎要动真格的了。

国家广电总局在4月29日晚间表示,已责成北京市广电局对电视剧《倩女幽魂》制作机构涉嫌违反制作成本配置比例有关规定启动调查。

中央政法委发微博称:“生而为人,必须有所敬畏。”

相关专业人士分析,采取拆分合同手段隐瞒真实收入偷逃税款,处4倍罚款;利用工作室账户隐匿个人报酬的真实性质偷逃税款,处3倍罚款。

如果郑爽最终被调查实锤,或将面临至少4亿的罚款。

这一次,郑爽或许很难再爽;而娱乐圈,也该清醒起来了。

加载中...