新浪财经 产经

端起安全的AK47,周鸿祎射向了造车

新浪财经

关注

端起安全的AK47,周鸿祎射向了造车 

车如流水马如龙,花月正春风

来源|AI蓝媒汇

作者|关关

周鸿祎的微博最近挺闲的,除了在315打假之前,忙着发了几张自己在天安门的照片以及分享了一段自己在两会上的发言,基本上没什么动静。

过去很长一段时间,在微博上坐拥1000多万粉丝的周鸿祎,显得有些冷清,也就平均每条微博能有个几十人光顾评论区这样的光景,周鸿祎也大事小事都和大家唠,春节、元旦、国庆,逢年过节时,习惯穿得红红火火的周鸿祎都祝大家一遍“身体健康”。

这样的周鸿祎,总觉得少了点“开炮”的烟火气。

前不久的上海车展,周鸿祎发了一条朋友圈,配上自己和几辆车的合影,说这是人生第一次看车展,刘姥姥进大观园,看什么都觉得好奇。

要不是因为最近江湖上老周要造车的传闻,估计这条朋友圈都不会被扒出来。

4月26日晚,有媒体爆料360将投资合众新能源汽车公司旗下的哪吒汽车,在哪吒汽车D轮30亿元融资中成为领投方。一时间,周鸿祎也要下海造车的消息就传遍了互联网。

而周鸿祎最近的一条微博,是27日凌晨1点多对造车的消息表了个态,转发了一条新浪科技发的“投资哪吒汽车只是意向,尚不具备法律约束力”。

这条微博,是周鸿祎用已经停产了的360N7pro手机发的。借着造车,周鸿祎再次走进人们的视线,刷了一把存在感。

周鸿祎下海造车

4月19日上海车展,周鸿祎除了“刘姥姥进大观园”的拍照,还光顾了哪吒汽车展台的发布会。

这一幕,也被媒体拍了下来。在一众蓝色黑色西服的衬托下,“红衣教主”周鸿祎坐在哪吒汽车CEO张勇的旁边。

彼时,对于网传的“360有意进军汽车行业,合作对象或许是哪吒汽车”,360当时的回应还是:无可奉告。在媒体的消息中,双方已经就该项目接触了两三个月,期间,不怎么露面的周鸿祎还曾前往哪吒汽车工厂调研并体验产品。

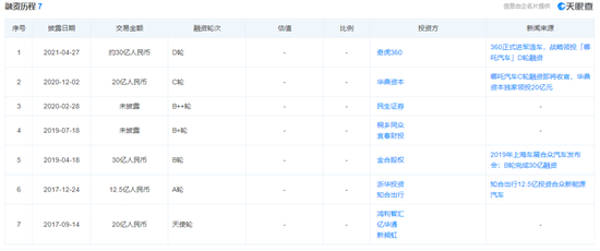
仅仅过了几天,这一消息就被“坐实”了。4月26日,哪吒汽车官方宣布,正式启动D轮融资,融资额约为30亿元人民币,互联网公司360战略领投。交易完成后,360有望成为哪吒汽车的前三大股东。

对此,张勇还发了一条朋友圈,晒了晒自己跟周鸿祎的合照,并配了一条文案:感谢周总信任。

根据天眼查披露的消息,过去几年,哪吒汽车经历了6次融资,已披露的数据中,共融资82.5亿,最近的一次融资,是由华鼎资本投资的C轮20亿人民币的融资。这次,是周鸿祎带头拎着30亿的钱袋子过来了。

在哪吒汽车官宣获得360投资的当天,根据财联社的消息,周鸿祎正在开360的业绩说明会。会上,周鸿祎表示:

公司正积极探索智能汽车安全领域市场机会,研判加大相关领域投入、进一步深入发展智能汽车安全相关商业化业务的可行性,公司拥有国内第一支汽车安全研究团队——360 Sky-Go Team,可提供全球领先的安全解决方案,目前已与奔驰、比亚迪等众多主流汽车品牌开展了相关项目合作。

哪吒汽车官宣之后,就是前文中周鸿祎发的那一段微博。

这一段很有意思,张勇是向外界发话,周鸿祎投哪吒汽车了。而投资方周鸿祎则表示,我不急,我再看看。

周鸿祎还是辜负了张勇的“信任”,但话说回来,周鸿祎真的不着急吗?

周鸿祎着急吗?

周鸿祎不着急,就不会盯着哪吒汽车了。

在国内的造车新势力中,排在前边的首先是蔚来、小鹏、理想,这三家去年已经顺利会师了美股。蔚来背后有腾讯、高瓴资本、顺为资本这些大股东,理想背后有王兴的美团,小鹏背后有阿里。短期时间看,这三家都不缺钱,周鸿祎也没啥机会掺和。

相比较这三者,与蔚来、小鹏同年成立的哪吒汽车算是默默无闻了。没话题、没噱头、就连新车上市也没啥动静。如果不是这次傍上了周鸿祎,媒体朋友们对哪吒汽车也不大感冒。

此前,造车新势力们都各自公布了今年一季度的销量。蔚来卖了20060辆,小鹏卖了13340辆,理想卖了12579辆,哪吒汽车卖了7443辆。

用好听点的话说,哪吒汽车目前是稳定的造车新势力第二梯队的选手,嗯,实力强劲。

用难听点的话说,在互联网巨头纷纷下海造车的今天,哪吒汽车怎么蹚这趟浑水都说不好。作为一家主攻20万元以下市场的品牌,哪吒汽车虽然在B端市场有些订单,但C端市场却没啥显著增长,加上“今年IPO”的压力以及继续搞研发,这次跟周鸿祎的关系就像“一个缺钱的主儿碰上一个落魄的主儿”。

二者的日子都不太好过,也都穷的一匹。

2018年2月28日,360回归A股,周鸿祎带着太太胡欢在现场敲了钟,开盘就闯出了65.67元的股价,上市当日,360的市值甚至达到过4700亿元。对于A股来说,这是自1990年底创立以来,首只市值超过4000亿元的互联网上市公司。

放眼当时全球范围的中国科技股,能排在周鸿祎前边的,也就是腾讯、阿里以及百度了,刘强东的京东也被周鸿祎甩在了身后。

回归A股那天,周鸿祎发微博,说感谢党和政府,感谢各级主管部门和领导,感谢合作伙伴,感谢用户,感谢360的团队员工,感谢家人和360员工的家属。

一连6个感谢,把能感谢的都感谢了个遍。

昙花一现之后,却不知道穿得红红火火的周鸿祎,看到后来绿油油的360股价,会作何感想。

今天,360收盘时是12.89元的股价,3年多,蒸发了3000多亿,媒体经常说360市值腰斩,都太给面子了,这就是直接从脚脖子砍了一刀。

再看看去年周鸿祎手底下的360闯出了什么样的业绩?4月21日360发布的2020年年报中,归属于上市公司股东的净利润约为29.13亿元,同比下降51.3%;营业收入约为116.15亿元,同比下降9.55%;基本每股收益盈利0.43元,同比下降51.14%。

那个属于周鸿祎的江湖已经远去了。

今天的周鸿祎,是那个即使要开始造车,还不断地被持仓的网友要一个“股票交代”的周鸿祎。

周鸿祎的交代

周鸿祎其实挺想给大家一个交代的,不论是在A股上市后还是更早之前在美股上市之后。

2011年,雷军发布小米手机,周鸿祎也开始卖360特供手机,并给第一款手机命名为“AK47”。周鸿祎卖360特供机的想法和今天造车有点类似,找传统手机厂商做互联网手机,去革命手机行业。

360特供机前后经历了阿尔卡特、夏新、海尔,到了华为这就没了下文,然后就没有然后了,最后胎死了腹中。

2015年5月,周鸿祎再启卖手机,发布会上,周鸿祎意气风发地表示:对不起,这次我来给手机圈添堵了。

去年9月,在360政企安全新战略发布会上,周鸿祎少见地“开炮”:

我反复强调我的对手不再是同行,同行可能都会变成我的友商。但手机行业的友商定义不一样,手机行业里的友商意思就是干死你们,所以我就退出了这么可怕的市场。

和以往不太一样,周鸿祎罕见地用了“友商”,没指名道姓。这也是自从去年1月初发布完N7Pro“红衣版”之后,周鸿祎的手机宣告了凉凉。

事实上,周鸿祎的手机并没有给手机圈添什么堵,反倒是给自己添了不少堵。对于周鸿祎,一个很现实的问题是,除了杀毒,360还能干什么?

比如还能搞直播。宣布第二次卖手机的第二年——2016年,周鸿祎踩着直播的风口,出资建了花椒直播。

在花椒直播创办之后的一段时间里,周鸿祎化身为了“创业教父”,多次在花椒直播自己的日常生活。在花椒上线的第二天,周鸿祎还在微博上宣布:

我准备每天花五分钟在花椒上分享创业经验产品心得,你会来看吗?

坦白说,如果周鸿祎还能狠下心在自己车着火时一不喊人、二不报警地直播,可能会比分享创业心得更火一点。

至于周鸿祎的直播,反正今天是没啥人看了,周鸿祎在花椒直播上的动态也停留在了2017年。在经历了内部大换血、360运营团队出局以及与六间房合并,周鸿祎的直播也没了动静。

现在,360官网上还有一项视频·直播的项目,点开之后是快剪辑、360影视、360娱乐以及快资讯,基本上都是一些资讯网页,比搜狐、新浪、网易、腾讯这些门户网站还差了不少,其中快剪辑点开之后还是403。

除了卖手机、搞直播,周鸿祎还搞金融、做游戏、做理赔、做企业营销、做政企安全,也卖起了扫地机器人、路由器、行车记录仪甚至是儿童手表。

别的不说,有一点你不能不服周鸿祎,干啥都能踩着风口,就是踩的姿势不太对,最后都栽了。

另外一点你不得不服的,就是周鸿祎始终在折腾。甭管市值跌到多少,周鸿祎始终像一条鲶鱼一样翻滚,只是没什么浪花。

试想一下,今天,我们想到周鸿祎、想到360,还能想起来什么?十多年了,周鸿祎能拿得出手的,来来回回也就一个浏览器、一个安全卫士吧?

哦不好意思,这都是属于PC时代的产物了。互联网PC端的流量已经就那个样子了,周鸿祎再刨,也刨不出什么增量了,这也是周鸿祎迈不过去的一个坎儿。

从江湖走向庙堂

那些年,周鸿祎怼过金山、怼过腾讯、怼过百度,凡是看不顺眼的,就放上一“炮”。

曾有人写了一本书,复盘几位改变中国互联网的代表,第一章就从3Q大战开始跟你讲。在关于周鸿祎的一个大章节中,用了这样一句话:

时不济兮骓不逝

骓不逝兮可奈何

每次谈及中国互联网,总能想到江湖这个词。可能大佬们都比较爱读金庸、江湖也比较念旧的原因吧。

而江湖上已经很久没有周鸿祎的传闻了,上一次周鸿祎走向台前,还是2017年互联网上忽然炸出来的“人民想念周鸿祎”的话题。

周鸿祎也希望人们想念他。

2017年携程幼儿园事件时,周鸿祎发微博,将免费为需要的幼儿园赠送360智能摄像机,家长可以随时用手机观看孩子的起居生活游戏活动。

同一年,周鸿祎参加由花椒和北京电视台、北京卫视合作的公益之夜现场,跟林志颖、范冰冰合影之后将照片秀了出来,被网友骂道“蹭明星流量”。

今年,马斯克成了首富,周鸿祎发视频,说他发现了特斯拉2017年以后出厂的车存在漏洞,可以远程控制,他把漏洞告诉马斯克后,马斯克却不理他了。

周鸿祎是一个从不缺表达欲的人。据说,2017年时周鸿祎对手下的公关经常会有“人生三问”:

我什么时候可以接受采访?

我为什么不能接受采访?

你们还让不让人活?

一个事实是,过去几年,周鸿祎在江湖上的声量越来越弱了。后来居上的小兄弟们都发了家、致了富,360却掉了队。周鸿祎的身影,也渐渐摆脱了“江湖”,走向了“庙堂”。

2018年1月24日,政协第十二届全国委员会常务委员会第二十四次会议通过:任命周鸿祎为政协第十三届全国委员会委员。

从2018年开始,周鸿祎活跃在公众眼前时,就披上了一个马甲。在接受采访时,360公司创始人标签的前边,也总会有一个“全国政协委员”的身份。

当上全国政协委员不久,人民网采访周鸿祎,谈到“建议对安全漏洞要一经发现就及时修补,包括发现有漏洞的产品”这一周鸿祎在两会上的提案时,周鸿祎说:

你可以想象将来买辆智能汽车,如果发现有被人劫持的漏洞,这种产品还能用吗?

2019年两会,周鸿祎再次提及车,“网络安全应成为智能汽车标配”,说了这样一句话:

我们的目标是让智能汽车不“裸奔”。今天大家的电脑谁也不敢裸奔,手机里也装了安全杀毒软件,智能汽车也应加装网络安全防护系统。我们要把网络安全系统像“安全带”一样列为智能汽车标配,做到智能汽车的安全、可靠、可控。

2020年两会的时候,周鸿祎谈的话题也是“网络安全”,在他提交的三份提案中,既涉及了国家级网络安全大脑建设、人工智能安全风险,也涉及了智能汽车网络安全的话题。

在今年的两会上,周鸿祎的提案也没离开“安全”,还有“车”,在《关于加强智能汽车网络安全的提案》中,周鸿祎提到:

将智能汽车联网安全防护体系纳入车辆产销、服务体系。

翻看周鸿祎的微博,过去两三年里,周鸿祎不再对谁开炮了,除了隔三差五地出来跟大家普及普及“安全知识”,以往的那股江湖气也没了。

大概这就是居庙堂之高,处江湖之远吧。

周鸿祎为什么要造车?

庙堂上的故事远没有江湖的精彩,毕竟用户摆在那里呢。

从2018年之后的年报,包括周鸿祎在各类公开场合的发言看,政企、城市安全是一个屡屡被提及的一个词,但营收数据可能有点不太好看。

2019年,360整体营收128.41亿,其中安全及其他业务收入为4.73亿元,同比增长75.15%;

2020年,360整体营收116.15亿,其中安全及其他业务收入为8.08亿元,同比增长70.73%。

增长势头很好,但所占营收的比重,就得自己品了。这是此前周鸿祎面临的最大问题:旧的故事讲不好,新的故事不好卖。

在360安全板块上,其营收严重依赖于大的来自于G端和B端的合作。

汽车领域,可能会是周鸿祎打开销量的一条路子。毕竟,特斯拉刚出了那么大的事,这个市场还是很有想象力的。

回到周鸿祎和哪吒汽车本身。在谈到为何牵手360时,张勇给了以下三个理由:

一、360在软件、AI技术方面的积累;

二、周鸿祎在互联网营销上的卓越见解;

三、360可以帮助哪吒汽车拓宽融资和IPO路径。

第三条应该是刚需。

周鸿祎为什么要选哪吒,如果你仔细看看国内的造车新势力们,大概能得出一个“没得选”的结论,至于周鸿祎为什么要造车?

你去看看周鸿祎还有别的路能走吗?换言之,不是周鸿祎想造车,翻翻过去周鸿祎讲过的故事,围绕着他“大安全”的这把“AK47”,也就在造车领域还能有点想象力了。

总之,还是想对周鸿祎说一句:端起这把AK47,再折腾一次吧。

反正车如流水马如龙,花月正春风。

 

加载中...