新浪财经 产经

小米造车 雷军还没有想好

界面新闻

关注

原标题:小米造车,雷军还没有想好

记者 | 程迪

2013年,李斌找雷军聊天,说自己准备掏1.5亿美金去造车。

5年后的NIO DAY,雷军依旧清楚记得李斌第一次找他聊造车时的情景:“那时国内互联网造车特别特别热,有好几百个团队都在做,我在之前已经见了20多个创业者想要造车。”

雷军开玩笑说:“那时候,一谈造车就感觉像是骗钱似的,我当时觉得李斌也是个骗子。”

也是这一年,雷军去美国拜访了马斯克两次,并试驾了新推出没多久的Model S。他发现当下最热门的硅谷明星,不是互联网产业的人,而是做电动车的马斯克。他对这个比自己小3岁的硅谷新一代巨星充满了敬佩,在他看来,这辆智能电动车的外观并不算得上拉风,但只要开过,就会明白这辆车能有多酷。

“我们干的好像都是别人能干的事情,而马斯克干的事是别人想都想不到的!”雷军曾如此感叹。

当然,雷军对特斯拉充满好奇与好感的另一个原因,就是当时投资者对其背后智能电动汽车行业的乐观态度,直接导致特斯拉在一年之内涨了7倍,还在当地时间8月26日突破200亿美元。 

雷军甚至将自己的这段“心路历程”写在了自己公众号上,让无数人认为小米也要进军造车业,而那段时间小米的股价也狂涨不止。

没多久,小米官方就雷军的一系列行为给出8个字:“等等看看,暂时没有。”

只要和车有关的,雷军都愿意投钱

2014年1月底,特斯拉Model S终于进入中国,售价为73.4万人民币起,比预计的200万人民币低了近三分之一。雷军在第一时间就兴冲冲地预定了2辆——一辆给自己,另一辆送给了和曾经的战友,阿里巴巴合伙人俞永福。

当被问及他为何如此看好电动汽车时,雷军表示特斯拉本质上依靠的就是“软件、硬件及互联网”,这和小米手机的商业模式不谋而合,所以会让他对马斯克“惺惺相惜”。

年底,有一网友在微博上发文称:“在近期的中国车联网大会上,小米科技董事长雷军高调露面并表示,小米与某知名车企秘密研制的小米纯电动汽车,预产最快2015年实现量产。”

雷军本人立马表示:谣言!自己从没有参加过什么中国车联网大会,自然就不可能“高调”宣布小米研发电动汽车。而且,他坚持表示小米目前并没有计划造车,公司的关注点依旧落在智能手机等核心业务上。

2015年,雷军创立了“顺为资本”——这个投资机构的名称,源自雷军微信号的个性签名“顺势而为”,成为了许多汽车相关领域初创企业的钱袋子,除了蔚来与小鹏,2015年到2018年间,起码有二十多家与造车或出行相关的初创公司,他都撒过钱。

比如国内首个自动驾驶“独角兽”Momenta;致力于无人驾驶汽车核心技术,产品曾荣登2018年央视春晚舞台的科技公司“智行者”;5年前一度闻名业内的车联网品牌博泰等,顺为资本都曾参投过。

不仅如此,顺为资本还涉足了汽车后市场和共享出行。前者有人人车、车车车险,二手车理财平台“车财多”;专门针对汽车售后连锁维修养护的云平台“开思汽配”,专做汽配服务的APP“好汽配”;后者有货拉拉,ofo小黄车、立刻出行和小白单车等。

从两轮电动到电动摩托,都是风口上飞起的猪

顺为资本撒钱最多的地方,还是在造车领域,甚至对两轮车也是兴趣盎然。

也是2015年,雷军购买了一辆炭纤维山地车Trek Pro Caliber SL 9.9。为了这辆车,特地邀请Trek中国团队来到小米总部,为车调校的同时指导他如何正确地骑行。

同年,旗下小米生态链企业Ninebot收购了电动平衡车鼻祖Segway,Ninebot & Segway一跃成为全球最大的平衡车公司。

由小米和郭台铭投资的云造智能电动自行车,发布了智能电动车云马X1和云马C1。不过上市没多久,就被爱沙尼亚设计师Matti Ounapuu怒斥抄袭,指出X1和他在2013年设计的Stigo折叠电单车无限相似。创始人就此邱懿武“一蹶不振”,将自己单车情怀彻底埋葬,奔向了电子烟的风口。

不过雷军不以为意,他崇尚风口论,更看重时代对事业的助益——1年后,小米的“亲儿子”QiCycle R1智能公路自行车上市。

这款定价高达19999元人民币的产品,源自自行车车友社区APP“骑记”的开发团队,本质上是这个小众网络社区的线下终端。因此QiCycle R1无论外观、定价和定位,都不适合小米的受众,属于典型极小众人群的狂欢。1年后推出的Qicycle折叠廉价版也没激起多大的水花。

2017年,雷军似乎又看上了电动摩托市场。

4月初,他在印度考察时通过微博发布了一则视频,表示“小米即将在印度发布一款智能摩托车,它和小米手机一样也是高品质、高性价比的产品,很快就会上市,希望大家可以向支持小米手机一样,支持小米智能摩托车。”

视频没有介绍这款摩托车的相关数据,也没说是否会在国内销售。因此许多人觉着这应该是印度特供,也有不少网友认为,这是雷军在愚人节开的一个国际玩笑。

8个月后,印度首屈一指的商业报刊《The Economic Times》称:中国智能手机厂商小米最近给印度公司注册局提交的一系列监管文件,表示“小米希望能在印度销售各种交通、运输车辆和其他运输设备,包括部件和备件,无论这些车辆是基于电动、其他任何动力或是机械动力。”

不过这几年,没再听到什么关于“印度小米特供车”的后续消息。

从“米斯拉”到奔腾T77,小米的跨界合作有点虚

2018年初,突然有自媒体爆料称:小米已经和北汽集团达成战略合作协议,双方将合作推出一款自带小米MIUI系统的量产车,代号“米斯拉”,售价3.9万元,还放出了雷军与前北汽掌门人徐和谊的合影,及这款车的概念图。

没过多久消息就被辟谣了——所谓概念图是PS恶搞。两人的合影实际日期是2017年7月28日。那天,小米与北汽集团的确签署了战略合作协议。但具体内容是什么,小米与北汽集团都没做出任何肯定答复,只知道北汽前董事长徐和谊在雷军的陪同下,在北京五彩城小米之家参观体验了一番。雷军给徐和谊介绍并演示了小米的全系产品,其中就有车载空气净化器、车载充电器、智能行车记录仪等一系列和汽车息息相关的产品。

有不少媒体猜测,或与智能驾驶有关。

4月,小米MIUI发布了旗下首款汽车产品“米车生活APP”。发布当天,中国国际贸易促进委员会汽车行业分会、中国国际商会汽车行业商会、汽车行业内的七十余位企业高层及各地米粉代表前来捧场。

11月,中国第一汽车股份有限公司与小米签署战略协议。双方承诺将依托一汽在出行领域的积累经验,以及小米AI技术和优势生态,在人工智能、智能设备、物联网等领域开展基于量产的深度合作,共同为消费者提供良好的出行体验。

这场战略合作早在3个月前就曾初露端倪,当时有不少媒体“奔走相告”:小米或将和一汽奔腾合作推出一款新车“奔腾T77”,作为奔腾全新品牌战略发布后的首款产品,甚至还有人将这款车称为“国产特斯拉”。

不同于之前的“米斯拉”,打3D全息影像系统的奔腾T77赶在一汽轿车与小米签约前一个月隆重下线。但这款车似乎没有涉及到任何与小米有关的产品细节。

不少科技自媒体认为,跟北汽一汽签约、发布米车生活APP,投资汽车相关领域等动作,其实是小米为了丰富自家生态圈,完善旗下产业链的必经之路,他不会真的涉足汽车领域。且当时国产手机领域还在“百团大战”中后期,依旧热闹非凡,除了要抗衡华为,小米身后还有OPPO、VIVO、金立、魅族、锤子、一加、联想、中兴TCL、海信……等一众品牌虎视眈眈。

王川曾说:2019年底或2020年初,是入局造车的好时机

2019年,小米几乎成了车圈媒体的半个老熟人。

6月,奔驰在CES Asia国际消费电子展上秀出一款极具未来感的座舱。坐在其中,用户只需通过语音便能控制家中的智能设备——从吸尘器到热水器,都可以实现远程唤醒,还能得知相关工作情况的反馈。

座舱的核心系统MBUX是由小米与奔驰合作打造,并自带智能语音助手“小爱同学”。除了即时下达指令之外,这款充满了车家互联新模式的座舱,还能实现定时服务,让用户及早安排所有家居生活相关事宜。

1个月后,小米有品终于等来了“史上最贵产品”——奔腾T77真出了一款“米粉定制版”车型,也是小米跨界进军汽车领域后的第一款量产车。

这款定制版与原版车型最大的不同之处,是3D全息影像系统里集成了小米智能语音交互系统的“小爱同学”,支持行车过程中的语音交互和视觉互动,车主能够通过“小爱同学”对奔腾T77进行语音控制。售价也比原版贵了近4万,为12.48万元起。

不过,这款特别定制版并没有引起米粉们的疯狂哄抢。

曾有人做过一个统计,从7月25日上午10点上架到26日下午6点,这32个小时里共有140辆车被预定。比照普通款奔腾T77在2019年5月138辆的日均销量,基本持平。

这个不好不坏的结局,似乎让小米高层意识到了新造车是值得一搏的风口和时代机遇——2019年第三季度的小米决策层董事会上,小米集团联合创始人王川曾主动拿出汽车行业调研报告向雷军建言:2019年底或2020年初,是小米入局造车的好时机。

但凡说小米要造车的,都是假新闻?

2020年至今,小米一直在“造车”和“不造”中,反复试(辟)探(谣)。

年初,小米被爆出申请了一项名为“变速车档位自动推荐的方法和装置”的专利。

4月,车联网公司博泰宣布获得小米B轮战略投资,双方准备在软件、硬件、语音多场景交互等方面全方位合作。

6月,以自动驾驶技术为业务中心的比亚迪半导体开启A+轮融资,金额达8亿元人民币,投资方名单里,小米赫然在列。

全世界都明白其投资动机。自动驾驶技术是未来的创新科技发展方向,小米作为一家互联网+科技企业,必须其中占有一席之地。如今比亚迪成立半导体公司并引入投资机构,坚信“顺势而为”的雷军自然不会错过机会。

一来,小米在2017年研发澎湃S1芯片后再无新进展,之后还将松果电子拆分成南京大鱼半导体,可见其自主发展芯片方面的确是举步维艰。二来是为了花小钱省更多钱更多心,贾跃亭投入百亿造车最终让整个乐视万劫不复,前车之鉴历历在目。

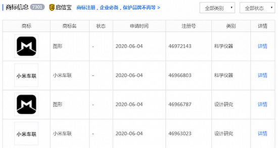
几乎是同时,有媒体通过天眼查发现,小米科技已悄悄申请注册了“小米车联”商标以及注册相关图形商标。

有接近小米内部人士猜测,如果从投资协作角度看,小米参与互联网造车完全是有可能的,自己下场造则是另一回事,其实可能性不高。但更多人认为,近几年小米生态链高速发展且不断涉足陌生领域,再加上酷爱“真香定律”的雷军,小米造什么都有可能。

投资比亚迪之后没几天,小米商城突然发布了一张有明显汽车轮廓的海报,并搭配文案“造车?我们是认真的!”彻底将小米的“造车传闻”推向了新一轮高潮。

谁知海报发出当天,小米公关总经理徐洁云紧急辟谣,称是同事抖错了机灵。小米商城也对此进行解释,称其实就是一辆1:16的智能遥控车,售价为199元。

许多网友对这样的结局似乎已习惯,甚至戏精附体纷纷“遗憾”表示:“天哪,人生第一台车就这样没有了”。

同年12月,由比亚迪电子和小米共同创立的联合实验室,在比亚迪电子惠州园区正式落成。据传,这座实验室其实是比亚迪为小米手机部打造的,将充分发挥比亚迪电子的制造和检测能力,向小米手机提供“一站式”解决方案。

4天后,网上突然曝出一组图片,显示小米旗下某生态链公司似乎正与比亚迪联合推出一款型号为青悦S1的车型,这款车的最大特色是采用了软顶敞篷,支持电动收纳,售价仅为84999元人民币。

小米再次赶紧对这一造车消息进行否认。现任集团总办副主任的徐洁云更是在社交媒体上拍胸脯表示:“但凡说小米要造车的,都是假新闻。”

不是不造车,而是还不清楚参与的方式

许多人之所以觉着小米真准备造车,很大程度上是因为——在风口上,猪也能飞起来,所谓的风口不仅是赛道,还有时间节点。这两个月来,不仅有苹果、百度这样互联网及科技大厂杀入智能汽车市场,恒大和宝能为代表的传统房地产公司,以吉利为代表的传统车企在造车上动作频频。

已在金山软件上吃过一次亏的雷军,肯定不会再错过这样一个风口。不然,怎么对得起自己“顺势而为”的微信签名。

而且如今的小米不差钱,光2020年底小米又通过增发配售股票、发行可转债的方式获得了近40亿美元资金,足够再造3个蔚来。

但这两年,小米选择一次又一次辟谣,在造与不造之间反复横跳,原因也很简单——去年9月国家正式实施的《新能源汽车生产企业及产品准入管理规定》,虽然删除了有关 “设计开发能力” 的要求,降低了新造车入局门槛,但“汽车生产能力”这一条基本要求,仍然存在。

据专利检索平台智慧芽的数据显示:2015年到2019年间,小米在汽车相关专利中发明专利的申请总量超过了630件,2020年(不包括部分未公开专利)的申请量约为134件,总合已经超过了800件。

但相关发明专利还是主要集中在无线通信网络、电数字数据处理、数字信息传输、图像通信、交通控制系统、距离测量、导航等领域等,相关专利技术以原创为主,尚未深入到汽车整体结构的设计,更多的是以功能性开发为主,汽车的零配件专利占比较低。

说是为造车辟谣,还不如说是小米还没确定好造车的具体形式和路径——到底是学习蔚来好榜样,一切从头自己来;还是像苹果一样,选择与传统车企合作进行造车;亦或是继续以资本的方式进入,将造车看成是打造小米生态的重要一环。

无论哪种,我们都会充满好奇与期待,只待另一只靴子落地。

 

加载中...