新浪财经 产经

山东藏奥堂生物科技有限公司因涉嫌传销再被法院冻结账户

中国网

关注

原标题:山东藏奥堂生物科技有限公司因涉嫌传销再被法院冻结账户 

中国网财经12月30日讯(记者 高多多)近日,中国裁判文书网发布一则其他行政裁定书,显示,山东藏奥堂生物科技有限公司因涉嫌传销,被法院冻结在金融机构的存款、理财、期货等财产。

案情显示,菏泽市牡丹区市场监督管理局在查处被申请人山东藏奥堂生物科技有限公司涉嫌传销一案中,为防止被申请人转移或者隐匿违法资金,于2020年12月9日向发院提出申请,申请冻结上述被申请人在金融机构的存款、理财、期货等财产。(冻结金额及账户见附件)。如财产保全有误,申请人愿承担一切法律责任。

经审查,法院认为申请人的申请符合法律规定,依照国务院《禁止传销条例》第十四条第一款第八项、《中华人民共和国行政诉讼法》第一百零一条、《最高人民法院关于适用<中华人民共和国行政诉讼法>的解释》第七十六条、第一百五十九条、《最高人民法院关于人民法院民事执行查封、扣押、冻结财产的规定》第一条第一款之规定,裁定冻结上述被申请人在金融机构的存款、理财、期货等财产。

天眼查显示,山东藏奥堂生物科技有限公司(原名:山东藏生堂生物科技有限公司)成立于2016年4月29日,注册资本为1404万元,葛相宇担任法人、执行董事兼总经理。该公司隋传吉持股43.59%,张毅持股28.21%,李玉持股28.21%。

值得注意的是,2017年12月,山东藏奥堂生物科技有限公司就因传销案件,被益阳市工商行政管理局赫山分局向法院申请冻结相关银行账户。另外被冻结的还有哈吉动力科技股份有限公司、青岛国隆生物科技有限公司、四川藏奥堂健康管理有限公司、四川藏奥堂科技有限公司、葛相宇、隋传吉、隋艳青、张毅、李玉、徐燕、吴鹏飞、栾春、吴鹏远、李长英、刘京泉等。

另外,法人葛相宇同时还担任其他3家公司的法人,其中包括山东圣萝兰生物科技有限公司、四川彦钰企业管理咨询有限公司,以及上述行政裁定书中提到的哈吉动力科技股份有限公司。

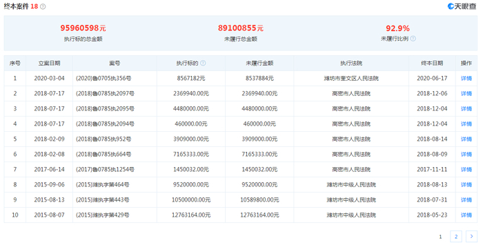
天眼查显示,哈吉动力科技股份有限公司司法风险高达110条,其中历史被执行人有23条,限制消费令11条,终结案件18起。作为被执行人,哈吉动力科技股份有限公司自2015年至今执行标的总金额达到9596.06万元,未履行总金额8910.09万元,未履行比例达92.9%。

2020年8月5日,有媒体报道称,有知情人媒体反映哈吉动力科技股份有限公司(以下简称:哈吉动力公司)主要是以其公司生产的藏生堂足浴产品拉人头,让报单成为会员产品,再配相应的产品,制度模式是双轨、无限代的发展,从而形成金字塔结构,制度模式被质疑传销,还宣传产品抗癌、降三高等功效,及分享多个治疗功效的对比。

奖金制度无限代不管发展多少个A、B市场都和你有关系哈吉动力公司星耀国际系统葛德珍推送的电子版和音频制度讲解:哈吉动力公司主要分为三个奖项及三个报单级别,一是直推奖,银卡会员是1200元,配等值产品,相当于1000PV积分,周薪封顶3万,直推一个人即可提成6%;金卡会员是3600元,配等值产品,相当于3000PV积分,周薪封顶6万,直推一个人即可提成10%;钻卡会员是7200元,配等值产品,相当于6000OV积分,周薪封顶8万,直推一个人即可提成12%。例如:自己报单一个银卡1200元,再推荐一个银卡,以1000PV*6%=提成60元,银卡推荐3000PV*6%=180元,银卡推荐6000PV*6%=360元。例如:自己报单一个钻卡7200元,直推一个银卡*12%=120元,推荐金卡*12%=360元,直推钻卡*12%=720元,所以公司通常建议报单7200元,享受利益更大化。

二是管理奖,也就领导奖、培育奖,银卡提成6%,金卡提成10%,钻卡提成12%,三是合作奖,也就是对碰奖,主要分别两个市场,银卡可拿14%,金卡16%,钻卡18%,例如:自己是钻卡,再直推两个钻卡会员,也就是A、B市场,对碰奖后即可拿两人报单积分*18%=对碰奖2520元。A、B再分别往下发展A、B市场,以此类推,业绩不清零,可以无限代的发展,不管多少代都会和你有关系。宣传多款产品防治功效并分享患者服用后奇迹对比星耀国际系统庞伟明推送多款产品和哈吉动力公司甘利清海参昆布葛根复合片患者服用后的奇迹效果。

根据《禁止传销条例》第二条规定,本条例所称传销,是指组织者或者经营者发展人员,通过对被发展人员以其直接或者间接发展的人员数量或者销售业绩为依据计算和给付报酬,或者要求被发展人员以交纳一定费用为条件取得加入资格等方式牟取非法利益、扰乱经济秩序、影响社会稳定的行为。

对此,中国网财经将持续关注。

加载中...