新浪财经 产经

“今日油条”被今日头条告了 老板回应:我是头条的忠实用户

每日经济新闻

关注

原标题:商标极相似,“今日油条”被今日头条告了!老板回应:我是头条的忠实用户

继碰瓷四大互联网巨头出现“阿京腾百”的商标之后,又来了家名叫“今日油条”的早餐店碰瓷今日头条...这家店铺近几个月来火爆网络,但由于该店铺装修、logo 与今日头条极度相似,然后今日头条母公司将该店铺背后公司告上了法庭。

看着这熟悉的今日头条红白搭配的风格,不知道的还以为字节跳动跨界餐饮行业,从此可以一边吃着“今日油条”一边刷着“今日头条”,累了还可以刷刷隔壁的“抖音”。

它们长得有多像呢?一起看看。首先来个LOGO对比。

一样是红白组合配色,甚至“红框底+白字”的形式也照搬过来。

再仔细看看这标语,也是相当熟悉的感觉。

今日头条:你关心的,才是头条

今日油条:关心你的,才是好油条

另外,就连菜单也是根据今日头条APP首页界面进行的1:1复制。

海报设计素材不够了?没关系,还有格力

今日油条每一处都充满了其他品牌的影子比如柜台的展板可以看到翻版的西贝莜面村。

“思聪吃热狗”?不,那是油条。

今日油条这是想把各个品牌都撩一遍吗?不过这招“借势建势”的招术,确实给“油条店”带来不小的流量和经济利润,小小的店面竟然成为了郑州美食网红打卡店,火了好几个月。

据潇湘晨报报道,有消费者购买后评论:

“在今日头条刷到了今日油条,首次消费体验特别愉悦,点餐的每一处细节都自带梗,点餐都想笑出声。”

“凭这个名字就要去吃一吃,味道不错,比很多小店干净。”

一时间引来热议,还上了微博热搜,网友们对此看法不一,有网友表示,小商家跨界蹭个热度,有利于市场繁荣;小小油条店,不能放过吗?

也有律师在微博上表示,这也是侵权?

当然也有不同的声音,认为大公司花了几十上百万设计出来的商标,转头就被抄过去,这种行为不被制止,将会有更多山寨。

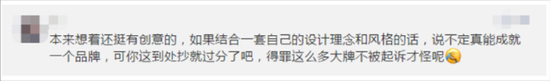
还有人表示,本来觉得挺有创意,但是到处“抄”就过分了。

甚至有网友纷纷开启了起名大赛“今日撇条”、“今日粉条”...

不过,今日头条可忍不了,怎么能白白让人蹭热度!这不,据澎湃新闻10月15日报道,今日头条母公司字节跳动就把今日油条告上了法院。

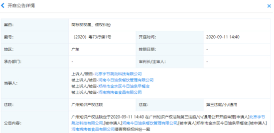
据启信宝显示,目前,该案于9月11日在广州知识产权法院公开开庭审理。北京字节跳动科技有限公司对此申请行为保全(案由为商标权权属、侵权纠纷),被告方为河南今日油条餐饮管理有限公司、郑州市金水区今日油条早餐店、河南烧烤者食品有限公司。

据悉,“今日油条”背后的公司河南今日油条餐饮管理有限公司成立于2020年05月13日,注册资本100万元,不仅短短几个月就开始了招商做加盟店,在今年7月份的时候还与正大集团签署战略伙伴关系协议,就是那个家喻户晓的节目正大综艺背后的大佬。

河南烧烤者食品有限公司成立于2017年10月16日,注册资本100万元。该公司有一条网站备案记录为www.jryoutiao.com,网站名称为今日油条。

打开该网站可见关于今日油条的介绍:河南烧烤者餐饮管理有限公司历经8年市场积淀,已成为集烧烤饮食文化研究、烧烤食材及设备研发供应、烧烤行业策划咨询、烧烤技术培训、烧烤品牌运营及加盟服务等综合战略业务于一体品牌化餐饮连锁集团,公司现运营有:“梁山烤肉”、“水浒烤肉”、“京城铁帽子王”、“烧烤客”、“今日油条”等五大餐饮连锁品牌。

郑州市金水区今日油条早餐店为个体工商户,核准日期为2020年6月16日,经营者为赵亚东。

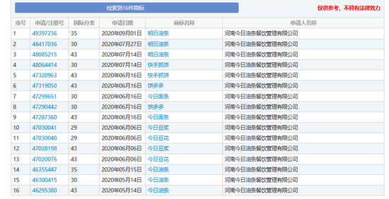
更厉害的是,河南今日油条餐饮管理有限公司成立第二天就申请了“今日油条”的商标,分别申请注册在第43类-餐饮住宿、第30类-方便食品和第35类-广告销售,申请注册了今日豆花、今日面条、今日豆浆、饼多多、快手抓饼、明日油条等商标,部分申请流程处于等待实质审查状态。

目前尚不清楚,拼多多、快手是否有把今日油条诉至法律。

对于被今日头条起诉一事,油条老板回应亮了...“只是觉得“傍大牌”好玩。”

据上游新闻报道,今日油条法定代表人张新亚回应称,大公司今日头条起诉卖油条的小公司今日油条,这令他不解。他天天刷今日头条APP,是忠实用户,“傍大牌”只是觉得好玩而已。

张新亚介绍,他从事餐饮行业已有5年。今年5月,他成立今日油条公司,现在郑州城区有3家店面,卖豆花、豆浆和油条。被今日头条起诉后,他有点懵,但已积极应诉。目前,判决结果还没下来。

对于为何要“傍大牌”,张新亚解释说:

我天天都刷今日头条APP,是头条的忠实用户,喜欢它的风格,爱看上面的新闻。开油条店时,就找人这样设计了,没想到被告侵权了。要是判我输,我只好面对。

那么“今日油条”能否因为近似“今日头条”商标而被驳回?油条店的门店装潢设计与“今日头条”雷同又是否构成不正当竞争?

据知识产权律师网介绍,“今日头条”系申请人字节跳动公司旗下具有极高知名度的内容分享平台产品,“今日头条”“头条”等多个类别的商标都归属于字节跳动公司,其中也包括第43类餐饮等服务大类上。

普通商标是按照申请注册时的类别进行保护,如果其他人未经商标权人许可,在相同或类似商品上使用与其注册商标相同或近似的商标,容易导致混淆的则构成商标权侵权。“今日油条”和“今日头条”、“油条”和“头条”仅一字之差,读起来也是“单押”,相隔不同行业,要说混淆还真不一定。

但是,驰名商标可以“跨类别”保护。即使不发生混淆,基于反淡化理论避免驰名商标显著性的弱化,也依然可以对驰名商标进行保护。

《商标法》第十三条规定,就相同或者类似商品申请注册的商标是复制、摹仿或者翻译他人未在中国注册的驰名商标,容易导致混淆的,不予注册并禁止使用。

该条款为驰名商标提供了更强的保护屏障。如果字节跳动公司有足够的证据证明“今日头条”商标的知名度和影响力,构成驰名商标,那么,即使消费者不会对两种商标所指向的商品或者服务来源产生混淆,但是很容易通过“今日油条”联想到“今日头条”,很有可能“今日油条”由于与“今日头条”关联度过高,而被不予注册。

另外,据证券时报报道,一位法律专业人士解释称,此类案件可能涉及《商标法》中第九条规定,申请注册的商标,应当有显著特征,便于识别,并不得与他人在先取得的合法权利相冲突;此外,《反不正当竞争法》中关于不得擅自使用与他人有一定影响的商品名称、包装、装潢等相同或者近似的标识的规定,在此类案件中也有适用性。

值得一提的是,一位接近字节跳动的人士对证券时报记者说,此类商标侵权诉讼是比较常规的操作,“一般是接到举报,然后安排处理,之前一个广东山区里的便利店也因为用了抖音的标志被告。这种事情一般处理方式就是协商道歉、要求对方承诺不再侵权,或者起诉。”

加载中...