新浪财经 产经

汇源果汁再成被执行人 执行标的超2700万

新浪财经综合

关注

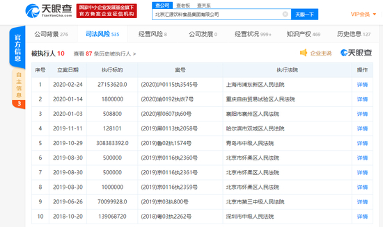
天眼查数据显示,2月24日,北京汇源饮料食品集团有限公司再成被执行人,执行标的27153620.0,执行法院为上海市浦东新区人民法院。

北京汇源饮料食品集团有限公司成立于2001年6月,注册资本约8.33亿,公司经营范围包括销售包装食品、饮料、果蔬种植、花卉种植等,法定代表人为朱燕彤。公司最大股东为北京汇源控股有限公司,持股99%;汇源果汁创始人朱新礼则持股1%。

天眼查风险数据显示,该公司现存10条被执行人记录,执行标的近5.5亿;现存67条失信被执行人,即“老赖”的记录;朱燕彤还有多条限制消费令,不得在星级以上宾馆、酒店、夜总会、高尔夫球场等场所进行高消费等。

从“国民果汁”到“老赖”,汇源经历了什么?据21世纪经济报道梳理,2007年,汇源果汁在香港联交所成功上市;2008年,可口可乐拟要约收购汇源果汁全部已发行股份。朱新礼为了提高汇源的资产评估价值,曾大举扩产,裁撤变革渠道减少成本,提高利润率,同时大量装入资产让公司评估价值进一步提升。但在这场收购案因触及《反垄断法》被商务部否决之后,一心打算提前退休的朱新礼“如意算盘”落空,大刀阔斧的“调整”也让汇源果汁元气大伤。

2009年至2016年,八年时间里,汇源果汁有七年扣非净利润处于亏损状态。到2017年中报时,汇源果汁的总负债规模已经达到115.18亿元。2019年9月底,先锋系先锋集团旗下P2P平台工场微金公布了一份四家借款企业以物抵债的公告,公告显示,伊春源原商贸有限公司、伊春汇源生态养殖有限公司、虎林汇源新生态乳业有限公司和虎林汇源新生态牧业有限公司四家因无法偿还418.5万元的欠款,拟以汇源果汁系列产品等抵债。

天眼查数据显示,这四家借款企业的控股股东均为北京汇源饮料食品集团有限公司,实际控制人为朱新礼,涉及借款的担保机构为北京汇源集团。随后,越来越多债务问题公开曝光。

2019年12月,朱新礼作为有权代理人的中国德源资本(香港)有限公司也被法院查封,41亿资产遭冻结。

加载中...