新浪财经 产经

60亿保健品老总猝死 早年持枪经商叫卖无批号痛风酒

时代周报

关注

原标题:“60亿”保健品老总猝死,早年持枪经商,叫卖无批号痛风酒

原创首发 | 时代周报(Timeweekly)文 | 叶万

演讲中突发心梗倒地猝死,网传身家60亿元却很快被“同事”否认…… 2019年的最后一周发生了很多事情,但最离奇的一件,却是一位保健品公司老总在11月17日意外身亡的视频,12月24日突然被推上了各大新闻媒体的热搜头条。

近日,时代周报新媒体(Timeweekly)记者多方调查确认,猝死的“保健品公司老总”,实为广东中亿健康科技发展有限公司董事长陈沛文。早在两年前,此人就已经被他的传记作者称为“十亿富豪”,其名下至今仍有十余家公司,涉及房地产、金融、采矿等多个产业。最后的作品,是一款没有保健品批号却宣称毫无禁忌、不需服药即可治愈痛风的“保健品”福唤·天敕宝痛风酒。 都知道喝酒会引起痛风发作。什么时候开始,喝酒还能治疗痛风了?缔造这一奇迹的,是一位早年挖砂拆船起家、敢于带人持枪对峙和叫嚣群架的商业大佬。

1

保健品公司老总演讲中猝死 

2019年12月24日,一则“保健品公司老总演讲中猝死”的视频被多家媒体转载、推送。这段只有两分钟的视频,将保健品与猝死两个颇具争议性的话题联系了起来,一时间引起大量网友关注。 猝死的保健品公司老总究竟是谁?起初,有网友曝出他是“健康专家”,“60亿身家”。但很快就有媒体揭开了他的真实身份——陈沛文,广东中亿健康发展科技有限公司的董事长,11月17日在演讲中突发心梗倒地身亡。

陈沛文与吴天荣 前述媒体还报道了陈沛文生前同事、中亿健康执行董事兼总经理吴天荣的“辟谣”说法。吴天荣否认了陈沛文的“健康专家”身份和“60亿身家”的说法,还声称网上的说法“都是瞎讲瞎说的”。 事实真的就是如此吗?时代周报新媒体(Timeweekly)记者发现,其实早在2018年1月,华夏出版社就出版印刷了陈沛文的个人传记《珠江好人》一书。这本书将陈沛文描述为“商业奇才”,刊载了他“从卖猪肉到银行家”“从海上抽砂到海水淡化巨头”以及在房地产、采矿行业投资等等几乎全部发家史。 网上为何传出“60亿身家”的说法,陈沛文的真实财富究竟有多少?这本个人传记,或许能够揭开书中主人公身家的冰山一角。

2

“60亿身家”并非空穴来风

早在广州大学城开始建设以前,最晚在2002年,陈沛文就已经在这座岛上建起一栋三层高五开间的大型别墅。随着大学城的动迁建设,这栋别墅被拆除,其价值已经无法考究。 不过从个人传记书中刊载的照片来看,陈沛文别墅装饰的豪华程度,即使放到十几二十年后的今天,也不逊色于市面上的同类产品。在其发迹的广州大学城北亭村,有两名老者向记者证实了这栋别墅曾经的存在,其旧址位于如今的岭南印象园码头附近。

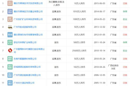
陈沛文早年所建别墅 接受采访的北亭村村民对陈沛文的身家财富并不了解详情,仅表示他已于十几年前搬迁至大学城南岸的谷围新村,“在我们这里是个名人,很有钱”“房产很多,到处都有吧”。 2018年12月,陈沛文个人传记的作者樽粮曾将该书的部分内容节选发到网络上,并把他称作“十亿富豪”。对于这一说法,受访村民比较认可。 直到猝死这天,陈沛文名下仍有多家公司的股权,包括广州番禺新华村镇银行股份有限公司、广州宝矿矿业环保投资有限公司、肇庆市鼎湖区文志置业有限公司、罗定市荣泰矿业有限公司等。此外其名下曾经还有游艇公司、酒店公司、燃料公司等,一部分已经注销,另有部分公司股权转至其子女陈锦城等关联人的名下。

陈沛文名下公司 在做生意上,陈沛文生前出手相当阔绰。陈沛文在罗定市与某矿业开发有限公司成立了合资公司,“在罗定境内四十五公里范6围内开采金矿”,每年的勘探费用超过600万元,整个周期长达三年半以上。 这位商业大佬曾从事拆船业,“大船能拆出几万吨废钢,小船能拆除几千吨废钢”,而当时的售价是“一吨钢材可以卖到六千多”,拆一条船可以卖几百万甚至上千万元。在其父亲出生地广东肇庆,陈沛文还曾差点买下一块别墅用地,“如果买下这块地至少可以赚四个多亿”。 后来,他终于在肇庆一次买了二十多块别墅用地,买完以后每亩地的价格从20万元涨到了2000万元。再后来,他又在当地市中心开发了一个建筑面积2万平方米的商贸城,“商铺每平方米定价一万七,商品房是四千多,二〇一二年的时候就全部销售完毕”。 仅从上面这些巨额的投资及收益来看,“十亿富豪”可谓实至名归,“60亿身家”似乎也不是空穴来风。

3

计划卖30亿,痛风酒查无批号

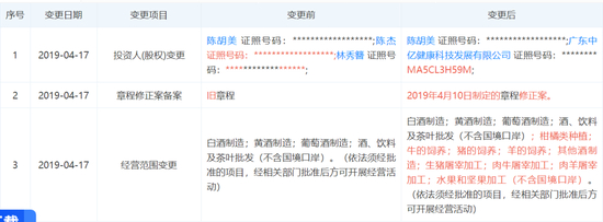
陈沛文的猝死发生在2019年11月17日,从视频来看,当天中亿健康正在为旗下的福唤·天敕宝痛风酒举办华南区启动大会,以及云霄痛风管理中心的启动大会。 福唤·天敕宝是一款主打治愈痛风疗效的所谓“保健品”,该产品系由福建省漳州市天敕宝酒业有限公司推出。查询天眼查数据发现,中亿健康在2019年4月17日通过投资人(股权变更)取代陈杰、林秀簪两人,正式成为天敕宝酒业的第二大股东,持股49%。

中亿健康投资天敕宝酒业

4月29日,中亿健康、天敕宝酒业在广州举办了“福唤天敕宝·痛风关爱品—重新定义痛风解决方案”产品新闻发布会暨市场启动仪式;8月6日,中亿健康公司再度举办开业大典,提出了三年内培养1000名专业销售人员、在全国完成337个城市代理商布局、服务于百万家庭以及总体销售额破30亿元的发展计划。 如此宏大的销售目标之下,福唤·天敕宝究竟是个什么样的产品呢?在国家市场监督管理总局及原国家食品药品监督管理总局官网,时代周报新媒体(Timeweekly)记者查询发现,天敕宝酒业公司仅有漳州市食品药品监督管理局颁发的食品生产许可获证企业(SC)证书,有效期为2019年5月7日至2023年12月13日。 如果查询结果无误,那么所谓的“保健品”福唤天敕宝痛风酒,实际上并没有保健品批号。即便能拿出相关批号,该产品宣称的“无需任何禁忌”“无需服用其它药物即可治愈”等疗效,显然也违反了市场监管总局于2018年12月出台的“保健食品不得明示或暗示保健食品具有疾病预防或治疗功能”的新规。

食药监系统未查询到福唤天敕宝批号
 

医学角度而言,酒精代谢会产生乙酸并进而导致尿酸排泄被抑制,因此过量饮酒是痛风发作的重要诱因之一。中亿健康宣称通过饮用该款痛风酒,无需对高嘌呤食物等忌口、无需服用其他药物或止痛药、无需饮用大量碱水排酸,就能治愈痛风。 喝酒治痛风的说法,是否可能存在科学依据?中亿健康公司并未给出相关医学研究数据,只是在公司开业典礼上介绍称福唤天敕宝痛风酒“采用特有的山泉,萃取糙米精华,融合30多种名贵中草药,百天破壁萃取浸制发酵,酒催药力药借酒引。” 时代周报新媒体(Timeweekly)记者查询相关论文发现,中国知网仅刊载了青海省大通县人民医院药剂科医师张吉德在2011年发表的一篇论文《痛风酒剂治疗痛风性关节炎的实验研究》,而论证饮酒与痛风发作关联性的医学论文则多达上百条。

福唤·天敕宝痛风酒广告 疗效神奇的福唤·天敕宝痛风酒,究竟从何而来?据天敕宝酒业公司官网介绍,该产品由身患痛风的吴天荣寻访得来,系“10种中草药结合传统古法研制”而成,经其“亲身试药有效”。目前该网站显示正在建设中,点击后已经无法打开。 就上述疑点,记者近日致电中亿健康及天敕宝酒业两家公司,但电话均未接通。

4

“传奇”发家史,暴力痕迹显露

吴天荣是谁,他与猝死的陈沛文究竟是何种关系?尽管两家公司未曾言明,但《珠江好人》一书却能解答这个问题。 在个人传记中,陈沛文拥有多个公益慈善头衔,包括位列2012年中国好人榜以及狮子会珠江服务队助残委员会主席等,他被刻画成了一副乐善好施、乐于助人的形象。 在被陈沛文“帮助”的人当中,就包括他的房客、当时从事净水机行业的企业家吴天荣,后来两人共同成立了广州市康洋海水淡化处理有限公司,“目前在国内势均力敌的同行只有四家,在短短的几年之内他们就成了行业内的佼佼者”。
从最早在大学城卖猪肉到后来在广州河道上挖砂起家,进而横跨银行金融、房地产、酒店、海水淡化、采矿等近十个行业,陈沛文凭的是什么?其个人传记书用了七个字来总结:一胆二命三风水。
大胆,被陈沛文及传记作者视为其成功最重要的第一因素。其发家过程也几乎无时不刻不遭遇到一些看似勇敢、实际却隐藏着暴力痕迹的故事情节。

大学城岭南印象园大门,旁边即是码头

最早在1988年开始挖砂时,陈沛文获批抽砂的河段是莲花山到现在的广州大学城的位置。当时“他和朋友们每天早晨开车去珠影大酒店喝早茶,一人一部大哥大放在桌上,脖子上挂着比手指还粗的金项链”,可谓赚得盆满钵满。不过他们很快遇到了“敲诈”,有人以抽砂船挡住航道为由“穿着制服持枪闯到船上”要收罚款,陈沛文则带领村民持猎枪与其对峙。

第二次的冲突发生在洛溪水域,当时陈沛文的抽砂船不小心抽倒了河堤,被附近村民扣押要求罚款50万。陈沛文怒火中烧,一抬手把办公室的桌子掀翻,扬言“你能找一百人,我就能找三百人,看谁能打过谁”。最后,“因为他们村子只有一千多人,而北亭村有三千多人”,该村村民选择息事宁人。

陈沛文的河道挖砂事业只延续到了1994年下半年,但冲突却是一直延续到了后来。2004年开始在肇庆买地时,他找去看地的朋友遭到五十多个人围堵,最后在他的帮助下才脱离险境。 2006年,陈沛文参加投标拍卖位于从化市的华夏大酒店。当时外地卖家遭到当地人威胁“如果谁拍卖的时候举牌,出门就砍掉他的手”,并安排几十个彪形大汉人盯人。然而,陈沛文在当地找了“一些有影响力的朋友”,顺利化解危机收购了这家酒店。 “这种暴力威胁的情况很普遍,在各地都有。从事拆船生意的时候,也存在这种情况,但都被顺利解决了。”陈陈沛文的传记如此记载。面对暴力威胁,颇有大佬意味的他每次都显得彬彬有礼;但最后获胜的,又总是这个不露峥嵘的叱咤人物。

如果说这里面一点都不诡异,你会信?

加载中...