新浪财经 产经

福州丨未验收擅自交付!奥园平潭项目公司受官方处罚,保竣工变为抢交付?

市场资讯 2022.05.06 18:00

福州丨未验收擅自交付!奥园平潭项目公司受官方处罚,保竣工变为抢交付?

来源:乐居新媒体

乐居新媒体 孙萌 发自福州 日前,平潭综合实验区综合执法与应急管理局发布“对平潭宏新置业有限公司未组织竣工验收擅自交付使用的行政处罚”。

内容显示,平潭宏新置业有限公司未组织竣工验收擅自交付使用,被处以罚款人民币21743元。该公司实际为奥园地产子公司,在平潭开发建设了奥园城央玖著项目。

奥园平潭项目公司未经验收擅自交付受到处罚

据平潭综合实验区综合执法与应急管理局消息,对平潭宏新置业有限公司未组织竣工验收擅自交付使用,作出罚款人民币21743元的处罚决定。

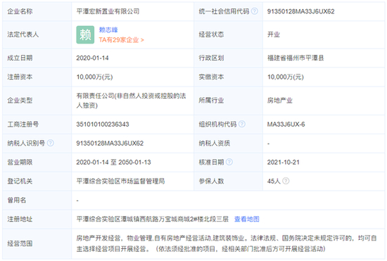
企业查询网站信息显示,平潭宏新置业有限公司成立于2020年01月14日,注册资本1亿元,注册地位于平潭综合实验区潭城镇西航路万宝城商城2#楼北段三层,法定代表人为赖志峰。经营范围包括房地产开发经营,物业管理,自有房地产经营活动,建筑装饰业。法律法规、国务院决定未规定许可的,均可自主选择经营项目开展经营。

股权穿透信息显示,广东奥园商业地产集团有限公司实际为该公司最大股东,持股比例达57.5%。

此外,平潭宏新置业有限公司目前共有多达4亿人民币的股权被福州市中级人民法院执行,处于冻结状态。2020年10月下旬,其母公司广州奥辉科技有限公司还向兴业国际信托有限公司出质数额为10000的股权。

资料显示,平潭宏新置业有限公司在平潭开发有奥园城央玖著项目。该项目位于平潭前进路与万景路交汇处西北处,总规划户数为824户,容积率2.3,绿化率35%,物业公司为奥园物业。

奥园进入平潭收获颇丰,因债务问题或中止福州市场布局

2019年,奥园地产首次进军福州地区,以平潭为起点连落多子,开发了奥园岚都壹号、奥园鼎新海樾岚庭、奥园翡翠岚都等项目。

2019年9月中旬,占地面积约110亩的奥园翡翠岚都项目首次开盘,推出577套高层产品,开盘当天即达成了408套认购,首开去化率72%,成交总金额高达6.9亿元,为奥园在福州的发展奠定了基础和市场信心。

随后,奥园又与鼎新、华易发展等公司联合开发了多个位于平潭的项目,逐步完善了区域市场布局。

时间来到2021年,市场环境低靡,诸多开发商陆续出现问题,奥园同样出现债务方面违约风险。据奥园集团在2022年1月19日发布的一份内幕消息称:其在近期及未来两年将有多笔美元债到期,其集团将不会支付余下本金以及后续利息。同时,鉴于现有充裕的土地储备,奥园集团并不预期在未来会有任何重大新购土地事项,而是将继续确保项目竣工交付,并降低运营开支。

该公告发布后,意味着奥园也将和绝大部分房企一样,在土拍市场上开启“隐身模式”,不购地也就意味着不会有新的项目面世,曾被寄希望进入福州主城区市场的奥园,至少在近年内不会有多少动作。然而,专注于保竣工交付的奥园,却在没有通过验收的前提下就擅自组织交付,显得有些操之过急。

责任编辑:刘万里 SF014

加载中...