新浪财经 产经

安以轩丈夫陈荣炼被捕!涉洗米华案,澳门三大“新赌王”栽了两个

红星资本局

关注

牛年最后两天,澳门博彩业又有大事发生。

2022年1月30日,澳门警方在记者会上称,以涉嫌非法经营赌博罪、洗黑钱罪,拘捕一名陈姓嫌犯及一名蔡姓嫌犯。据媒体报道,其中的陈姓嫌犯,是知名艺人安以轩的丈夫、澳门博彩中介龙头德晋集团实控人陈荣炼。

红星资本局注意到,早在2021年12月洗米华案发后,就有消息称澳门博彩企业将陆续与博彩中介人终止合作关系。德晋集团此后曾发出声明表示,已收到个别娱乐场通知与集团暂时停止合作关系,将会遣散受影响场馆的员工。

澳门博彩业,甚至以博彩为支柱的澳门经济业态,正在悄然发生变化。

卷入“洗米华”案

安以轩丈夫陈荣炼被拘捕

1月29日,有香港媒体报道,澳门警方在调查太阳城集团董事长“洗米华”(周焯华)等11人涉嫌在内地开设赌场一案时(详情请戳:亚洲新赌王洗米华被批捕!网友质疑:利用爱国电影洗钱?),查出另一犯罪集团涉及不法经营网络赌博,并于1月28日拘捕一名49岁的陈姓男子和一名34岁蔡姓男子。

1月30日早10点,澳门警方在记者会上称:本月28日在澳门新口岸区酒店截查一名陈姓嫌犯及一名蔡姓嫌犯,随后以涉嫌非法经营赌博罪、洗黑钱罪将他们拘捕,两人在查问期间拒绝合作。警方经搜查他们的路氹城住所和皇朝区办公地点,发现大量犯罪证据,包括410万港元现金(约合人民币334万元)、电脑服务器等。被捕两人被移送当地检察机关

其中,陈姓嫌犯主要涉嫌操控集团非法经营网上赌博,而蔡姓嫌犯则涉嫌协助陈姓嫌犯进行有关行为。虽然拘捕行动针对不同犯罪团伙,澳门警方相信,此次案件和去年11月案件——即洗米华案为同一案件。由于案件仍在调查中,不便公开具体细节

有消息指出,被捕两人中,包括知名艺人安以轩丈夫陈荣炼。公开信息也显示,陈荣炼是1972年出生,年龄和警方公布的嫌犯相符。

根据此前洗米华案的官方通报,为牟取非法利益,洗米华发展中国境内人员为股东级代理和赌博代理,通过高额授信、推广赌博业务、提供车辆接送服务和技术支持等方式、手段,组织中国公民赴其承包的境外赌厅赌博、参与跨境网络赌博活动;此外,利用地下钱庄等非法渠道为赌客提供资金结算服务,逐步形成以周焯华为首,张宁宁等人为骨干,人员固定、层级明确、人数众多的跨境赌博犯罪集团。

截至2020年7月,该犯罪集团共发展股东级代理199人,发展赌博代理12000余人,发展中国境内赌客会员8万余人,涉案金额特别巨大,严重妨害了我国社会管理秩序。

名下博彩中介已启动裁员

陈荣炼的另一个身份,是澳门博彩中介龙头德晋集团的实控人。

德晋集团于2007年在澳门成立,是主要博彩中介人之一。截至2021年10月,其旗下开设在赌场的贵宾厅转码数已超过太阳城,成为澳门最大的博彩中介人,前线员工超过600人。

据香港媒体报道,在洗米华案中,有多宗案件与陈荣炼的德晋集团有关,而且涉案总金额超过3亿元人民币。

红星资本局注意到,2021年洗米华案发后,有消息称,多家澳门博彩企业提出与博彩中介人终止合作关系,并要求关闭设于场内的贵宾厅。12月8日,德晋集团发出声明表示,已收到个别娱乐场通知与集团暂时停止合作关系,将会遣散受影响场馆的员工。目前,德晋集团的官网和Facebook主页已经无法打开。

另据21世纪经济报道,中国检察网披露的起诉书中,2019年来,有5篇涉及澳门德晋集团的起诉,其中有一篇起诉书直接指出德晋集团以合谋、合作角色在内地非法跨境开赌。

相关起诉书指出,德晋集团在2017年5月和江苏人卫品良合谋在内地开设网络赌博,由德晋集团提供网址和投注账号,并将菲律宾马尼拉德晋厅赌博画面即时传送到卫品良在宜兴的茶叶店等地。卫品良在2017年至2019年期间,用1500万港元入股德晋,并聘请专人为50多名赌客预订机票、食宿,并安排到德晋及太阳城的赌厅赌博,涉及赌款超过1.7亿人民币。

该案件由江苏无锡新吴区检察院2020年底提出起诉,暂未有判决结果。

还是一家港股上市公司最大股东

曾经,澳门博彩业中有一类人被称为“叠码仔”,实际上就是中间人,负责寻找客源、引诱赌客到赌场赌博,并获得赌场佣金。

公开报道显示,澳门有三大百亿富豪是从“叠码仔”起家,分别为洗米华、陈荣炼,还有知名女星吴佩慈的男友纪晓波。这三人都曾被称为澳门“新一代赌王”,如今他们之中已有两人被捕

洗米华常年担任八卦新闻男主角,纪晓波则因金立手机老板在其赌场输光公司而“恶名远扬”。与他们相比,陈荣炼显得低调不少。

陈荣炼原籍福建省晋江永和镇茂亭村人,曾任澳门福建体育会理事长、德晋慈善会会长、德晋贵宾会董事长等。

小学毕业后,陈荣炼跟随哥哥来到澳门,寄住在叔叔家。从澳门学校毕业后便进入赌场工作,开始接触博彩业。2007年,已有一定积累的陈荣炼创立了德晋集团;同一年,洗米华也创立了属于自己的公司——太阳城。

据中国基金报报道,陈荣炼把德晋集团成立后的首间贵宾厅,开在了与赌王何家打擂台的银河娱乐

就在所有人都以为陈荣炼和何家不和的时候,2020年9月,香港联交所披露,陈荣炼夫妇以接近10%的溢价,收购了澳门励骏创建有限公司(01680.HK,以下简称“澳门励骏创建”)超过20%的股份,一跃成为该公司最大的股东。

澳门励骏创建,是赌王昔日旧部周锦辉、李志强协力创办,三太陈婉珍持股超过16%,是公司的第三大股东。经过此次股权更变,陈荣炼摇身一变晋升为第一大股东,第二到四位分别是李志强、陈婉珍和周锦辉。

Wind显示,澳门励骏创建是澳门娱乐及娱乐场博彩设施的领先拥有者之一,公司拥有两项主要物业一项是澳门置地广场酒店,其为集合酒店、娱乐场及豪华购物中心的得奖综合设施,特设五星级酒店及澳门首个主题娱乐场,位于澳门半岛中心地带;另一项是澳门渔人码头,其为位于澳门半岛外港并集合博彩、酒店、会议及娱乐的海滨综合设施。不过,澳门励骏创建近年来处于亏损状态。

截至红星资本局发稿,澳门励骏创建尚未在香港联交所就陈荣炼被拘捕一事发布相关公告。

除了博彩业,陈荣炼还涉足房地产业、仓储业等。

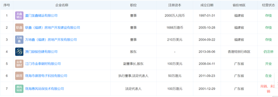
天眼查App显示,陈荣炼除了在澳门励骏创建有限公司担任联席主席兼行政总裁、执行董事外,在内地还关联6家公司,其中5家为存续或在业状态。同时,陈荣炼还担任珠海市德晋电子科技有限公司法定代表人,该公司系德晋集团有限公司全资子公司,目前德晋集团有限公司已告解散。

值得一提的是,2020年5月至8月,陈荣炼相继退出内地多家公司法定代表人及高管职位,包括珠海德晋文化传播有限公司、珠海市德新广告有限公司、上海德栩贸易有限公司等,这些职位均由高程雨琪接替。

澳门赌场贵宾厅业务规模或将逐步缩小

在澳门经济结构中,博彩业比例未来会逐渐降低。

对于澳门博彩业,澳门负责任博彩协会理事长宋伟杰曾在接受南方财经全媒体访时表示,澳门赌场贵宾厅业务在疫情前占比超七成,但近两年受疫情影响,贵宾厅业务与中场业务的比例已有所拉近,相信对澳门特区政府博彩税收将带来长远的影响。

坊间有声音称,贵宾厅制度将成为历史。对此,宋伟杰认为,澳门特区政府在修订《娱乐场幸运博彩经营法律制度》的咨询文本中,并没排除贵宾厅业务,只提及会加强中介人的监管。按照眼下市场环境来看,即便澳门博监局批出准照,博彩企业也未必会与博彩中介人重新达成合作协议,主要的决定权在博彩企业,但相信未来澳门贵宾厅业务的规模将逐步缩小

宋伟杰预计,澳门2022年经济平稳,很难再回到过去“井喷式”增长时期。从另一角度来看,宋伟杰认为此次事件或许将一定程度加快澳门经济适度多元发展的步伐。“特别是在非博彩业元素将投入更多,博彩业在澳门总体经济结构上的比例会逐渐降低。

澳门经济学会会长刘本立也曾在接受采访时指出,澳门博彩业受近期一系列事件影响,建议政府应对博彩业发展做好应对工作,特别是重新思考博彩业的发展走向。

红星新闻记者俞瑶 陶玥阳 综合报道

加载中...