新浪财经 产经

房产中介“凉凉”?有人3个月没开单,深圳半年内7000人转行

红星资本局

关注

红星资本局原创

记者|杨佩雯

如果现在搜索“房产中介”,在最新出炉的资讯里,标题多带有“房产中介消失”“房产中介凉凉”等语句,点进去,一篇篇不同视角的行业解读会进入你的视线。

有人说,房产中介在买卖双方之间两头吃,早就该消失了;也有人说,房产交易的手续很复杂,这个行业不可能在短时间内消失。

红星资本局注意到,从今年8月份开始,杭州、上海、深圳……一个又一个城市先后推出二手房自主交易等相关服务,“房产中介将死”的说法一时之间甚嚣尘上。

更重要的是,红星资本局发现,在今年的房地产调控政策下,部分城市的二手房交易量相比往年明显下降,部分中介撑不下去只能选择转行,有的城市甚至迎来了闭店潮。

市场低迷

从业人员:三个月没开单

张元磊(化名)是在深圳从业6年的老房产中介,在他的贝壳找房APP个人页面上,“荣誉墙”挂满了称号,至少要往下划三页才能到底,他的贝壳分打败了100%的经纪人。

可以说张元磊已经站上了行业金字塔顶端,但今年他也有力不从心的时候,“我以前一个月能开两单,现在两、三个月才开了一单。”

类似的情况不仅发生在深圳。

在北京,回龙观一直被称为“睡城”。这里毗邻西二旗和奥森公园,又有13号线贯穿东西方向,房价相对较低,一度成为互联网从业人士们的安家选择之一。

李超(化名)工作的中介门店就在回龙观地铁站附近,他从事中介工作已有8年多的时间,“我们的客户基本上都是互联网行业的,他们大多是刚需客户,有需求就会买。”

在李超看来,今年的市场一直不温不火,客户观望情绪比较重,从看房到成交的时间可能拉长到三个月左右,“我已经差不多3个月没有开单了,不过我以前也挣到钱了,可以吃老本。

门店一直在招人

学历放宽,走的却比来的多

相比起张元磊、李超这样的普通房产中介,已经成为链家某门店负责人的王伦(化名)对过去一年人员流动的感受更加深刻。

“二手房指导价出来后的那三个月,影响有点大。当时我们还是正常工作,虽然客户少,但来看房的客户都比较诚心。”王伦称,即便这样,他们门店仍有人因开不了单选择转行。

据王伦观察,离开房产中介后做各行各业的都有,销售行业居多,比如保险销售、家装销售。

有人流失了肯定就要补人,我们一直都在招人,但是招人也不好招,招到的人还没有走的人多。”王伦说。

自从今年1月添加了王伦的微信后,红星资本局注意到,他时不时会在朋友圈发送门店的招聘信息,对学历的要求却在悄然发生改变,从“本科学历”放宽到了“专科、本科学历”。

据媒体报道,自2018年起,链家开始在中介招聘中纳入统招本科生的比例要求。截至2020年11月,全国链家经纪人统招本科生占比提升至44.4%。

红星资本局获悉,链家在部分城市的招聘中,本科学历曾是要求之一。不过,随着房地产行情的低迷,房产中介转行到其他行业,部分城市对应聘员工的学历要求也有所放宽。

有成都链家招聘部的工作人员告诉红星资本局,过去一段时间,他们确实只招本科学历的员工,但现在放出来一些专科名额,“这主要是看公司当下对人员的需求量来调整。”

深圳迎闭店潮

半年内或有7000人转行

人员流失并不是某个门店特有的现象,据央视财经报道,截至6月30日,深圳市实名登记的星级从业人员数量为45458人,比去年同期减少11.8%。

(注:深圳的房产中介人员依照相关规定被授予相应星级,如星级人员在星级周期内暂时中止从事房地产中介及其关联业务的,星级暂停,暂停期间视为无星级。)

12月22日,红星资本局进入深圳市房地产中介协会(下称“深房中协”)的星级评价平台,对一星到五星的从业人员进行筛选,共有38345条相关的星级从业人员信息。

也就是说,在过去约半年的时间里,深圳市或又有7113名星级中介离开房产中介行业。

除了深圳外,全国的房产中介也在减少。一个比较直观的数据来自贝壳(BEKE.US)财报,截至9月30日,贝壳中介代理人(agents)的总数为51.55万人,相较二季度的54.86万人减少了约3.31万人。

与人员流失相伴出现的是,深圳中介门店“闭店潮”。

深房中协对深圳市4161间中介门店进行摸底调查发现,今年上半年有104间门店关闭且已办理工商注销,计划或已关停的门店占比达11.1%。另据央视财经引用相关数据,在今年前9个月,深圳市已有642家房产中介门店关停

“现在成交量低,开单的业绩肯定没法跟以前比,有的门店还要承担房租、人力的成本,这样一来就开不下去了。”在深圳从业超过5年的蔡亮(化名)对红星资本局说。

“逆势”入行

离开教培行业,他成为一名房产中介

红星资本局在采访中发现,有人在这一年离开房产中介行业,也有人在这一年闯入行业。

贾劲(化名)从海南大学毕业以后,曾在深圳的某教培机构工作。不过,在“双减”政策落地后,他离开了供职的教培机构,转而成为一名房产中介

“我工作两个多月了,现在还没有转正。”贾劲对红星资本局说,他现在是一名租赁中介,买卖交易比租赁复杂,一般入行都是从租赁业务做起,后面再考虑转为买卖中介。

对于贾劲来说,房产中介是一个“进可攻、退可守”的职业。

进,是贾劲认为房产中介行业充满挑战,他大可以试试看这个职业是否适合自己,“现在二手房的市场也不好,如果做租赁比做买卖收入高的话,我会一直做租赁。

退,是他早就给自己想好了后路——转行去做客户运营类工作,“我觉得客户运营和房产中介有点像,都是获取客源、维持客源和挖掘客源需求。”

贾劲称,他现在还有保底工资,暂时不用担心生计,但在过了保护期后,底薪会有所降低。“我们想要转正,大概要业绩(租赁的佣金)达到1万元。佣金一般是一套房首月的租金,业主和租客各出一半。”

据贾劲从行业前辈了解的情况来看,过去,租赁中介转正一般需要3个月左右的时间。不过,3个月即将过去,贾劲和他同批入职的4名员工都还没有转正。

对于和贾劲一样仍坚守在行业中的人来说,他们内心最大的定力就是对明年行情的看好。

“现在市场已经开始回暖了,明年应该会比较不错,因为有政策导向利好房产行业。”王伦对红星资本局说。

多个城市推二手房自主交易服务

部分房源价格低于中介,费用仅为中介费1/20

红星资本局发现,二手房的成交低迷,这几乎是今年各地的中介都会遇到的共同难题:

深房中协在三季度季报中称,今年以来,深圳的二手房网签呈现持续下降态势,9月网签量不足2000套,该数据创下其有网签数据以来的最低值。

克尔瑞报告显示,今年以来杭州二手房成交量“7连降”,10月杭州二手房市场(除临安、 富阳)成交2615套,创20个月新低。11月成交量成交3516套,环比上涨34.5%,但也只相当于去年同期的1/3。

中原地产数据显示,11月份,上海二手房成交1.5万套,环比10月上涨12%,并实现连续两个月小幅上扬。但相比全年成交最高峰1月份的4.4万套,仍然跌去了65.9%。价格方面,上海二手房价11月份均价环比下跌2%至5.16万元/平方米。

对于房产中介来说,到市场行情好了,成交量也会回升。

然而,从今年8月以来,多个城市先后推出了二手房自主交易服务,这对房产中介来说是真正直击要害的存在。

8月19日,杭州的“个人自主挂牌房源”功能正式上线。杭州市住保房管局称,这打破了传统依赖中介机构的房屋销售模式,构建了更为公平合理的二手房交易市场运行体系。

在杭州之后,上海和深圳等城市也先后在10月、11月推出相似的服务功能。一时之间,“房产中介将死”的说法已广泛传开。

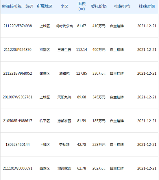
红星资本局对比发现,从网页布局等来看,杭州的情况相较更易于观察。在杭州市二手房交易监管服务平台(下称“平台”)上,房源被分为委托经纪挂牌房源和个人自主挂牌房源。

如果把时间限定在8月19日到12月21日,杭州的个人自主挂牌房源信息共有3582条。任意点进一条房源信息,页面都会显示房源所属小区、所属城区、建筑面积、规划用途、委托价格、挂牌时间、所在楼层、户型图、房屋内部图片等信息。

除此以外,该页面还会公布该房源是否在其他中介机构挂牌、挂牌价以及挂牌时间。

红星资本局注意到,部分个人自主挂牌房源的委托价会远远低于其他中介机构的价格。

以杭州市拱墅区一套建筑面积约60㎡的房源来说,该套房子在平台上的挂牌价为190万元,而在另外三家中介机构的挂牌价为238万元和240万元,最大的价格差达到50万元。

另据钱江晚报报道,一桩通过平台完成的交易中,买卖双方成交价为490万元。在整个交易过程中,买家仅需要支付4900元的提存公证费。而当事人表示,据他了解,如果找中介需要花费10万元左右。

自主交易平台尚未成熟

业内人士:中介不会消失

值得一提的是,平台页面除了房屋信息,还会公布挂牌人(即卖家)的姓氏和手机号,虽然这可以帮助买卖双方直接建立联系,但也给卖家带来了困扰

今年11月下旬,许昊(化名)把自己位于杭州市余杭区的一套房产挂在平台上,但在平台审核通过后,他从未接到过意向买家的电话,反而是遭到了各房产中介的电话轰炸。

“在审核通过的第二天,我从早上到晚上接了好多电话,大概有十几个中介打电话来,链家的、我爱我家的,都挺骚扰人的。他们都想让我把房源挂到他们的平台上,我有的平台挂了,有的没挂。”许昊对红星资本局说。

也就是说,在二手房自主交易尚未成为主流的房屋销售模式前,这一平台反而成为了中介拓展房源的工具。作为卖家,许昊评价称,“感觉(平台)没什么效果。”

12月7日,有杭州市某区房管处的工作人员向红星资本局透露,目前很少有买卖双方通过该平台成交,“因为涉及到资金安全问题,除非是关系比较好的亲朋好友。 

该工作人员称,如果是全款客户,平台暂时无法提供资金监管服务;如果是按揭贷款客户,需要买方自己联系银行等方面,也可以找第三方(即中介)付费获得相应的服务。

“平台以后会不会完善,现在还不清楚。”该工作人员对红星资本局说。

媒体报道也印证了这一说法,在钱江晚报报道的交易中,买卖双方是同一栋楼的业主,买家程先生一直想在同一栋楼里买一套房子给父母居住,在看到卖方在小区业主群中发布的信息后,他当即联系了卖家。

程先生称,他一直关注二手房自主挂牌进展,在得知杭州市国立公证处把提存公证业务引入二手房自主交易(可解决资金监管等问题)后,他和卖方协商通过该方式进行交易。

在资金监管问题通过提存公证业务解决后,二手房的自主交易量会迎来爆发式增长吗?

12月,红星资本局先后采访了杭州、上海、深圳三地的多名房产中介,但他们基本上都认为,即便推出了二手房自主交易服务,也不会构成威胁,不至于让房产中介整个行业消失。

“中介存在必定有它的意义。中介有专业的能力,相比客户在网上盲目地找,中介更容易精准地找到合适的房子,还会提供各种服务。”一名受访的房产中介对红星资本局说。

加载中...