新浪财经 产经

抖音一哥董先生珠宝一天卖两亿 是福利还是套路?

财经自媒体

关注

原标题:抖音一哥董先生珠宝一天卖两亿,是福利还是套路?

来源:开菠萝财经

见习作者 | 聂菲

经常刷抖音的朋友,一定看到过这样一个男人——董先生(抖音号“董先生珠宝”)。他亲切地称呼屏幕前的你为家人,教你买钻戒时的挑选方式和问价话术,口头禅是能帮你省下一半钱。

尤其是近3个月,他在抖音的存在感骤然上升,今年4月突然登上抖音带货主播榜TOP10,520直播当天成为抖音当日带货榜第一,抖音618期间代替罗永浩坐上了“抖音一哥”的位置。

在火箭般蹿升速度的背后,董先生在抖音的身份是拥有自己珠宝店的珠宝资产评估专家,其直播间售卖的珠宝价格少则1元,多则达19500元,100元以下的黄金珠宝福利款居多。开菠萝财经发现,粉丝们的评论中不乏感谢的声音,“感谢董先生让我们普通老百姓也能买到珠宝”这类评论可见其粉丝忠诚度。

但也有一些收到货的“家人”们称“被割了韭菜”:直播间镜头里看起来很大的黄金吊坠实际不足一克,很闪的钻戒原来是成本极低的莫桑钻。

有业内人士称,这只是把在线下常见的“套路”搬到线上直播间,“商家一样都是抓住普通消费者不懂珠宝的漏洞”。只是,在当下这个信息逐渐透明的时代,以“送福利”、“搞秒杀”为诱饵的珠宝主播能走多远呢?

想“薅羊毛”反被割,

董先生直播间套路多?

1元的足金吊坠,9.9元的黄金手镯,99元的天然红宝石出现在直播间,你会心动吗?

5月20日,曹冲刷抖音的时候,偶然看到董先生珠宝直播间正在售卖一款“原价1699元、福利价180元”的“足金猫爪吊坠”。主播董先生称,上架时间只有十几秒,并承诺999足金,假一赔三,助播们在一旁吆喝倒数,直播间还有杨子、黄圣依明星夫妇坐阵。

“又是秒杀又是抢的氛围,让我觉得不买将错过整个世界。”曹冲称,他一上头便下了单。

可曹冲收到货后,发现跟直播间看到的“完全两个样”。

“看直播时,他(董先生)拿的猫爪吊坠有一颗‘葡萄’那么大,等到了我手里,却变成‘葡萄籽’那么小。”曹冲用黄金克数比重测评仪测过之后发现,这个猫爪吊坠大概率是空心的,克重只有0.2克左右。按照180元的秒杀价,相当于900元/克,而近期市面上的金价在300元/克到400元/克之间,他瞬间觉得自己被套路了。

当曹冲查看董先生商品橱窗的评价时才了解到,有类似感受的不止自己一人。

猫爪吊坠商品评论

受访者供图

用户“D**么”在评论里表示,“链子是925银的,镀了一层金,随赠的卡片上写的0.22克,180元合818元/克,商场也不会这么贵吧?这还是福利和秒杀,真心觉得被宰被坑了。”

“总共买了两单猫爪吊坠,一单0.22克一单0.2克,差价太大,外面金店的金价385元/克,客服打电话叫我修改评论,退我30元。”用户“嘉**妈”在评论中称,自己网购十几年了,这是第一次给差评。

开菠萝财经从用户评论里发现,董先生直播间不只一款商品被指克数与价格不匹配。

6月中旬,陈晨从董先生直播间购入了一款黄金观音吊坠,据其回忆,“董先生在直播间说观音吊坠价值4000-5000元,1388元赔本给家人们发福利”。陈晨收到货后进行称重,“吊坠只有1.8克,按7月1日369元/克的国际金价来算,原价4000元的吊坠起码要达到10克左右。”

曹冲和陈晨在董先生直播间购买的珠宝

受访者供图

陈晨告诉开菠萝财经,他是董先生直播间的常客,之前一直未敢剁手。原因是他和董先生算半个同行,自己从事珠宝镶嵌职业,知道业内金银首饰多数都以克数乘以金价的方式进行售卖,但据他观察,“董先生卖的每一件商品几乎都不会说克数”。

“观望了许久,价格不贵,直播间剁手的人也很多,我看着也不免心动,最后还是没有逃离被‘割韭菜’的命运。”陈晨无奈地表示。

直到陈晨在知乎微博等社交平台搜索#董先生珠宝被骗#,才发现不只自己被套路。他认为,董先生一直在直播间虚假宣传,利用消费者对珠宝钻石的不了解,故意抬高商品的原价来凸显优惠力度。

同样被诱导消费的网友李闻,在董先生直播间抢到了一款福利价200多元的经典六爪钻戒,到手之后才发现是“一文不值”的莫桑钻。她发布的截图显示,面对她“为什么收到的是人造钻,这算什么福利”的质问,董先生珠宝直播间的客服称,“莫桑钻也可以叫钻戒,主播已经是接近成本价的售卖。直播只说是钻戒,没说是什么钻。”

李闻在短视频平台发布的截图

珠宝行业从业者秦风告诉开菠萝财经,莫桑钻不属于钻石,它的成分是碳化硅,通常被称为“合成碳硅石戒指”,这类人造合成的莫桑钻成本很低,50分的莫桑钻看品相,从十几元到几十元不等,一般不过百元。

秦风提供的莫桑钻鉴定证书

据陈晨了解,董先生珠宝直播间的珠宝首饰上完就立马下架,目前已查看不到商品评价,甚至有许多在董先生直播间维权、要求退款的消费者,被拉黑了。“董先生设置了用户隐私,在其直播间无法联系和私聊其他消费者,我想要提醒他们不要被骗,都没有渠道。”

董先生怎么火起来的?

“之所以频繁关注董先生的直播,是因为最初入驻抖音的董先生打的是珠宝鉴定师的人设,笔挺的西装和帅气的外貌,很难让人不相信他。”陈晨表示。

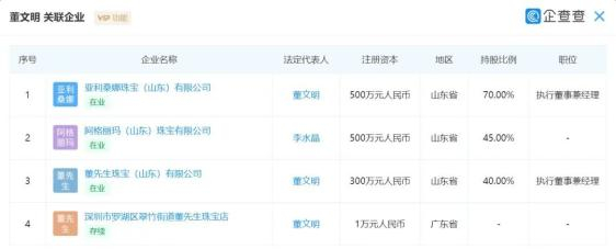
有自媒体曾称,董先生最开始从事的是珠宝鉴定仪器的销售工作,曾在淘宝和快手做过电商生意,之后入驻抖音,开始带货。据企查查显示,董先生真名为董文明,目前旗下有三家公司和一家珠宝店,分别位于山东和广东。

图源 / 企查查

董先生珠宝的抖音账号目前粉丝数超800万,其在抖音账号简介中写道“GIA钻石、NGTC钻石分级师、珠宝资产评估宝玉石专家”,其发布的短视频内容也是以珠宝鉴定和科普为主。比如,“在商场挑选钻戒时,这句话千万不能说,否则坑你没商量” “1-10克拉的钻戒分别是多大?”等视频,点赞量平均10万+。

之后,董先生在抖音发布了多条以珠宝批发商的身份去批发莫桑钻的视频,以及介绍自有珠宝源头工厂的视频。

董先生珠宝抖音简介

图源 / 抖音

查看董先生的直播评论,满是“等我存够钱了,一定找你买钻戒给我老婆”“感谢董先生让我们普遍老百姓也能买到珠宝”等支持的声音。董先生越来越火了。

实际上,3个月前,抖音GMV TOP30的榜单中还看不到董先生的名字。而在今年4月,董先生珠宝直播间一跃成为抖音带货主播榜TOP10;520直播当天,董先生珠宝第一次以近2亿的CMV成为抖音当日带货榜第一;抖音618期间,飞瓜数据统计显示,董先生珠宝以2.81亿的GMV取代了罗永浩抖音一哥的位置。

开菠萝财经发现,董先生能够短短几个月就跻身抖音头部主播行列,抛开短视频引流、付费流量推广等手段外,这份成绩离不开“福利秒杀产品”,一边增加人气,一边冲刺GMV。

以6月29日晚的直播为例,董先生直播间刚开播,就上线了一款单价8毛钱的限量耳钉,只见直播间观众数量蹭蹭上涨,短短几分钟内,在线人数直接从5000人冲到4万人。

为了让“家人们”留在直播间,董先生每隔5分钟发一次福袋,每次抽奖十个人,第一名可以获得原价5800元足金的黄金手镯,剩下九个人每人获得一台红米9A手机。而没有得奖的家人们限时三秒以99元的福利价抢上述黄金手镯。

6月29日董先生珠宝直播间

图源 / 抖音

在直播间,董先生反复强调“福利”,“你(观众)要不在我直播间拍商品,就别来我直播间,我给你们准备了这么多好福利,爱抢不抢,爱来不来。”

据开菠萝财经观察,董先生直播间当晚的直播推出了福利商品:天然红宝石+天然贝母的手链,原价499元,现价只需要99元;三生三世的足银手镯,原价1000多元,秒杀价只要399元。

直播后半段,董先生连续上架了一系列高客单价单品,其中包括明星同款子弹头的足金吊坠,原价4900元,秒杀价1999元;原价1899元、秒杀价399元经典六爪3克拉戒指,19500元的投资金条等。

董先生珠宝直播间19500元的投资金条

图源 / 飞瓜数据

飞瓜数据显示,6月29日,董先生珠宝直播间预估销售额为2432万。其中,经典六爪3克拉戒指销售额达273.8万,明星同款子弹头黄金吊坠销售额达171万,投资金条销售额达134万,这些商品撑起了董先生直播间总GMV的大头。

“先用直播间福袋留住消费者,上一些低成本的商品引得消费者哄抢,接着上一些高客单价的珠宝,一下子赚得盆满钵满。”据一位珠宝实体店主总结,这些都是珠宝直播间常见的商业手段。

他解释道,没有珠宝商会干亏钱的买卖,直播中标价几十元的黄金坠子,成本本来就很低,刨去人工费、加工费、短视频平台扣点、快递费等成本,依然能赚到钱。

以“薅羊毛”为诱饵的珠宝主播,

能走多远?

珠宝,自今年以来成长为抖音直播间的热门带货类目,引得不少主播入场。

除了董先生珠宝外,珠宝配饰主播斌哥(抖音ID:电商教父斌哥)、吴震(抖音ID:吴震八点直播)等也开始在抖音直播带货,且带货成绩不俗,多次凭借千万GMV登上抖音主播带货榜。

飞瓜数据统计显示,5月3日至5月9日,此前在快手带货的珠宝主播斌哥转战抖音的第一周,就通过10场带货直播成为抖音主播周榜TOP1。5月6日当天,他也以7104万的GMV超过罗永浩、朱梓骁等明星主播,成为抖音主播带货日榜第一名。不过近一个月,他又把直播带货的战场转移回了快手平台。

4月份刚刚入驻抖音的吴震主推银饰,直播四场,累计销售额就突破1000万。5月24日至5月30日,吴震以6075.6万的GMV成为抖音带货主播周榜TOP3。

与董先生珠宝一样,斌哥、吴震带的珠宝银饰也引来了一些消费者的投诉。在黑猫投诉上,有用户投诉称,在斌哥珠宝直播间购买了宣称是999金的镯子,但去珠宝店鉴定后,鉴定结果不是纯金。不过这位用户尚未晒出鉴定结果截图。

还有用户称,斌哥珠宝直播间送的福利存在不发货或发错货、收到退货拒不退款等问题。在知乎等社交平台,关于吴震的评价则包括银饰克数不够、商家拒不退货等。

图源 / 黑猫投诉

开菠萝财经观察斌哥、吴震的直播间发现,这两位主播的带货套路和董先生大同小异。

秦风称,之前线下的超市和商场有类似的活动,商家把低成本的饰品包装成珠宝,并贴上高客单价的价签,利用抽奖或打折的形式吸引消费者购买,这和直播间的带货套路一致。“商家利用的都是消费者在珠宝配饰方面的了解不够,以及想要薅羊毛的心态。”秦风称。

飞瓜数据显示,近30天内,董先生珠宝在抖音带货的平均客单价为185元,吴震抖音带货的平均客单价为124元。秦风表示,他们带货的客单价是饰品行业的水平,珠宝行业不可能有这样的白菜价。

有行业人士表示,目前,珠宝行业在直播电商领域还属于野蛮生长期,主播的专业性、售后服务都还未达标。正如秦风所说,目前,董先生或许是直播平台力推的珠宝行业主播之一,但专业和品质才是这一行业的立身之本,平台和市场迟早也会良币驱逐劣币。而珠宝商家和主播也应知晓这样薅羊毛式的带货走不远,消费者有很多方式检验珠宝纯度和质量,迟早会发现自己被割了韭菜。

*题图来源于Unsplash。应受访者要求,文中曹冲、陈晨、李闻、秦风为化名。

加载中...