肌肉金轮被抢注商标
财经自媒体
来源:天眼查
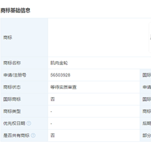
天眼查App显示,近日,“肌肉金轮”被抢注商标,申请人为上海卜单商贸有限公司,国际分类包括教育娱乐、广告销售、医药,目前商标状态为等待实质审查。
据悉,“肌肉金轮”AI换脸合成视频出自B站,视频将一位国外肌肉猛男的脸换成了知名游戏主播大司马,表情贴合,十分魔性,“肌肉金轮”也成为一个爆火梗。
来源:天眼查
天眼查App显示,近日,“肌肉金轮”被抢注商标,申请人为上海卜单商贸有限公司,国际分类包括教育娱乐、广告销售、医药,目前商标状态为等待实质审查。
据悉,“肌肉金轮”AI换脸合成视频出自B站,视频将一位国外肌肉猛男的脸换成了知名游戏主播大司马,表情贴合,十分魔性,“肌肉金轮”也成为一个爆火梗。