新浪财经 债券

中融新大违约擦边球 600亿债务考验“青岛首富”

新浪财经

关注

原标题:NB的违约擦边球!600亿债务考验“青岛首富”,股权全冻结被列限消令

作者 | 王洪臣 来源:债市观察

导读

经常成为债券圈热点的中融新大有一个响亮的别称“NB”。如今,公司一番“骚操作”惊险避开违约,又一次刷新了债券圈对它的认知。

而作为“NB”的实控人,“青岛首富”王清涛已身披限制消费令,所持股权也连遭冻结。他执掌的这家中国五百强民企巨头,又将走向何方?

3月2日,上海清算所发布公告称,当日为中融新大集团有限公司(下称“中融新大”)2018年度第一期中期票据(下称‘18中融新大MTN001’,发行金额为15亿元)的付息日,但截至3月2日终,我公司未收到中融新大支付的付息资金,无法代理发行人进行本期债券的付息工作。

根据上清所的公告,似乎中融新大已经违约,然而事情仍有争议。

01、“骚操作”巧打违约“擦边球”

就在同一天,中融新大也发布公告称,应公司要求,该债券主承销商恒丰银行于兑付日前的2月27日召开了“18中融新大MTN001”持有人会议,约定该债券2020年度利息的支付方式由上清所的场内支付变更为场外支付,该议案获得了14位债券持有人的一致同意。

也就是说,中融新大将支付方式由场内改为场外,上清所一直蒙在鼓里,直到最后兑付日才收到变更指令。

中融新大对外表示,公司此番操作是公司根据具体工作情况进行的安排,属于经营策略的问题,是同所有债券持有人协商而定的。

公开信息显示,“18中融新大MTN001”发行于2018年3月,规模15亿元,期限为5(3+2)年期,票面利率7.5%,应于3月2日付息1.125亿元。而据小债了解,目前该笔债券的原7.5%的利率已经下调至3%-4%。

对中融新大的此番操作,债券市场多有争议,对其是否违约莫衷一是。

据企业预警通显示,截止最新,中融新大境内存续债共10只,规模为120.5亿元,其中2020年回售及到期涉及规模达85.81亿元;境外存续美元债1只,剩余规模7亿美元,分别将于2020年6月与10月到期。

2019年9月,标普将中融新大的长期发行人信用评级以及该公司担保的高级无抵押美债从“B”下调至“CCC+”重大风险级。随后不久,当年11月26日,标普再次将中融新大评级从CCC+降至CCC-,列入高违约风险评级观察。按照标普的准则,CCC-已经属于“破产且恢复希望渺茫”。

除标普外,另一家国际评级巨头惠誉去年也将中融新大从B-降到CCC。而国内评级机构联合评级在去年7月份,已将中融新大的评级由AAA调整为AA+。

02、600亿负债压顶,实控人被列限消令

公开资料显示,中融新大创立于2003年,总部位于青岛,是以能源化工、金融投资、物流清洁能源、矿产资源开发为主业的国际化大型集团企业,为全国物流企业前十强,独立焦化企业产能全国名列前茅,有色金属矿产资源储量居世界前列,目前有员工1.2万。

2019年8月,中融新大以808亿元的营收位列中国民营企业500榜单第80位,连续第三年进入全国百强榜单。

在发展道路上,中融新大的资产规模保持了较快的扩张速度,从2010年时的96.89亿元,到2016年已达到1402.69亿元,翻了十几倍。

据2019年三季度财报显示,截至2019年9月底,中融新大总资产为1535.86亿元,其中流动资产为438.61亿元,货币资金为37.41亿元。而截至2018年年底,中融新大的货币资金还有61.86亿元,降幅明显。

而据联合评级7月发布的评级报告显示,截至2018年底的61.86亿元货币资金,也已较年初大幅减少43.48%。而且其中 48.72 亿元货币资金受限,占货币资金的 78.76%。

与日益紧张的货币资金相对的,是中融新大的债务情况。据2019年三季报显示,截至2019年9月底,中融新大流动负债为127.77亿元,总负债合计609.05亿元。

据小债了解,中融新大的现金流情况也不容乐观。截至2019年9月底,其经营活动产生的现金流净额为-7.28亿元。而去年同期,这一数字则为42.92亿元。

中融新大的经营状况也大抵如此。前述三季报显示,其净利润为13.42亿元,而去年同期则为21.71亿元,降幅近乎腰斩。

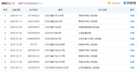
另据天眼查显示,2019年7月至2020年1月间,中融新大先后9次被法院列为被执行人,被执行标的总额超7亿元。

除此之外,中融新大大股东、董事长王清涛所持有的股权已全部遭到冻结,占公司总股份的64.83%。而因为债务纠纷,王清涛于2019年10月30日被北京市第一中院列入限制消费令。

03、债券暴跌引爆“青岛首富”危局

颇为戏剧化的是,也是在2019年10月,胡润富豪榜发布,王清涛仍以300亿身价再次位列“青岛首富”。

公开资料显示,王清涛1962年出生于山东省滨州市邹平县,改革开放之初,其曾从事煤炭经营业务,并很快掘到了人生路上的第一桶金。之后王清涛成立邹平县铁雄煤炭有限公司,成为当地小有名气的民营企业之一。

2003年6月,王清涛投资2亿元成立邹平铁雄焦化有限公司,即山东焦化集团前身。2009年,山东焦化集团在青岛正式成立,主营以煤制焦、煤化工、发电、燃气供应等。

近年来,中融新大逐步向金控集团转型。2016年3月,山东焦化集团更名为中融新大集团。而在转型的过程中,王清涛的个人财富成倍增长,连续多年占据“青岛首富”的位置。

但是,爆发于2018年7月的债券崩盘,给王清涛苦心经营多年的商业大厦敲响了警钟。

2018年7月6日,由中融新大发行,评级为AAA的“15鲁焦01”与“15鲁焦02”闪崩,全天分别下跌17.94%与30.91%。紧接着,2018年7月9日,“15鲁焦01”与“15鲁焦02”再度闪崩,盘中最多下跌35.43%与26.9%。

几天后,2018年7月11日,同样由中融新大发行的“18新大02”同样闪崩,盘中最大跌幅达72%。

这成为中融新大债务危机爆发的“第一块多米诺骨牌”。当时的危机,中融新大虽然暂时渡过,但市场对其债券违约风险的担忧却不断加剧,同时也引发了密集诉讼。此后,评级下调、股权冻结等事件频发,中融新大的处境引发债券市场持续关注。

对于“NB”,你有什么看法或评论,欢迎在下方留言。

加载中...