新浪财经

公然将NFT交易金融化 在00后中风靡的iBox链盒正在“铤而走险”

财联社APP

关注

来源:财联社|区块链日报 记者 徐赐豪 董宇佳

5月17日晚,因iBox链盒平台上数字藏品价格大幅度下跌,iBox链盒冲上微博热搜前十。

据悉,iBox链盒是一个NFT交易平台,与其他平台不同,该平台是将NFT金融化,提供撮合买卖。目前,这种新兴玩法正在00后未成年群体中风靡。

而此前中国互联网金融协会、中国银行业协会、中国证券业协会联合发布了《关于防范NFT相关金融风险的倡议》中明确要求坚决遏制NFT金融化证券化倾向,不为NFT交易提供集中交易(集中竞价、电子撮合、匿名交易、做市商等)、持续挂牌交易、标准化合约交易等服务,变相违规设立交易场所。

iBox链盒将NFT交易金融化,并向大学生群体开放交易的做法已在业内引起诸多争议。区块链日报记者通过天眼查股权穿透发现,iBox链盒的几位股东最终指向了纸贵科技的几位高管。

针对此次争议,记者取得了iBox链盒、纸贵科技方面的回应。

大涨大跌的NFT行情

“由于近期市场波动较大,我司老板经不住诱惑,将平台启动资金100W挪用,进行iBox的投资,目前持仓已缩水至10W,平台已无法继续运营,已遣散技术团队,我写完这篇公告也要撤了,我们有缘再会,告辞!”

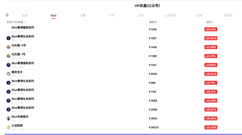
5月17晚,公众号“TT数藏”的发布上述公告,该内容迅速在网上流传。如下图所示,当天iBox链盒上的数字藏品全线暴跌,多数藏品价格被腰斩。

资深NFT玩家谢强(化名)向区块链日报记者表示,iBox链盒除了大涨大跌外,很多高价图都是“有价无市”,挂高价是为吸引韭菜进场。

据谢强介绍,iBox链盒在去年10月份曾崩过一次。当时8000张张国荣的公益数字收藏品,在市场上以999元的单价都没有人接盘,外加“二级市场经常出现无法交易的情况”,很多用户去了其他平台。

“iBox链盒沉寂三个月,换团队操盘以后,在里面的玩家多了起来。”

谢强说道,前段时间iBox链盒上宙斯的数字藏品在场外交易以166万元成交,场内成交价封顶仅为10万元,导致多人在场内囤货。

币圈玩家钟刚(化名)向记者表示,其在年前注册了iBox链盒账户,被空投三个藏品,但由于当时iBox“流动性很差”,“挂了99元都没有人买,所以也就一直没有管”。

“上周收到短信成交了,打开平台一看最高已经有2999元的成交记录。”钟刚说,不过昨日又掉到1399元,“大涨大跌太厉害了”。

5月18日晚,iBox上的NFT价格又全线大涨,基本上涨幅都超过30%。

在谢强看来,iBox链盒大涨大跌的套路并不复杂,却十分有效。

他分析称,第一步,由iBox链盒上的庄家发售藏品并大量持有;随后再通过各种方式拉高价格,比如左手倒右手,同时广泛散播高价交易舆论,吸引新人加入;紧接着,庄家继续抬高价格抛出藏品;最终,一番击鼓传花,后入者接盘,庄家完成收割。

iBox链盒方面向区块链日报记者表示,iBox链盒在APP上确实包括有两个市场。

第一个是首发市场,该人士称首发市场是由平台主导的,由平台和IP方协商价格、发行的数量等等。另外则是寄售市场,是一个C2C(用户对用户)的交易市场。“在寄售市场,平台并不会干涉用户之间的交易价格涨跌。此外用户与用户之间在APP里也没有交流通道”。

在00后群体中风靡

据蓝鲸财经报道,iBox链盒在00后未成年群体中风靡,平台的二级市场上屡现天价交易。

NFT资深玩家谢强告诉记者,他所在的iBox链盒社群有不少是在校大学生,“不过后来iBox链盒禁止学生和大妈参与”。

5月13日iBox链盒发布公告称,平台将暂停2003年1月1日后出生用户及60岁以上用户购买功能,已购买的藏品依然可以进行寄售及提现,其未来将持续调整优化用户结构。

iBox链盒官网显示,目前1000元以下的数字藏品有52张,价格最低的一张是赛博布偶,485元。另外,还存在四百多张挂单的价格在10万元。

“平台对年龄、价格上限等方面的限制是平台与第三方支付平台共同探讨决定的。”iBox链盒方面对记者表示。

“第三方支付平台在高价问题上有相关风控的措施。比如,在平台上挂售的价格上线是5万,若高于5万,则用户间不存在交易通道。”

对于网上出现有人在iBox链盒超过5万元购入或者卖出一事。上述工作人员回复称“事情绝不会在官方平台的渠道上发生。”

不过该人士指出,目前iBox链盒在支付方面已更新最新上限——即如果用户在第三方支付平台上开通余额钱包的功能。那么NFT的买卖价格上线可以挂到99999元。

值得注意的是,4月13日,中国互联网金融协会、中国银行业协会、中国证券业协会联合发布了《关于防范NFT相关金融风险的倡议》(以下简称“《倡议》”)。《倡议》中明确了禁止性规定,要求坚决遏制NFT金融化证券化倾向,从严防范非法金融活动风险,不为NFT交易提供集中交易(集中竞价、电子撮合、匿名交易、做市商等)、持续挂牌交易、标准化合约交易等服务,变相违规设立交易场所。

“iBox链盒恰恰是违反了《倡议》中的禁止性规定。”北京德恒律师事务所合伙人律师刘扬向记者表示。

在刘扬看来,iBox链盒并非个例,这也反映出目前国内数字藏品领域的乱象。“NFT概念虽然新颖,但其本质上就是利用虚拟数字藏品去募集资金,是ICO的变种。”

“我们可以看腾讯阿里等大厂的NFT,均没有开放二级交易渠道,即便是转赠也规定了极为严苛的条件,目的就是为了防范NFT投机炒作行为和非法金融活动。”刘扬说道。“根据现有的监管政策,国内很多类似于iBox链盒这样的交易平台是不被允许的,但是在监管上也存在一定的难度。”

谁在控盘?

虽然三大协会的《倡议》提出了一系列针对行业的倡议,但囿于其本身不属于法律法规和部门规章,缺乏法律强制效力。在市场造富效应的带动下,总有不合规的NFT交易平台原意铤而走险。

对此,刘扬建议相关部门应当充分发挥监管合力,对项目方、平台方等进行资金流向监控;对缺乏价值支撑的高风险NFT藏品及时预警;对将手伸到未成年人、高校学生的NFT交易平台加强打击力度,综合运用多种监管手段,堵塞镰刀出海跑路通道;对于严重违法犯罪的,应及时将线索移交司法机关。

那么iBox链盒控盘方到底是谁?

据天眼查资料显示,海南链盒科技有限公司成立于2021年5月份,法人代表李威,注册资本500万元。

海南链盒由五大法人股东和一自然人郑海鹏组成。其中法人股东中超级星链数字科技有限公司占股50%、海南链创互联网服务合伙企业(有限公司)占股20%、海南链藏互联网合伙企业(有限公司)占股14.5%、上海富穆科技有限公司占股5.5%、海南都城苍穹咨询管理合伙企业(有限合伙)占股5%。

值得一提的是,海南链盒目前已完成了三次股权变更,分别为:

2022年1月,原股东海南新软软件有限公司、深圳市捷达康网络科技有限公司、上海火原科技有限公司、海南盈东科技网络有限公司以及海南达瑞通网络科技有限公司全部退出,由超级星链数字科技有限公司100%控股。
2022年2月,超级星链数字科技有限公司的股份变更为50%,新增海南链众互联网服务合伙企业(有限公司)占股20%、海南链藏互联网合伙企业(有限公司)占股25%、上海南都城苍穹咨询管理合伙企业(有限合伙)占股5%。
2022年3月,新增上海富穆科技有限公司和郑海鹏变成现在的股权架构。

而控股海南链盒的超级星链数字科技有限公司由李威持股45%,宣松涛持股10%,陈昌持股10%,唐凌持股5%。

此外,宣松涛持有海南链众互联网服务合伙企业(有限公司)80%的股份。据天眼查股权穿透显示,宣松涛是海南链盒最终受益人持股29.7%,李威持股22.5%。

公开资料介绍,宣松涛是纸贵科技联合创始人、清华大学区块链金融研究中心发起人、陕西省区块链与安全计算重点实验室理事、西安市区块链技术应用协会副会长。

陈昌毕业于清华大学,是纸贵科技CTO&执行总裁;唐凌是纸贵科技创始人;李威担任纸贵科技控股的纸贵数字科技(云南)有限公司的董事。

对于纸贵科技和iBox链盒的关系,纸贵科技回应区块链日报记者称,两者是独立的,只是股东上存在个别的交叉。

加载中...