新浪财经

暴跌是因币安丢币后做空?让链上数据告诉你真相

新浪财经综合

关注
比特币K线图

比特币K线图

原标题:暴跌是因币安丢币后做空?让链上数据告诉你真相 来源:星球日报

作者 | 秦晓峰

编辑 | 郝方舟

据 HOLD 行情显示,北京时间今天凌晨 5 点,比特币高台跳水,从 10153 美元大度下跌至 9300 美元,1 小时跌幅达到 8.4%。截止发稿前,BTC 暂报 9575 美元,日内跌幅 5.4%。

随着市场下行,交易群内也开始流传一些‘小道消息’,引发投资者恐慌。

其中,有两条消息传播力度最广:一是币安昨天宕机,背后原因是被黑客攻击,丢了 2 万个 BTC 以及 170 万个 ETH;二是币安为了弥补损失,开了空单,这才导致今天比特币暴跌。 

在向币安求证之外,Odaily星球日报也从客观数据的角度对这两个消息做出验证。

链上数据显示,币安没有发生大规模转账

Odaily星球日报查询发现,关于币安丢币的消息,最早来自自媒体‘主角不是刺客’。该文章也在短短数小时内获得上万次浏览,但作者很快便删除了该文。

其表示该消息系朋友圈所见,未经证实。“发现未经证实是假消息,第一时间删除。” 

那么,币安究竟有没有丢币?最简单的求证,是去找链上数据。

一般黑客攻击成功后,会在最短的时间内一次性或多次将‘攻击成果’转移,这也会在区块链上留下大额转账的‘证据’。

然而,Odaily星球日报查询发现,币安过去 24 小时内并未发生资金大规模转出情况。

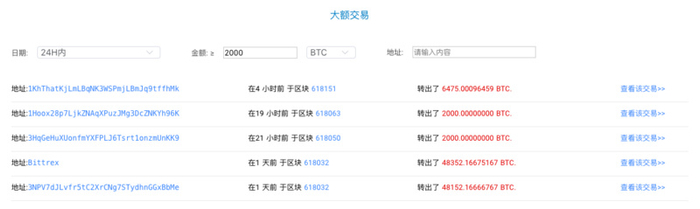
Tokenview 链上数据显示,过去 24 小时内,单次 BTC 转账金额超过 20000 的交易中,并没有币安的身影。

当我们将 BTC 转账金额数字再次缩小,变成 10000、5000、2000、1000,币安仍不在其中。 

同理,过去 24 小时中,ETH 转账金额超过 5 万的交易只有一笔,来自 Bittrex 交易所而非币安。

通过合约帝数据归集,过去 24 小时,币安交易所资金流入流出如下所示:

BTC:流入 6423,流出 9937,净流出 3513;

ETH:流入 55.12 万,流出 68.8 万,净流出 13.68 万。

无论是流出还是净流出,两组数字都与社群谣传的币安丢币数字不符合。因此,我们可以结论,币安大概率没有发生丢币事件。

对于另外一个‘谣言’,我们也进行了论证。

假设币安真的丢了 2 万个 BTC,今天凌晨 BTC 下跌 8%,这也意味着币安必须开 5 倍杠杆的空单才能弥补损失:2 万 BTC*5 倍杠杆=仓位总价值 10 亿美元,这还不包括 ETH 的空单仓位。

然而,合约帝数据显示,从 2 月 19 日到今天凌晨暴跌前,火币、OKEx 以及 BitMex 三家持仓总量并未大幅上涨:从 31.26 亿美元上涨至 31.95 亿美元,涨幅仅 2%。

此外币安自家的合约持仓量,从 2 月 19 日开始就一直在大幅下降,没有持仓上升的情况。

综上所述,关于币安开空弥补损失的说法,同样不可靠。

谣言从何而起?

实际上,本次‘谣言’赶上了一个好时机:币安系统宕机维护。

关于宕机的原因,币安曾在 2 月 17 日就发布公告解释:行情回暖,交易需求增加导致币安访问量不断加大,但吞吐性能短时间不能匹配需求,这才引发交易故障。

这样的解释,在我们看来是可信的。今年 1 月,我们在币安合约上进行交易,就曾遇到系统延迟导致挂单不能取消的问题,当时已经进行反馈。

不过目前来看,问题依然没有彻底解决。所以,一道摆在币安面前的难题是,如何尽快攻破技术壁垒。

另外,很多投资者也很好奇,既然不是币安丢币导致行情大跌,市场又为何下行?

笔者认为,本次下跌很大程度上是多空博弈,空头短期获胜的结果。OKEx 交易大数据显示,过去三个月,市场做多情绪不断急剧,并在 2 月 18 日达到高点,BTC 杠杆多空比达到 32。

然而,市场不会永远是单边行情,当多头头寸积聚较多时,空头就会想方设法进行收割。今天的暴跌,很大程度上是空头利用假消息打压多头,导致多头撤退的结果。

虽然‘币安丢币’的消息更容易分辨真假,但对于不明真相的投资者而言,却极易造成恐慌。恐慌,是空头最强的利刃,同样的手法在股市早已屡试不爽。

1973 年香港发生股灾,其导火索起源于三张假股票,但最终触动了一浪接一浪的抛售潮。恒生指数从高位 1700 多点一夜之间狂跌过千点,令不少人倾家荡产。

加载中...