新浪财经

给政治局讲解的陈纯院士:掌舵一家区块链公司

澎湃新闻

关注

原标题:给政治局讲解的陈纯院士:掌舵区块链公司,有两家上市股东

10月24日下午,中共中央政治局就区块链技术发展现状和趋势进行第十八次集体学习。中共中央总书记习近平在主持学习时强调,区块链技术的集成应用在新的技术革新和产业变革中起着重要作用。我们要把区块链作为核心技术自主创新的重要突破口,明确主攻方向,加大投入力度,着力攻克一批关键核心技术,加快推动区块链技术和产业创新发展。

浙江大学教授、中国工程院院士陈纯就这个问题作了讲解,并谈了意见和建议。

陈纯除了院士的身份,还是杭州趣链科技有限公司(下称趣链科技)的董事长,趣链科技的背后还涉及两家上市公司,分别是浙大网新科技股份有限公司(下称浙大网新,600797)和新湖中宝股份有限公司(下称新湖中宝,600208)。

陈纯旗下有家区块链公司

浙江大学官网陈纯的简历显示,浙江大学计算机科学与技术学院教授陈纯生于1955年12月,浙江象山人。陈纯于1982年1月毕业于厦门大学数学控制理论专业获学士学位,1984年6月毕业于浙江大学计算机应用专业获硕士学位,后留校任教,1990年5月毕业于浙江大学计算机应用专业获博士学位。2015年当选为中国工程院院士。

根据介绍,陈纯长期从事计算机应用领域的前沿研究工作,致力于将高水平的研究成果应用于轻工和纺织业的改造和提升,在大型智能轻纺装备的原始创新上屡获突破。

另外,陈纯还曾在上市公司任职。根据浙大网新科技股份有限公司(下称浙大网新,600797)年报,2001年,陈纯曾任浙大网新的总裁,2002年至2010年4月任公司董事长;2010年4月至2014年4月,任公司名誉董事长。2012年6月至2015年6月,任公司董事职务。

值得关注的是,陈纯还是杭州趣链科技有限公司(下称趣链科技)的董事长,浙江大学计算机和软件学院7位老师为趣链科技的联合创始人。该公司成立于2016年,专注于区块链技术产品与应用解决方案。

主要产品有区块链底层平台Hyperchain、数据共享与安全计算平台BitXMesh、区块链开放服务平台飞洛、供应链金融平台飞洛供应链、存证服务平台飞洛印,目前已完成中央网信办发起的区块链产品服务备案。

趣链科技合作伙伴包括中国工商银行、中国农业银行、中国银联、上海证券交易所、光大银行、兴业银行、浙商银行、北京银行、德邦证券等。

趣链科技的官网显示,该公司的核心团队成员均毕业于浙江大学、清华大学等国内外一流高校。260余人的团队中,90%为技术人员,7人具有博士学位,50%以上具有硕士学位。目前,趣链科技已经完成15亿元人民币的融资。

趣链科技中有A股上市公司

在杭州趣链的股东中有A股上市公司身影。

趣链科技经历了三轮融资。2016年8月31日,趣链科技获得浙江君宝通信科技有限公司、浙大网新和信雅达系统工程股份有限公司(下称信雅达,600571)共计1750万人民币融资,此为Pre-A轮融资。其中信雅达和浙大网新就是上市公司。

另外,趣链科技的官网显示,在2017年12月,趣链科技完成了A轮融资;在2018年6月,趣链科技完成了12亿元B轮融资,投后估值近30亿元。

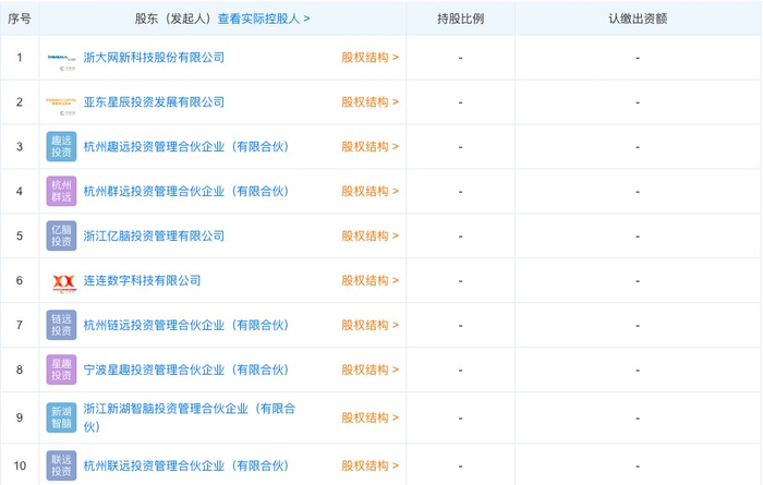
天眼查数据显示,目前趣链科技共有20名股东,包括浙大网新、亚东星辰投资发展有限公司、上海拓驿投资管理有限公司、浙江新湖智脑投资管理合伙企业(有限合伙)、国投高新(深圳)创业投资基金(有限合伙)等。

趣链科技的股东。数据来源:天眼查

其中,上海拓驿投资管理有限公司、浙江新湖智脑投资管理合伙企业(有限合伙)(下称新湖智脑)均是上市公司新湖中宝股份有限公司(下称新湖中宝,600208)的全资子公司。

2018年5月,新湖中宝通过新湖智脑与杭州趣链科技有限公司签署投资合作协议。智脑投资拟以1.09亿元受让趣链科技五位股东持有的190.9464万元出资额;此外,智脑投资还拟以11.21亿元认缴趣链科技新增注册资本1959.29万元。增资完成后,智脑投资占趣链科技注册资本的比例为49%。

另外,2019年5月信雅达公告称,拟合计以8580.2万元将持有的趣链科技5.7201%股权,即150万元出资额转让给理想国际控股集团有限公司或其指定的第三方。转让完成后,信雅达将不再持有趣链科技股权。

也就是说,目前趣链科技涉及的上市公司有两家,分别是浙大网新和新湖中宝。

浙大网新是以浙江大学综合应用学科为依托的信息技术咨询和服务集团。 提供从咨询规划到架构设计、软件开发、软硬件集成、业务流程外包、运营维护,再到云计算、大数据、新一代人工智能的全套解决方案以及承揽大型工程总包。

浙大网新2019年上半年实现营收15.2亿元,同比增长0.2%;归属于上市公司股东的净利润1.08亿元,较上年同期增长16.54%。 

新湖中宝是一家主营业务为地产、金融服务和金融科技的企业,拥有银行、证券、保险、期货、消费金融等多家金融机构的股权,也投资于区块链、大数据、人工智能、云计算等科技公司。

半年报显示,新湖中宝2019年上半年净利润为17.21亿元,同比增长18.08%;营业收入72.75亿元,同比增长30.11% 。

责任编辑:贾振飞 2031864307