新浪财经 银行

中银消费金融2020年净利降3成 1年万件诉讼不良率雪藏

中国经济网

关注

原标题:中银消费金融去年净利降3成 1年万件诉讼不良率雪藏

中国经济网北京3月31日讯 陆家嘴(600663.SH)昨晚发布的年报中披露了中银消费金融有限公司(简称“中银消费金融”)的相关业绩数据。2020年,中银消费金融实现营业收入43.10亿元,同比减少0.11%;净利润4.55亿元,同比减少30.99%。 

截至2020年末,中银消费金融的总资产为379.79亿元,总负债为295.98亿元。 

公开信息显示,2013年-2015年,中银消费金融的不良贷款率分别为1.48%、1.59%、2.51%; 2016年-2018年,不良贷款率分别为3.06%、2.82%、3.15%,不良贷款率明显上升;2019年和2020年上半年的不良贷款率并未公开。 

目前,中银消费金融也未公布2020年全年的不良贷款率。 

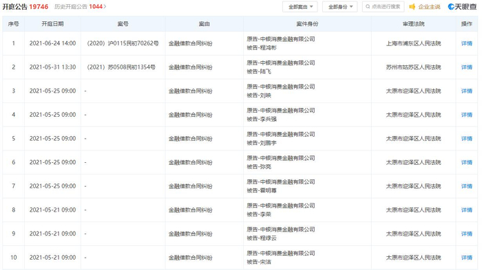
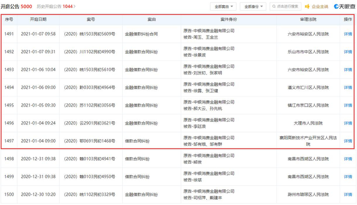
据《时代周报》统计,截至2020年年底,消费金融公司中,中银消费金融涉诉量排名第二。中银消费金融连续三年法律诉讼量维持在1万件以上。数据显示,2018-2020年,中银消费金融法律诉讼分别为11460件、19773件和15262件,法律诉讼涉及全国25个省和直辖市。 

天眼查显示,中银消费金融的开庭日期已排到6月份,案由多数为金融借款合同纠纷。开庭日期从2021年1月4日到6月24日,共有1497起开庭公告。 

2020年,中银消费金融迎来第四任董事长,年内董高监6次变动。4月,董事杜雷雷的任职资格获批;7月,董事兼总经理田红艳、副总经理李正茂的任职资格获批;8月,助理总经理刘纲获批上任;9月,新增一名监事刘闻湘,赵蓉退出监事会;11月,董事长朱强标任职资格获批。 

中银消费金融成立于2010年6月,是经中国银保监会(原银监会)批准设立的全国首批消费金融公司之一,中国银行旗下的综合经营公司,也是上海第一家消费金融公司。 

天眼查显示,大股东是中国银行,持股42.80%;第二大股东为百联集团,持股22.07%,第三大股东为上海陆家嘴金融发展有限公司,持股13.44%。 

加载中...