新浪财经 银行

致广大银行信贷从业人员:十个典型违法放贷案件总结

新浪财经

关注

来源:信贷风险管理

作者 | 刘乐荣

商业银行贷款风险产生的背后原因很多,有宏观经济的影响、授信客户经营情况变化、银行信贷投向政策的变化、银行信贷风险管控水平等,在这些因素中对商业银行影响最大的是由于银行从业人员违法发放贷款所引发的贷款风险。分析这些案件的细节,发生违法发放贷款案件的商业银行均在某些内部控制环节上存在严重的缺陷,使得少数商业银行从业人员有了可乘之机,防范违法发放贷款案件的发生关键在于商业银行从机制上着手,不断完善和优化贷款业务内部控制措施。

商业银行典型违法发放贷款案件内部控制缺陷分析

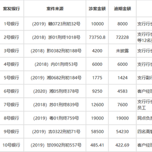
为了更好的分析违法发放贷款案件,本文从中国裁判文书网下载10份近三年来对外公开的涉及违法发放贷款案件的判决书,如下表所示(单位:万元)。

(一)为满足自身或其关系人资金需求而违法发放贷款

银行员工掌握贷款经办权限,为其办理与自身或关系人关联的授信业务提供了便利。当银行员工自身或关系人存在资金需求时,且又无法通过正常渠道获得资金,这时就会存在道德风险的隐患。如上述7号银行案件主要的原因是支行行长周某前夫企业在2014年出现资金紧张问题,且周某开始负责公司工作,为了帮助其前夫企业渡过危机,周某利用职务便利,通过向8家前夫控制企业违法发放贷款,最终贷款资金由其前夫使用;10号银行客户经理马某因网络赌博输钱而资金紧张,累计以47名客户名义违法发放小额贷款,其相应资金用于网络赌博。

(二)收受客户好处而违法发放贷款

银行员工所从事工作关系到客户是否足额、及时的获得银行贷款资金,为了达到目的,部分客户,特别是那些不符合贷款条件的客户,往往会以各种形式的好处给予银行员工。银行员工有收取客户好处的意向或收取客户好处,在办理客户贷款业务过程就很难按照银行规定操作,大多数情况下都会明知故犯,甚至为客户出谋划策,充当客户骗取银行贷款资金“帮凶”。如上述1号银行支行行长邓某因打篮球而认识郑某,两人关系较好,累计向郑某控制8家公司违法发放贷款1亿元,期间邓某以借钱的名义向郑某索取好处200万元,这8家公司均是为获得贷款而新成立的空壳公司,相关资料均为虚假,这些情况邓某都是清楚的;上述3号银行支行行长吴某收取客户价值24万元的财物,信贷员肖某收取客户现金11万元及0.8万元的财物,向苟某控制的7家公司违法发放贷款4200万元,7家公司均为新成立空壳公司,且相应抵押物存在严重缺陷,对此,吴某、肖某同样也是清楚的。

(三)为完成绩效考核、问题整改、贷款风险化解等工作任务而违法发放贷款

银行是受到国家高度监管的行业,且近年来银行的竞争越来越激烈。在这种情况下,面临上级下达的绩效考核任务、检查审计发现问题整改以及贷款风险化解的压力,部分银行员工会将银行规章制度置之不顾,违法发放贷款。如上述2号银行、8号银行涉案两个银行网点员工为了完成上级贷款考核任务,通过中介介绍客户,未能按照银行规章制度要求审核客户资料、贷前调查而违法发放贷款,最后导致2号银行一个支行12名、8号银行一个小贷中心4名均被判处违法发放贷款罪;为化解一个大额贷款客户集中度过高问题,上述9号银行高级管理层召开党委会集体决策,向121名自然人发放借名贷款58500万元,以偿还客户大额贷款,上述121名自然人贷款不具备贷款条件和贷款资料存在明显虚假,最后该行6名员工判处违法发放贷款罪,其中4名员工为高级管理层;上述5号银行客户经理余某为了化解邓某60万元的风险贷款,默认邓某不断找人由其办理贷款,2016年3月至2018年6月,累计向180人发放贷款,贷款金额1775万元,这些贷款余某都没有贷前调查,且资料虚假。

(四)因领导交办而违法发放贷款

有些银行员工并非主动违法发放贷款,而是因领导明示、暗示或强迫等要求,违反银行规章制度要求,经办相关贷款。在这种情况下,尽管是受领导安排,但未能按照岗位职责要求办理贷款手续,仍然会构成违法发放贷款罪。如4号银行客户经理张某因支行行长冯某要求,而进行先放款后调查的逆程序违规操作;7号银行两名客户经理在支行行长周某授意之下,特别是在周某提出“这几家企业她比较了解,没有什么问题,有问题她承担”,都没有尽职调查。

商业银行典型违法发放贷款案件内部控制缺陷分析

(一)员工风险合规意识淡薄

银行是以经营贷款风险为主的企业,员工风险合规意识直接决定了银行风险控制水平和结果。如2号银行、8号银行面对来自中介介绍大量批量贷款毫无风险合规意识可言,更不可思议的,甚至还直接参与相关客户资料的造假;7号银行两名客户向同一人收集多家企业贷款资料,甚至部分企业连上门都没有。可以这么说,上述10个违法放贷案件都是因为相关银行员工缺乏应有的风险合规意识,有些甚至是丧失风险合规底线。

(二)有权审批人员管理不到位

有权审批人人作为银行内部控制中的关键少数,相对普通银行员工而言,有权审批人员管理不到位,不管是有权审批人员自身有问题,还是有权审批人管理能力欠缺,其危害都更大。如2号银行通过中介发放借名贷款,就是支行行长沈某直接决定,并且通过召开支行会议要求全支行推行,足于说明沈某不具备担任支行行长的条件;7号银行支行行长周某为其前夫控制企业违规获得贷款,对下授意办理贷款,对上积极内部营销;1号银行支行行长邓某与资金中介郑某往来密切,为他人高达1200万元的大额担保,这些都说明邓某自身就存在较大问题;8号银行涉案唯一有权审批人李某留意到这批贷款中很多借款人又是别人的保证人或者收款人,借款实际用途跟借款合同不一致,当客户经理告诉他“这是同一家中介公司推荐的,可能这些借款人、保证人以及收款人都比较熟悉,所以就这样做了”,也就没有进一步深究。

(三)贷款业务内部控制严重执行不到位

任何一个违法发放贷款案件的发生都是以内部控制执行不到位有着密切关系,几乎都是各个内控环节一路绿灯,完全未作任何控制。如7号银行案件,在支行行长授意下,客户经理未按照制度开展贷前调查,在已被内部营销的部门负责人的说明下,风险经理发现了疑点仍然审查通过,贷后完全流于形式,致使贷款周转一次逾期后才事发;2号银行构成违法发放贷款罪12名员工,有支行行长、支行部门负责人、客户经理、风险经理,从人员构成来看,也足于说明2号银行贷款三查完全流于形式;4号银行支行行长冯某、客户经理张某逆程序操作,先放贷款后补做贷前调查,将原有的放款资料销毁,并将新的放款资料替换。

(四)风险监测系统不健全

上述10个典型违法发放贷款案件中,部分银行涉案贷款时间跨度较长、涉及客户较多,只要相关风险监测系统有效的话,完全是可以预警的。如8号银行涉及190个客户,很多客户贷款利息均长期由一人归还,数据特征如此明显,完全可以实现系统预警的;10号银行涉案客户经理多次使用支行行长账号权限审批贷款,使用他人账号审批贷款,数据特征也较为明显,可以通过系统预警该类操作风险。

给广大银行信贷从业人员友情提示

银行信贷工作是给个人或企业提供融资的工作,面对诱惑较多,广大银行信贷从业人员既是为银行,也是为个人职业生涯,更是为了自己美好人生,应该始终牢记“以敬畏之心对待信贷工作,坚守风险合规底线”,当银行信贷从业人员没有了敬畏之心,不能坚守风险合规底线时,那么他的银行职业生涯也差不多到头,甚至他的美好人生轨迹都会因此发生改变。

请不要心存幻想!觉得自己很聪明,自己的做法很高超、很秘密,不会被发现,觉得单位内控有漏洞,有机可趁。作为一名从事银行内部审计多年、查处过众多银行信贷员工严重违规的专业人士可以很负责的和大家透个底:银行是高度电子的行业,任何操作都会在后台留有痕迹,这些痕迹基本上不会在常见银行各类信息系统中出现,但对于我这种专业人士而言,既能够获取这些痕迹信息,更能通过分析这些痕迹发现相关银行信贷从业人员的违规操作,不管是采取现金方式,还是第三方支付方式,甚至是采用他人他行账户等等,类似这些自认为聪明的做法都在我的日常工作中查处过,另外任何一项违规只要包括自己在内的两个人以上知道,那么就不存在秘密可言。

请遵守银行规章制度。毫不夸张的说,银行每项制度规定后面都有一个血的教训,要想不走前人走过的老路,那就只有遵守银行规章制度。千万不要为了业绩、完成任务,而把银行规章制度置之脑后;千万不要为了掩盖风险,天真的认为以时间换空间,而不断违规违法操作;千万不要毫无原则的服从领导安排,领导指示完全超越规章制度;千万不要天真的认为自身的工作只是一个流程,没有决定权,而不注重自己的签字。违法发放贷款罪是把行为与岗位职责进行比对的,简单讲,当出现问题,没有尽责,就有可能违法。

请远离不良嗜好。现代大多数人有存在一定程度的焦虑,我们银行信贷从业人员日常工作压力本身就大,难免有些银行信贷从业人员无意之中涉足网络赌博、沉迷游戏等不良嗜好。笔者在日常工作中就查处过因为网络赌博、沉迷游戏的缘故,而导致资金紧张,最后铤而走险,最后违规违法放贷。对此,我们每个人始终要充满正能量,积极面对生活工作出现问题,始终坚信,只要我们努力、奋斗,定会有好的结果。

最后,我要说的是,银行信贷工作不容易,要想天长地久,风险合规最重要,且行且珍惜!!!

加载中...