新浪财经 银行

易极付超60%股权被冻结 大股东成被执行人

蓝鲸财经

关注

原标题:易极付超60%股权被冻结,大股东成被执行人,关联中鸿贷被诉收砍头息

近日,天眼查信息显示,由于大股东重庆市博恩科技(集团)有限公司(下称“博恩集团”)成被执行人,持牌支付机构重庆易极付科技有限公司(下称“易极付”)部分股权被冻结,冻结的股权数额为6321.51万元人民币,占易极付全部股权的63.21%。冻结期限从2019年10月31日至2022年10月30日。

易极付成立于2011年,注册资本1亿元,实缴1亿元,博恩集团持股99%为第一大股东,博恩集团创始人兼董事长、CEO熊新翔为易极付法定代表人。2011年12月22日易极付获得全国范围内的互联网支付的支付业务许可证,并在2016年12月22日获批续展。

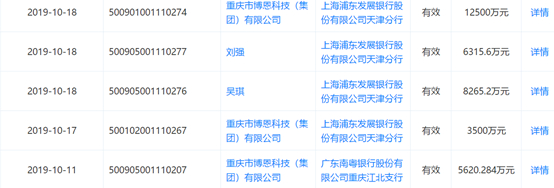
除成为被执行人外,蓝鲸财经注意到,易极付大股东博恩集团还在10月频频出质股权。天眼查信息显示,从10月11日至10月18日,博恩集团及其股东先后5次出质股权,合计出质股权数额高达3.62亿元。

博恩集团官网介绍其为中西部首屈一指的高科技投资集团,成功投资了包括奇虎360、猪八戒、BBD、东和欣、聚立信等明星企业。

在互联网金融领域,博恩集团投资的企业包括大数据服务提供商“裕嘉隆大数据”、互联网金融信息中介服务平台“易九金融”、互联网金融渠道运营商“松果金融”、小额贷款公司“中鸿贷”与支付机构“易极付”,其中,易九金融最新的发标时间停留在2017年,目前已停摆。

值得一提的是,同为博恩集团控股的易极付与中鸿贷,均被大量投诉与714高炮平台相关联。

在聚投诉平台上,关于重庆市中鸿小额贷款有限公司的投诉集中于一家名为“生鲜便利购”的贷款平台。

据诸多投诉信息,生鲜便利购为中鸿小贷旗下运营产品,今年5月该平台以收取中华联合财险高额保费的方式,变相收取砍头息,发放期限为15天的短期现金贷。此后,又通过购买小说半月卡的形式收取砍头息,以一则投诉信息为例,借款1100元15天后还款,需还1585.65元,实际年化利率高达1060%。

与生鲜便利购一同被投诉的,还有提供支付通道的易极付。蓝鲸财经梳理投诉信息,易极付提供支付通道的现金贷平台还包括蚂蚁闪电借、魔buy商城、简单极速贷等714高炮平台。

此外,据湖南省长沙市天心区人民法院刑事判决书(2019)湘0103刑初465号显示,第三方支付平台易极付与国付宝为非法组织期货交易的平台“沃赢平台”提供支付服务,在易极付的入金金额为5129.22万元,出金金额为5132.18万元。

责任编辑:贾振飞 2031864307

加载中...