新浪财经 银行

新增阿拉丁金服 又一中信系P2P接入官方信批

蓝鲸财经

关注

又一中信系P2P接入官方信批,麻袋财富月待收增加五个阿拉丁金服

互联网金融 李览青

2月18日下午,中国互联网金融协会(下简称“中互金协会”)全国互联网金融登记披露服务平台(下简称“登记披露平台”)又新增一家机构的信息详情,目前平台累计披露的机构达到121家。

18日上午互金协会还新增了金宝保的机构详情, 由重庆三峡融资担保集团股份有限公司(下称“三峡担保集团”)持股51%,重庆正大华日软件有限公司持股49%。同时,三峡担保集团的股东为国家开发银行(控股股东)及国资委。

本次新增的机构为阿拉丁金服,由前海阿拉丁互联网金融服务(深圳)股份有限公司运营,成立于2015年11月16日,实缴注册资本5000万元,其中,中信商业保理有限公司持股25%共计1250万元,担任第一大股东。天眼查信息显示,其他4个持股方均为有限合伙企业,均分其他75%的股权,其中还出现了中国联塑(02128.HK)、科通芯城(00400.HK)两家上市公司身影。中国联塑通过旗下联塑保理持股,科通芯城则是通过自然人持股的方式参与其中。

阿拉丁金服法人张守强在9家公司担任法人或股东、高管,其中,其实际控股50%的深圳市大信互联网有限公司曾多次被列入企业经营异常名录。

2016、2017、2018年均因未按规定期限公示年度报告被深圳市市场和质量监督管理委员会龙岗局列入企业经营异常名录,2019年1月23日补报并公示后,被该机关移出。2018年10月9日,该公司又因通过登记的住所或经营场所无法联系再次被列入企业经营异常名录,2019年1月24日完成变更登记后被移出。

此外,在2019年1月10日,因企业登记违法行为被作出行政处罚,罚款1万元。

登记披露平台信息显示,截至2019年1月31日,平台累计借贷金额16.46亿元,借贷余额1亿元,利息余额648.62万元,逾期金额为0,累计代偿金额1.64亿元。

从待收规模上来看,阿拉丁金服也很好地控制着并未增长。

阿拉丁金服是继麻袋财富后又一中信系P2P,不过从规模上来说只是麻袋财富的不到二十分之一。

麻袋财富是中信产业基金控股的网络借贷信息中介平台,由上海凯岸信息科技有限公司运营管理。平台注册资本1.1亿元,并于2015年与中腾信共获增资 4.2 亿元。截至2018年6月30日,麻袋财富累计交易金额突破717亿元,累计为用户赚取收益超8.7亿元。

麻袋财富的实际控制人为中信产业投资基金管理有限公司,持股比例为65.57%。

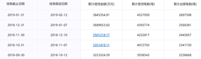
中互金协会披露信息显示,麻袋财富的最新待收规模已经高达384.54亿,并且每个月待收还在以15亿到20亿的速度增加,换句话说麻袋财富每个月都增加了一个阿拉丁金服。

加载中...