新浪财经

“特伦搭档”“银典牧场”等“假牛奶”仍在农村横行|315特别报道

界面新闻

关注

界面新闻记者 | 赵晓娟

界面新闻编辑 | 许悦

一个春节,农村的山寨牛奶又冒出来了。

界面新闻发现,不少返乡过年的年轻人发现家里放着蓝白视觉包装盒的“特伦搭档”、“特伦现代”、“伦苏牧场”等牛奶饮料,拍照发布到社交媒体上,调侃到“银典牛奶来了,典牛奶正在路上”。

而这背后更大的现实问题是,农村仍然是三无食品的重灾区。

3月初,界面新闻以采购者身份联系到特伦搭档的生产厂商夏津南海绿源食品饮料有限公司。该公司一名招商人员表示,一盒12瓶装的特伦搭档礼盒装,发货给到采购者所在的城市,最终价格为15-19元,区别主要是包装材质不同。

“这和正牌特仑苏价格差得不少呢!”该名人员称。他同时表示,特伦搭档在部分电商平台上也有销售,拼单价格差不多是26元,在线下销售的话,可以根据当地其他品牌价格灵活定价。

受到各种挤压,特仑苏这样的正牌货,在价格战的漩涡中已经处于历史低位了。一名陕西的乳制品经销商告诉界面新闻,特仑苏在今年春节后的批发价最低32元,经销商的利润非常低,一件利润甚至低到几元。“农村市场确实看到不少山寨的产品,牛奶饮料、不知名的核桃露等,渠道都很隐秘,年轻人基本不会买。”

界面新闻在保定市下辖的定兴县杨村镇、北河镇等乡村超市看到,这里的礼盒更多以一二线大品牌产品为主,如伊利、蒙牛、康师傅、南方黑芝麻糊等。货架上还有当地知名品牌,如露露、六个核桃,以及少量的二三线品牌,例如纯旺八宝粥、蒙水黄桃罐头等,明显为山寨的产品并不多。其中一名店老板告诉界面新闻,现在走亲访友的采购者普遍拥有品牌意识,不愿意购买杂牌,更别说山寨产品,从店家自身来说,如果售卖山寨,可能还面临顾客事后退货扯皮的风险。

定兴县一家乡村超市的礼盒产品。(图片拍摄:界面新闻 赵晓娟)

但线上购物平台,情况完全不同。

各种让人“似曾相识”的核桃露、含乳饮料不仅一搜一大把,而且销量不低。例如一箱12盒250毫升的“特伦慕场”中老年高钙复合乳味饮品的售价是25.8元,退货还包运费,截至采访当日已拼单1.3万件。

还有更便宜的,一款名为“伦苏牧场”的高钙牛奶正在做清仓活动,24盒一箱装的产品售价仅为23.56元,算下来每盒产品的价格是“特伦慕场”的一半不到,一盒不到1元。这款产品的购买评价中还有一条写道:“价格划算,牛奶口感醇厚,配方适合大学生和老年人补充营养……”

但仔细看配料表,真相立刻大白——它们根本不是牛奶,只是含乳饮料。

这些乳味饮品的配料相当复杂,特伦慕场的配料表依次显示:生活饮用水、白砂糖、乳粉、浓缩苹果汁、花生酱、乳酸钙、食品添加剂(柠檬酸、乳酸、甜蜜素、安赛蜜、山梨酸钾等)、食用香精。讽刺的是,包装盒上印着“严格把控 品质保证”8个大字。

上述特伦搭档的生产厂商工作人员告诉界面新闻,现在他们的产品已经销往全国,他甚至提示采购者,可以全年售卖,也可以在节假日集中售卖。当被问到是不是山寨,他表示,真正在意品牌的人不会买,图便宜的人并不在乎产品山不山寨,“我们也是正规厂家”。

尽管以上伦苏xx、特伦 xx有的并未自称纯牛奶,但包装上印着的奶牛、“擦边”特仑苏的名字,无一不在误导着中老年消费者。

天眼查APP的工商信息显示,夏津南海绿源食品饮料有限公司成立于2004年,从近年来该企业的动态看,其成功注册了“特伦搭档”、“旺子智慧星”、“山里红”等商标,并获得饮料生产许可,但在2025年一年就被行政处罚两次——2025年9月因抽检食品不合格被罚款合计5990元;2025年5月因“其他生产经营不符合法律、法规或者食品安全标准的食品、食品添加剂的行为”被德州市场监督管理局罚没款合计52248元。

罚款和牟利相比,可能高额利润诱惑更大。

实际上,不止夏津南海绿源这一家公司参与所谓山寨牛奶饮品的生产销售,四川百年有机绿色食品集团有限公司、山东妙奇生物科技有限公司、河北奥杰饮料有限公司等都是长期从事生产上述类似产品的公司主体。

山东妙奇生物科技有限公司销售的“银典牧场”与特伦搭档类似,同样也在电商平台售卖。在河北奥杰饮料有限公司的直播音账号宣传资料中,该公司生产的“极智”养生核桃、包装盒印有许晴形象的果仁杏仁露和桂圆莲子八宝粥,这些产品包装与市场上常见的正规品牌极为相似。

上述乳制品经销商告诉界面新闻,多数人仍然介意购买山寨产品,只有一些价格敏感的消费群体可能会购买山寨品,毕竟“也吃不坏人,顶多就是不健康,添加剂多了些。”其结果就是,这些打着擦边球的饮料最终被乡镇农村中信息闭塞的人群买走了。

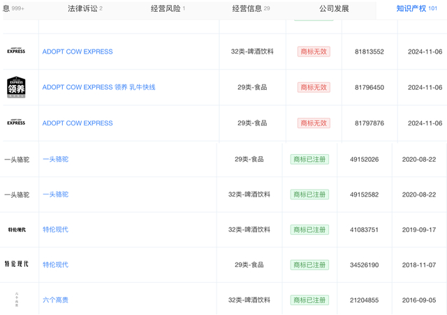
更有企业几乎在堂而皇之地山寨。一款“领养一头骆驼”的产品,明显“撞脸”“认养一头牛”,但其生产企业四川百年有机绿色食品集团有限公司直接说,“我们注册品牌了,合理合法”。天眼查APP工商资料显示,四川百年有机绿色食品集团有限公司目前注册有“认养”、“领养”、“一头骆驼”等商标,但“领养一头牛”、“领养一只羊”等商标均显示为无效商标。

在2023年,认养一头牛以侵害商标权为由起诉了四川百年有机绿色食品集团有限公司,后者当时以“领养一头牛“商标生产销售商品,认养一头牛公司最终在2025年赢得诉讼。

对于被模仿和侵权的企业,他们在维权时也有难度。认养一头牛官方告诉界面新闻,由于山寨太多、太散,加上取证分散,例如很多产品是线上+线下的形式销售,取证链条长,所需的律师费、公证费、时间成本也很高。

北京今是律师事务所主任吴萌告诉界面新闻,对于两个竞业企业,目前法律保护主要集中在四个方面,一是针对商标的保护,主要用于区别此企业产品/服务与彼企业产品/服务;二是针对著作权、专利、商业秘密等核心知识产权的保护,主要用于为企业建立护城河,确保企业核心竞争力;三是针对商誉的保护,主要为企业的良好形象提供支持;四是反不正当竞争,主要对于企业合法合规经营的秩序提供良好环境。但为了鼓励企业良性竞争,对于企业经营模式和准入行业,现行法律基本上是持开放态度。

在“领养一头牛”商标被认定侵权后,这家四川公司随后以“领养一头骆驼“的商标继续生产。吴萌对此分析,类似于“领养一头骆驼”的商业模式模仿“认养一头牛”的商业模式,只能说是模仿和借鉴,不算法律上的“侵权”。

界面新闻采访发现,另一种更为隐蔽的山寨方式则是,企业用注册的小品牌做明面上的生意,暗处则做别的买卖。

在河北晋州市段家庄的河北奥杰饮料有限公司,这里的厂房内只生产八宝粥和核桃露,而在该企业的直播账号中,还有名为“蓝牌”、“凉白水”的水产品的宣传,这两个品牌分别碰瓷了今麦郎旗下的“蓝标”和“凉白开”。而据界面新闻了解,这两款水的生产厂家非常神秘,想要采购这两个单品,必须由厂家发货给客户,避免线下交易。

吴萌向界面新闻分析,以仿冒他人品牌为自己经营手段的山寨企业,最直观的法律风险就是侵犯他人商标权利和不正当竞争。其中的法律规制包括了高额惩罚性赔偿、假冒注册商标罪等。但在这些山寨饮品生产企业中,还存在着“侵害整个市场经营法律体系的系统风险”。

具体来说,山寨企业经常处于整个市场经营法律体系的边缘或游离其外。他们会忽略品控、原材料的质量和食品安全的流程管理,忽略工厂的环保治理、消防安全,会逃避纳税,不给员工上社保或签订正式劳动合同,直面“商品质量、食品安全以及违法用工”等等各种法律风险。甚至在一段时间后,当市场已经“识破他们山寨产品的真相”,他们会将现有企业弃之不理,不去合法清理债务,清算注销企业。这样的山寨企业会让他们所在的市场秩序败坏,慢慢对当地经济和消费者的利益造成重大损害。

针对农村山寨产品屡禁不止的问题,监管部门也早已重拳出击。

去年12月,市场监管总局食品安全总监孙会川在食品安全专题新闻发布会上表示,过去一年以来,市场监管总局会同有关部门对重点地区、重点领域、重点品种、重点环节开展食品安全专项整治,持续加大农村假冒伪劣食品整治力度。针对“三无”“山寨”食品、伪劣过期食品、来源不明食品等突出问题,采取“四不两直”“穿透核查”方式强化监管,随机抽查食品生产经营主体,对明察暗访发现的违法案件实施挂牌督办。

总局本级开展的农村食品专项监督抽检1000批次,检出不合格样品36批次。各级市场监管部门检查食品生产经营主体349.12万户次,立案12.96万起,督促平台删除违规信息3233条,关停入网店铺916家,收缴假冒伪劣食品2071吨,联合公安机关捣毁制假售假窝点203个,移送公安机关1543起,抓获犯罪嫌疑人436人,农村食品市场秩序得到有力规范。

唯有监管部门持续发力,加上平台严格把关准入、消费者擦亮眼睛,才能遏制山寨厂商的野蛮生长,让“特伦搭档”们无处藏身。

加载中...