恒丰银行股权0.7元无人接盘,20年上市路为何走进死胡同?
观察者网
【文/羽扇观金工作室】
3月7日,一笔挂牌起拍价2660万元,3800万股的恒丰银行股权将在阿里资产司法拍卖平台公开竞拍。截至发稿前,497人浏览,0人报名。
截图来自阿里资产
这已不是第一次出现这样的场面。过去数月间,恒丰银行多笔股权相继遭遇流拍——有的股份每股均价跌至0.5元仍无人问津,最终由法院裁定以股抵债了事。在市场的冷漠回应背后,是投资者对这家银行治理状况的真实判断。
恒丰银行并不缺乏体量。截至2025年末,其资产总额突破1.6万亿元,在全国设有360余家分支机构,2025年前三季度归母净利润达45.36亿元,同比增长逾10%。单看这组数字,这是一家规模可观、业绩尚可的全国性股份制银行。
但数字之外,另一条线索指向截然不同的图景。2026年1月,恒丰银行旗下9家分支行在一个月内相继收到监管罚单。拉长时间轴来看,该行被罚金额从2021年的542万元攀升至2025年的逾8500万元,且处罚层级已从分支机构上移至总行,监管机关对其内控问题的判定正在持续加深。
时间再往前回溯。恒丰银行早在2006年就首次提出上市设想,此后几度制定时间表又几度搁置,先后历经两任董事长贪腐被判死缓、不良率飙升至28.44%、引入1000亿元战略投资重组等一系列剧烈波动,到2024年仍在“制定备上市纲要”阶段原地踏步。20年的上市“长跑”,换来的是至今尚未迈过发行门槛。
股价跌破0.5元仍无人出价,15亿股被冻结折射治理困局
恒丰银行此次待拍的3800万股,持有方为烟台中惟投资有限公司,因涉及5亿元借款本金及利息纠纷,这笔股权被上海金融法院冻结。评估机构在2025年9月30日给出的市场评估价为每股1元,起拍价打了七折,折合每股0.70元。按照正常逻辑,七折起拍理应对竞买人有一定吸引力,但现实是无人报名。
这并非个案。过去半年多,恒丰银行股权的司法拍卖接连遇冷。
重庆捷尔医疗设备有限公司持有的恒丰银行3197万股股份,首拍起拍价折合每股约0.63元,无人出价;降价后第二次拍卖,每股均价低至0.50元,依然没有买家入场。最终,法院裁定这批股份作价1611万元,直接抵偿给中铁信托用于冲抵债务——拍卖流程就此绕过市场,以司法裁定收场。
截图来自阿里资产
恒丰银行第十大股东上海国之杰投资发展有限公司持有的3.02亿股,经历了同样的困境。2025年10月首拍,起拍价约2.6亿元,无人出价;同年12月二拍,起拍价降至约2.08亿元,结果相同。这批股份占恒丰银行总股本的0.27%,按二拍起拍价折算,每股约0.69元,仍然无法引发市场兴趣。
流拍的股权不止于此。2025年8月,山东金海岸拍卖有限公司持有的319万股同样告拍卖失败。接二连三的流拍,最终指向一个更大的存量风险:据不完全统计,截至目前,恒丰银行至少有15.55亿股股份处于司法冻结状态,冻结背后涉及多家股东被列为被执行人,其中三家已成为失信被执行人。
体量最大的一笔来自第五大股东烟台蓝天投资控股集团。该公司持有恒丰银行约23亿股,其中约11.71亿股被山东省淄博市中级人民法院司法冻结,冻结期3年,占其所持股份的50.74%。与此同时,第九大股东上海国正投资管理有限公司已被列入失信被执行人,涉案金额3084万元。此外,瑞茂通供应链管理股份有限公司持有的5000万股,自2025年12月以来已被郑州市中级人民法院五次冻结。
恒丰银行前十大股东 截图来自企业预警通
从历史背景看,恒丰银行的股东结构本就不算干净。两任董事长姜喜运、蔡国华均因贪腐被判死缓,在中国银行业史上极为罕见。蔡国华案发时,该行不良率曾一度攀升至28.44%,后依靠中央汇金出资600亿元、总额达1000亿元的战略投资完成重组,才从技术层面完成“脱险”。但资本补血能修复账面,却改变不了外界已形成的风险印象,股权流拍的困境,某种程度上正是这段历史遗留下来的信任赤字在市价层面的直接投射。
9家分支行受罚,20年上市长跑何时到终点
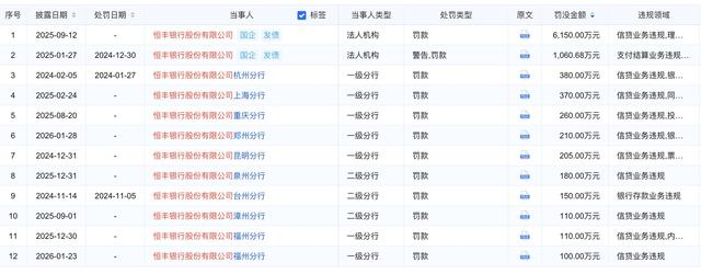
监管处罚数据,提供了观察恒丰银行内控状况的另一个维度。
从绝对金额看,该行的年度被罚款规模在过去5年间呈明显上升趋势:2021年约543万元,2022年约1804万元,2024年约2003万元,到2025年跳升至逾8500万元,5年间增长超过15倍。
更值得注意的是罚单结构的变化——2025年之前,受罚主体主要集中在分支机构层面,而2025年恒丰银行总行先后被国家金融监督管理总局开出6150万元罚单、被中国人民银行开出逾1060万元罚单,处罚层级从地方分行直接穿透至总行核心治理层面,释放的信号不容忽视。
2025年-2026年恒丰银行百万级处罚 截图来自企业预警通
6150万元的单笔罚款,是该行近5年来规模最大的一张罚单,违规事项涉及贷款、票据、理财业务管理不审慎,以及监管数据报送不合规等,同时有4名相关负责人被追责处罚。央行的罚单则指向更基础的合规缺位,涉及占压财政存款或资金、未按规定报送大额交易及可疑交易报告、违反信用信息管理规定等8项违规,4名时任员工被处以1万至9.5万元不等的罚款。
进入2026年,这一趋势并未缓解。仅1月份,恒丰银行郑州分行、西安分行、淄博分行、东营分行、福州分行等9家分支机构相继被监管处罚,合计罚款566万元,多名责任人受罚,其中两名负责人被禁止从事银行业工作。一个月内9家分支机构同时被罚,频率之密集,在同类银行中并不多见。
频繁的罚单与上市目标之间存在明显的内在张力。按照监管惯例,申请上市的银行须在合规记录、内控体系、财务数据等方面满足较高门槛,而恒丰银行当前的处罚密度与违规类型,显然构成实质性障碍。
从上市进程来看,恒丰银行走过的20年几乎是一部反复重启的历史。2006年首提上市,此后8年在调研与筹备间打转;2015年正式启动上市准备,2016年定下明确时间表——2018年底完成H股上市,2019年底完成A股上市。但蔡国华案发打断了一切,不良率急剧攀升,上市搁置。
2020年重组完成后,时任董事长陈颖喊出“5年内上市”的目标,但5年过去,到2025年仍处于“制定备上市纲要”阶段。2023年,辛树人接任董事长;2025年6月,悬空两年多的行长职位由1982年出生的白雨石接任。人事布局的落定,被外界视为推进上市的前置条件之一,但从日程表来看,上市实质性启动仍未可期。
经营数据方面,恒丰银行近两年有所改善。2024年营业收入257.75亿元,同比增长约2%;归母净利润54.54亿元,同比增长约6%,但这一利润水平仅略高于2020年,尚未回到2022年的峰值。2025年前三季度归母净利润45.36亿元,增速逾10%,短期向好,但能否持续仍有不确定性。
截图来自恒丰银行三季报
盈利数据的改善,尚不足以覆盖资本市场对该行的综合顾虑。对于上市审核而言,治理结构的稳定性、合规记录的清洁程度、股权结构的清晰程度,都是不可绕过的评估项。而恒丰银行在这三个维度上均存在短板,且短板并非新近出现,而是有着深厚的历史根源。