新浪财经

追觅科技俞浩22.8亿收购嘉美包装 “借壳”前奏还是融资平台?

新浪证券

关注

出品:新浪财经上市公司研究院

作者:木予

近三年股价低迷不振的嘉美包装,因一纸要约收购公告收获了五个一字涨停。

公告显示,嘉美包装的控股股东中国食品包装有限公司(简称:中包香港)已于12月16日与苏州逐越鸿智科技发展合伙企业(有限合伙)(简称:逐越鸿智)签署《股份转让协议》。逐越鸿智将以每股4.45元的价格,受让中包香港所持有的约2.79亿股股份,约占公司总股本29.9%,总对价为12.43亿元。中包香港承诺,标的股份转让完成后,将放弃行使所持全部股份的表决权。

与此同时,逐越鸿智将向嘉美包装全体股东(除自身或指定关联方外)发出部分要约收购,以同样4.45元/股价格计划收购2.33亿股股份,约占公司总股本25.0%,总对价为10.39亿元。原主要股东中包香港、富新投资和中凯投资分别持股1.03亿股、8899.19万股、2327.91万股,已承诺预受要约。这意味着,逐越鸿智已经锁定约92.4%的目标收购股份。

若交易顺利完成,逐越鸿智将最高斥资22.82亿元,获得不超过54.9%的股权,成为嘉美包装的控股股东。而据天眼查公开信息披露,逐越鸿智的最终受益人正是追觅科技的创始人俞浩,他将正式入主嘉美包装,成为公司的实际控制人。

一家金属易拉罐公司被科技新贵选中,显然打开了资本市场的想象空间。公告发布后,嘉美包装连续五个交易日开盘即涨停,区间股价累计涨幅达46.5%。截至发稿日,公司每股报7.35元,较收购价高65.2%。

没用追觅资金? 生态链企业、百亿产业基金、全资子公司合计出资78.1%

据公告显示,本次要约收购资金全部来源于收购人的自有资金或自筹资金,部分资金拟通过向银行申请并购贷款取得,目前正在与银行洽谈申请并购贷款的相关事宜。收购人暂无将本次收购所得上市公司股份向银行或其他金融机构进行质押融资的计划。

宣布收购次日,追觅科技也公开回应称,此次收购资金将来源于俞浩及其所控制企业的自有及自筹资金,并无来自追觅科技公司的资金,不会影响追觅科技的正常运营。不过,结合公开披露的信息分析,真实情况或并非如此。

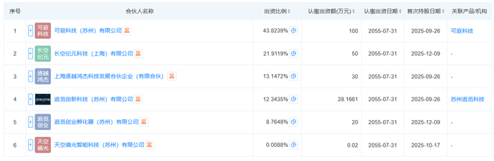
天眼查显示,收购主体逐越鸿智目前共有6个合伙人。其中,追觅旗下生态链企业可庭科技(苏州)有限公司(简称:可庭科技)出资比例最高,约为43.8%。据了解,可庭科技是追觅孵化的高端智能庭院品牌,由俞浩间接100%持股,产品线涵盖割草机器人、花园电动工具以及其他智能设备,现已进入欧洲、北美等多个区域国际市场。

此外,追觅科技于2023年成立的企业风险投资(CVC)机构天空工场资本(原追创创投),通过出资平台上海逐越鸿杰科技发展合伙企业(有限合伙)(简称:逐越鸿杰),持有收购主体逐越鸿智约13.2%的股权。2025年4月,天空工场资本宣布完成产业基金的首期募资,总规模达到100亿元,机构投资方LP除了追觅科技,还包括地方政府、国有企业、市场化家办等。

可庭科技与天空工场资本虽然与追觅科技在股权上没有直接关系,但前者是追觅的关联企业,主要产品割草机器人搭载追觅的核心技术,供应链、品牌甚至业绩一定程度上仍依赖追觅;后者的百亿资金池中,追觅科技的自有资金占比不低。以规模高达30亿元的基金绍兴市追觅生态股权投资合伙企业(有限合伙)为例,追觅直接或间接认缴出资额合计约为16.20亿元,约占54.0%。

即便不考虑上述两个关联出资方,追觅对此次收购的资金支持力度也不容忽视。天眼查披露,由追觅科技100%持股的追觅创新科技(苏州)有限公司和追觅创业孵化器(苏州)有限公司,对收购主体逐越鸿智的出资比例分别为12.3%、8.8%,合计21.1%。若没能申请到并购贷款,按照最高交易总对价22.82亿元粗略计算,追觅科技至少需要为该笔交易掏出4.82 亿元。

剑指借壳上市? 年内第三起科技企业收购A股上市公司案例

值得关注的是,科技企业(或其创始人)通过协议转让和要约收购“两步走”模式,收购A股上市公司,年内已有三起案例。

除了追觅科技创始人俞浩拟收购嘉美包装,2025年7月,智元机器人及相关主体宣布将协议收购上纬新材约29.99%股份,要约收购公司约37.0%股份,交易总对价约21.02亿元。12月,七腾机器人及其一致行动人计划协议收购胜通能源29.99%股份,要约收购公司15.0%的股份,交易总对价约16.68亿元。

三起收购案有不少相似之处。其一,都是未上市的科技企业收购传统产业上市公司,主营业务协同性较低。其二,协议转让比例都精准控制在30%的要约触发线以下,避免强制全面要约收购义务。其三,被发起收购前,上市公司的市值都在30-40亿级别,业绩表现不佳,但在细分领域龙头地位稳固。伴随市场对科技公司“借壳上市”推测不断,股价一路攀升,上纬新材最新市值较公告前已经翻了近14倍,胜通能源接连七个交易日涨停。

不同之处在于,追觅科技在商业化方面,较智元机器人和七腾机器人更为成熟。据IDC数据统计,2025年前三季度,追觅的智能扫地机器人出货量在全球范围内占比12.4%,市场份额排名第三。沙利文近期研究报告则指出,追觅的洗地机在瑞士、瑞典等欧洲市场的市占率已超50%,吹风机全球累计销量突破1000万台。在9月的2025全场景新品发布会上,公司公布其营收连续六年增速逾100%,2025年上半年收入已经超过2024年全年。而公开报道显示,2024年追觅科技总营收高达150亿元,海外营收达80亿元。

俞浩曾在社交平台表示,追觅科技的现金流状况良好,最近两年公司和其个人还拿出约50亿元,高价回购老股。天眼查股权变更记录显示,碧桂园创投、泰康投资、顺为资本、达晨创投等一众VC/PE机构已陆续退出股东列表,俞浩的个人持股比例提升至62.3%。基于此分析,追觅科技为使VC/PE机构“曲线退出”,“买壳上市”的需求或并不迫切。

然而,能赚钱也不代表追觅不缺钱。

在智能清洁家居、个护小家电等赛道“守擂”之余,追觅科技2025年开始高调拓展多条新业务线:5月成立深圳机器人研究院,人形与非人形机器人分别由孵化项目魔法原子及内部团队推进;8月宣布造车,官宣对标超跑与豪华车型的追觅汽车与星空汽车,并于短期内完成首轮融资,工厂拟建在特斯拉德国基地附近;9月设立天文BU,研发智能天文光学系统,携手商业航天公司开发对地观测载荷;同期发布首款旗舰手机Dreame Space,获海外市场亿元级别订单;12月推出售价2999元的AI智能戒指。据不完全统计,公司业务延伸至潮玩、餐饮、酒旅甚至私人飞机等领域。

多线并进的另一面,是“烧钱不止”。以造车为例,新势力“蔚小理”上市前分别累计融资153亿元、188亿元、146亿元,小米汽车首期投资便高达100亿元。具身智能也相当“昂贵”,银河通用机器人最新一轮融资达3亿美元,而面向C端的产品落地仍未成型。追觅科技最后一轮公开披露的融资止步于2023年,单靠卖洗地机和吹风机,显然很难支撑起如此庞大的资金需求量。

尽管嘉美包装原实控人陈民对2026-2030年作出了业绩承诺,但上市公司仅保证了未来12个月内不改变主营业务或对主营业务进行重大调整的计划。俞浩2025年9月在社交平台宣布,预计2026年底追觅生态旗下多个业务将在全球各交易所“下饺子”般批量IPO,目标时间线刚好距离本次收购12个月。

由此可见,此次收购或令追觅科技处于一个进可攻退可守的位置。公司既可以在业务稳定过渡后,向嘉美包装注入旗下资产,为未来登陆资本市场预留空间;也可以在保证控制权后,通过上市公司定向增发、贷款、发债等方式融资,为其他产品线“输血”。

加载中...