新浪财经

“宁王”背后的物流大佬二次IPO,与4大客户、3大供应商打官司!

市场资讯 2025.11.16 20:52

来源:野马财经

账期风险“击鼓传花”,中鼎智能IPO谁来买单?

在中国商业风云变幻的舞台上,家族企业的传奇总在不断上演,有人登顶,也有人谢幕。在这其中,一对丁氏父子正悄然构筑着他们的“诺力系”商业帝国:73岁的父亲丁毅,稳坐A股上市公司诺力股份(603611.SH);43岁的儿子丁晟,则执掌着奔赴港股的家族新旗舰中鼎智能。一老一少,一A一H,勾勒出这个资本系族跨越代际的传承与野心。

11月10日,拆分自A股上市公司诺力股份的中鼎智能(无锡)科技股份有限公司(以下简称“中鼎智能”),向港交所二次递交了上市申请。据诺力股份披露,新能源行业中,中鼎智能的主要客户包括宁德时代(300750.SZ、3750.HK)、比亚迪(002594.SZ、1211.HK)、亿纬锂能(300014.SZ)、蜂巢能源、LG化学(051913.KS)、孚能科技(688567.SH)等。

然而,就在冲刺IPO的关键时刻,一场来自昔日合作伙伴的诉讼风暴却不期而至。

《招股书》显示,中鼎智能共卷入5起与供应商之间的相关诉讼。涉及金额分别为380万元、1400万元、1440万元、290万元和580万元。

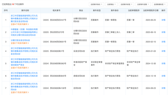
虽然中鼎智能并未直接指出起诉的供应商是谁,但天眼查数据显示,中鼎智能与浙江中匠智能装备有限公司(以下简称“中匠智能”)、浙江中轴物流设备有限公司、无锡理奇智能装备股份有限公司、升辉新材料股份有限公司等公司,均存在分期付款买卖合同纠纷。其中中匠智能、中轴物流均为同一实控人。

其中中匠智能与中鼎智能之间的案件最多,天眼查显示共有16起,其次中轴物流有3起。野马财经尝试联系中匠智能,询问《招股书》中涉及380万元、1400万元、1440万元、290万元和580万元的案件,是否有与中匠智能相关的案件。中匠智能方面则不予置评。

《招股书》显示,2025年9月,上述诉讼的终审判决下达,责令中鼎智能支付约人民币3330万元的货物交付款项。

宁德时代、比亚迪为客户,

年入18亿二冲IPO

中鼎智能的核心产品为智能场内物流解决方案,系统通过集成智能场内物流管理软件与堆垛机、穿梭车、输送线及机器人等设备,在广大的工厂及生产线内实现了货品的自动流转与存储。

据《招股书》显示,中鼎智能自2013年起为新能源行业的客户提供综合解决方案。新能源客户包括部分中国最大的电动汽车电池制造商。2022年-2024年,来自新能源客户的收入分别为12.6亿元、13.07亿元和13.48亿元,占同年总收入的76.8%、77.1%和75%。于2025年上半年,该占比更是跃升至94.5%。

据中鼎智能母公司诺力股份披露,新能源行业中,中鼎智能的主要客户包括宁德时代、比亚迪、亿纬锂能、蜂巢能源、LG化学、孚能科技等。

图源:罐头图库

据灼识咨询数据,2024年公司在中国新能源锂离子电池领域智能场内物流解决方案市场排名第一,在工业领域同类市场排名第二,整体智能场内物流解决方案市场排名第四,市场份额达1.7%。

拥有诸多大客户的中鼎智能,2022-2024年分别实现年收入16.4亿元、16.9亿元、18.0亿元;同期净利润分别为0.71亿元、0.78亿元0.89亿元。

不过,2025年上半年,中鼎智能实现收入为7.46亿元,同比下降23.12%,主要因客户项目验收节奏阶段性放缓。但净利润同比增长26.5%,达6628.7万元。

头顶“行业第一”的光环,中鼎智能也开启了IPO之路。于2025年5月9日首次向港交所递交《招股书》,于11月9日失效。11月10日二次向港交所递交《招股书》。

与多家供应商对簿公堂,

被判支付3330万货款

然而,就在IPO的路上,中鼎智能先和供应商打起了诉讼战。

要想说清中鼎智能和供应商之间的纠纷,就要先讲新能源行业的“背靠背条款”。

所谓“背靠背条款”简单来说,就是合同中约定,总包方或中间方在收到其客户(最终用户)的款项后,才有义务向其供应商或分包商支付货款。这是一种将上游付款风险转移给下游企业的条款。

在中鼎智能和供应商之间也不例外,双方的合同付款方式多为“背靠背条款”。

图源:罐头图库

天眼查显示,与中鼎智能发生分期付款合同纠纷的供应商有浙江中匠智能装备有限公司、无锡理奇智能装备股份有限公司、升辉新材料股份有限公司。

其中中匠智能与中鼎智能之间的案件最多,天眼查显示共有16起,案由包括分期付款买卖合同纠纷、买卖合同纠纷、申请诉前财产保全等。多起案件中,中匠智能以原告身份共向中鼎智能发起了四项分期付款买卖合同纠纷。

《招股书》中,中鼎智能表示,截至2025年9月,法院已就上述输送系统供应商向我们提出的四项索赔作出终审判决,并责令我们支付约人民币3330万元的货物交付款项。

官网显示,中匠智能是一家以技术研发驱动的全产业链工业智能物流解决方案供应商,成立于2006年,目前有浙江中轴物流设备有限公司(下称“中轴物流”)和浙江中匠智能装备有限公司两大生产基地。

图源:天眼查

《招股书》中,中鼎智能将诉讼产生的原因聚焦于背靠背条款。“就大型项目采购而言,我们通常与供应商签订背对背付款条款,该条款规定我们在收到客户就我们集成采购货物的解决方案支付的款项后,我们将按比例向供应商付款。如果客户延迟向我们付款,我们将相应延迟向供应商付款。背对背付款条款使我们对供应商的付款责任与我们来自客户的收据相符。根据灼识谘询的资料,背对背付款条款属常见且符合行业惯例。”

针对以上诉讼,中鼎智能表示,“于往绩记录期间,我们若干载有背对背付款的采购合同已成为诉讼标的,且在某些情况下,尽管有该等条款,法院已裁定我们的付款责任属到期。”

图源:《招股书》

国际注册创新管理师、鹿客岛科技创始人兼CEO卢克林指出,“锂电扩产潮把‘验收—量产—爬坡’周期拉成一条钝刀:设备商先垫资造线,电池厂要等政府补贴、车型公告、碳酸锂价格回稳才肯验收,节奏错配就把现金流压力层层下移。中鼎既是甲方也是乙方,夹在‘电池厂拖我、我拖零部件’同一根链条上,索赔三千多万只是账期膨胀后的水面浮标,根子是行业资本开支远快于现金回流速度。”

中鼎智能反诉供应商,

索赔3760万元

在卢克林所描述的行业困境背景下,中鼎智能选择继续推进法律程序。一审判决后,中鼎智能不服上述判决提起上诉。

除了推进二审,中鼎智能还发起反诉,《招股书》显示,中鼎智能在无锡市惠山区人民法院就四份供应合同,对同一供应商提起四宗独立诉讼,要求供应商履行具体供应协议下的义务(完成设备调试、整改并通过验收),同时支付逾期违约金1580万元、690万、900万元、590万元,涉及金额总计超3760万元。

图源:《招股书》

“从法律博弈角度分析,这很可能是一种精心设计的‘反向施压’或‘诉讼狙击’策略。其真实目的或许是多方面的。在二审判决前获取谈判筹码是较为可能的目的之一。通过冻结对方账户,给中匠带来资金压力,迫使中匠在二审中做出让步,以更有利于中鼎智能的条件达成和解,从而影响二审判决结果。另外,也不排除意图拖垮供应商以寻求低价和解的可能。中鼎智能可能希望通过法律手段和账户冻结,使中匠的经营受到严重影响,资金链断裂,进而在后续谈判中迫使中匠接受较低的和解价格,减少自身需要支付的货款,降低经济损失。”新智派新质生产力会客厅联合创始发起人袁帅表示。

天眼查显示,中匠智能成立多年,已具备一定经营规模,员工约百余人。由于早该收到的货款因为诉讼过了两年才到账,对中匠智能的影响也开始显现。

图源:天眼查

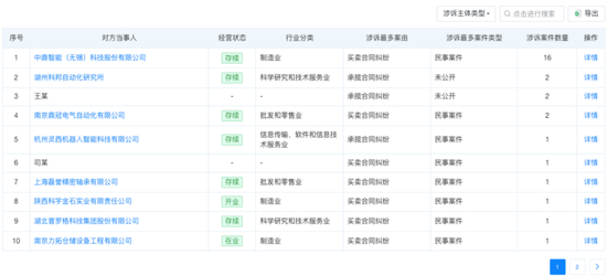
据天眼查显示,中匠智能存在28起司法案件,其中16起与中鼎智能相关,其他案件的原告或被告还包括湖州科邦自动化研究所、王某、南京鼎冠电气自动化有限公司、杭州灵西机器人智能科技有限公司等多家公司和个人。

此外,仅在2025年,中匠智能就有16起开庭公告,案由包括买卖合同纠纷、分期付款买卖合同纠纷、承揽合同纠纷。

图源:天眼查

“这不是‘客户强势’四个字就能概括的,而是自动化装备行业典型的‘锚定-锁定’陷阱:中鼎卖给比亚迪、宁德的产线一旦嵌入,供应商就被迫跟着做技改、加模块,账期越滚越长。设备非标、切换成本高,中匠明知旧账没回也只能继续接单,否则产线闲置就是净亏。简单说,是整条链用新订单‘续命’旧债务,风险外溢到Tier1供应商(车产业链中的一级供应商,直接向整车厂提供完整产品或服务‌),属于系统性资本结构畸形,不是谁家风控不到位。”卢克林表示。

不过,最终中匠智能起诉中鼎智能的案件二审结果未有变化,2025年9月,二审法院做出判决,判决结果为维持原判。《招股书》中也提及,以上款项已悉数结清。

图源:《招股书》

对于二审的判决结果,中鼎智能在《招股书》中用了大篇幅内容做出解释,中鼎智能认为,二审法院就两项关键争议点作出裁定:其一,案涉供应设备已完成交付、验收并投入使用,剩余检验或质量瑕疵不足以构成暂停付款的事由;其二,系背对背付款条款因未明确付款时限且缺乏真实协议支撑,故认定付款条件已成就,我方被判令结清全部未偿款项。

“尽管中国法院既往裁判认可背对背付款条款的有效性,且本案所涉条款并不属于《民法典》规定的虚假意思表示、违反强制性法规、违背公序良俗或恶意串通损害他人权益等无效情形,但法院认为,供应商在达成合同里程碑后,不得借由该条款无期限推迟或免除我方付款义务。”中鼎智能表示。

目前,中鼎智能已对采购合同中的背对背付款条款进行完善,增订了详尽的付款时间与条件并应用于近期交易;截至2025年6月30日,相关贸易应付款项已全额纳入合并财务报表,中鼎智能董事经评估认为会计处理充分,且根据中国法律顾问意见,该诉讼预计不会对公司业务、财务状况及经营业绩造成重大不利影响。

中鼎事件的残酷性在于:当主机厂通过拖欠货款将供应商变成“免费银行”,技术创新的血液(现金流)就会被抽干,最终演变为“高端产业低端化”——哪怕是最前沿的锂电池产线,其设备商却因现金流断裂无法升级技术。中国企业资本联盟副理事长柏文喜表示。

中鼎智能也有类似困境

一边是法院判令其向供应商支付货款,背靠背条款未获支持;而另一边中鼎智能上游客户的部分应付款项却迟迟拖欠,回款无望,形成“下游必付、上游难收” 的被动局面。

中鼎智能分别于2022年-2024年、2025年上半年录得项目延迟12个、7个、14个以及4个。“项目延迟可能导致我们产生进一步的项目交付成本或合约罚款成本,而造成相关亏损。”中鼎智能表示。

此外,《招股书》显示,中鼎智能因合同纠纷分别向四名客户提起了索赔,其中三名客户均提出了金额更高的反诉。

一是向首位客户索赔约1250万元未付款项及逾期损失,对方反诉要求退还2930万元预付款及840万元违约金;

向第二位客户索赔约1150万元未付款项及逾期损失,对方反诉要求退还10万元合同款、并支付1150万元违约金及逾期利息,法院冻结中鼎智能1150万元存款;

向第三位客户索赔约660万元验收款,对方反诉要求完成竣工验收交付并支付2140万元违约金,法院先后冻结客户700万元、中鼎智能2140万元资产;

向第四位客户索赔约1460万元欠款及120万元滞纳金,以上案件均暂未判决。

《招股书》显示,2022年-2024年、2025年上半年,中鼎智能的应收款项为3.53亿元、3.36亿元、3.42亿元和3.54亿元,平均贸易应收款项周转天数迅速缩短,从186天降到了93天。

图源:《招股书》

与之相比,贸易应付款项及应付票据则金额较大,2022年-2024年、2025年上半年分别为14.35亿元、12.35亿元、8.25亿元和9.17亿元。平均贸易应付款项及应付票据周转天数则从315天降到227天。

图源:《招股书》

“许多企业在冲刺上市前,为了做靓业绩,会采取激进的业务扩张策略,导致潜在矛盾在IPO敏感时期集中爆发。‘中鼎-中匠’纠纷在很大程度上是这种‘IPO前综合征’的典型体现。”新智派新质生产力会客厅联合创始发起人袁帅表示。

“中鼎智能在筹备港股上市期间,可能为了提升业绩数据,吸引投资者,采取了激进的业务扩张策略,大量承接新订单。同时,为了缓解资金压力,导致对供应商的欠款不断增加。而中匠在长期收不回货款的情况下,不得不通过法律途径维护自身权益,使得纠纷在IPO这一敏感时期集中爆发。这种行为不仅反映出中鼎智能在上市筹备过程中可能存在急功近利的心态,也暴露出其在业务管理和风险控制方面的不足,给其港股上市之路带来了诸多不确定性。”袁帅进一步分析。

中鼎智能的资本盛宴,谁来买单?

中鼎智能冲刺IPO背后,“丁氏父子”的“诺力系”正悄然构筑起一个资本帝国。

《招股书》显示,IPO前,诺力股份持有中鼎智能99.6%的股份。股权穿透显示,丁毅持股诺力股份28.17%。而中鼎智能的掌舵者丁晟,则为丁毅之子。诺力股份合计约35.54%的股权由中鼎智能的执行董事兼董事长丁晟(持有5.05%)及丁晟的父亲丁毅(持有约28.17%)和丁毅的配偶毛英女士(持有2.32%)持有,他们共同构成一致行动人士。

丁毅今年已73岁,这位诺力股份的创始人拥有丰富的行业经验。他高中毕业,历任长兴诺力机械厂供销科长、厂长,最终将企业在2015年带至上交所上市。

图源:罐头图库

丁晟作为家族第二代,今年43岁,已逐步接过家族企业的权杖。他不仅担任诺力股份的副董事长兼副总经理,更是中鼎智能的执行董事兼董事长,实际负责这家拟上市公司的运营管理。

在丁晟手中,中鼎智能获得了快速发展。

作为技术密集型企业,中鼎智能始终保持研发投入。2022至2024年,研发开支分别为6894.4 万元、7130万元、6584万元,占营收比例为3.66%至4.21%之间。

截至2024年底,公司拥有171名研发人员,占总员工数的20.7%,累计获得217项注册专利、54项软件著作权。未来还计划向具身智能方面拓展。

东北证券预测,“公司作为国内叉车行业的优秀企业,通过向无人叉车和具身机器人等细分赛道延展,未来有望开拓更多的下游领域,打开增长天花板。我们预计公司2025-2027年实现归母净利润5.23/5.98/7.14亿元,对应PE为11/9/8倍。给予2025年盈利15倍PE估值,目标价为30.5元。”

图源:罐头图库

随着中鼎智能登陆港股,丁氏家族也将实现“A+H”双资本平台布局,不仅拓宽了融资渠道,更使家族财富与影响力跨上新的台阶。

然而,在这场资本盛宴背后,还有许多中匠智能这样的供应商正在“呼救”。

中国企业资本联盟副理事长柏文喜表示,更危险的是,这种“拖欠型竞争力”正在向光伏、半导体等行业扩散。唯一的出路是:用法律刚性(如强制支付令)+资本约束(如ESG评级挂钩账期)+技术绑架(如核心零部件专利互换),将供应链从“债务奴隶制”改造成“技术共生体”。

这些诉讼背后,是汽车行业的“长账期”游戏已经从整车厂传导至一级供应商,再至中鼎智能这样的二级供应商,最终蔓延至中匠智能等三级供应商甚至更多。

整个产业链条下,几乎没有真正的赢家:中鼎智能这样的企业被应收款项拖累,而小型供应商们则在诉讼与欠款的漩涡中艰难生存。

你对新能源产业链中的纠纷有何看法?

加载中...