新浪财经

网红蓝战非社交账号被禁止关注,曾自曝年收入引热议

扬眼

关注

转自:扬子晚报

近日,千万粉丝博主“蓝战非”在直播中透露收入潜力及资产状况引发争议。9月25日下午,扬子晚报/紫牛新闻记者查询其社交账号发现,蓝战非抖音、小红书账号被禁止关注。

社交账号被禁止关注

此前,蓝战非近日在直播中透露收入潜力及资产状况引发网友热议,他自称若全力投入商业化运作,年收入可达九位数。话题“蓝战非自曝收入”“蓝战非回应收入争议”等也随之登上微博热搜。

微博热搜

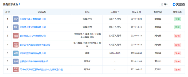
据此前报道,根据天眼查任职信息显示,蓝战非名下关联7家企业,仅2家为存续状态,分别是长沙辰光电子商务有限公司、长沙蓝北文化传媒有限公司,其余5家企业已注销,其中天津市滨海新区云账户蓝战非文化传媒工作室、长沙仓鼠文化传媒有限公司、长沙战蓝网络科技有限公司于近期注销。

蓝战非名下关联企业

蓝战非抖音主页显示MCN为白昼互娱,关联公司为长沙市云瑶文化传媒有限公司。根据天眼查显示,该公司成立于2022年10月,法定代表人为徐亮,注册资本100万人民币,由湖南纵娱文化传媒有限公司全资持股。年报信息显示,该公司2022年、2023年、2024年参保人数均为0。此外,该公司在今年7月长沙市天心区市场监督管理局组织的广告行为检查中,检查结果为通过登记的住所(经营场所)无法联系。

据悉,蓝战非,1992年出生,曾为熊猫直播、斗鱼直播平台游戏主播。现为游戏主播、旅游博主。曾是ACE战队队长,英雄联盟S1-S3国服王者,擅长中单。

扬子晚报/紫牛新闻记者 徐悦

校对 盛媛媛

加载中...